lemon-mirror:
Home >> Toyota >> 2006 >> Land Cruiser >> Repair and Diagnosis >> Engine Performance >> System >> Engine Control System - System And Component Testing >> IG1 Relay >> On-Vehicle Inspection

On-Vehicle Inspection

HINT:

The IG1 NO. 1 relay is built in the engine room junction block. Since the relay is constructed with a relay block that is in the junction block as a unit, it is impossible to disconnecting the wire harness connecting with the relay block.

If the relay has a malfunction, replace it with the junction block assembly wire harness together.

  1. CHECK ENGINE ROOM JUNCTION BLOCK (IG1 NO. 1) 
    1. Disconnect the engine room relay block from the vehicle body.
      Fig 1: Disconnecting Engine Room Relay Block From Vehicle Body
      G04435550Courtesy of © TOYOTA, LICENSE AGREEMENT TMS1002
    2. Check the continuity of the relay.

      OK: GO TO NEXT STEP 

      TESTER CONNECTION SPECIFIED CONDITION

      Always Tester Connection Specified Condition
      Constant 1B-50 - 1B-40 Continuity
      Apply B+ between terminals 1B-50 - 1B-40 1C-2 - 1B-47 Continuity

      If the continuity is not as specified, replace the engine room junction block.

    3. Install the engine room relay block to the vehicle body.
    Fig 2: Checking Engine Room Junction Block (IG1 No. 1)
    G04435551Courtesy of © TOYOTA, LICENSE AGREEMENT TMS1002
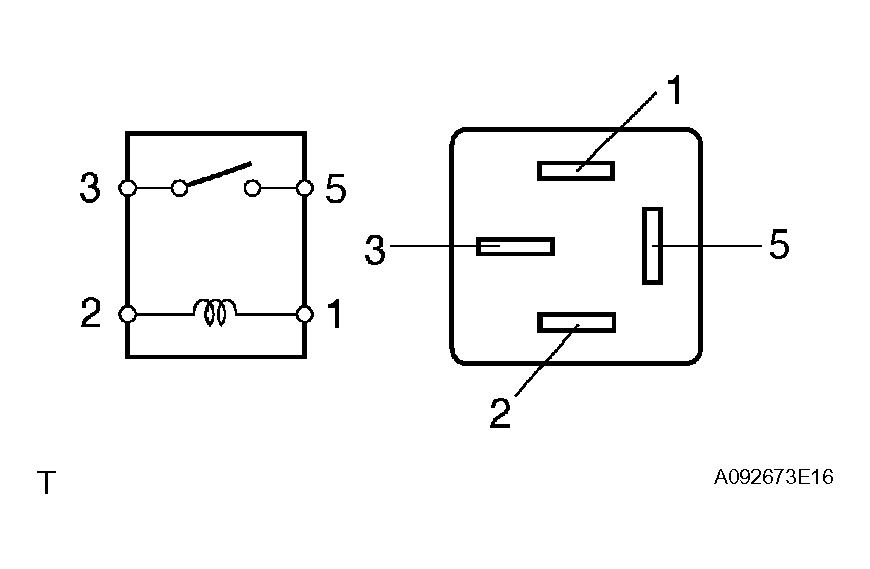
  2. CHECK IG1 NO. 2 RELAY (Marking: IG1 NO. 2) 
    1. Remove the relay from the cowl side junction block LH.
    2. Measure the resistance of the relay.

      Standard resistance 

      IG1 NO. 2 RELAY

      Tester Connection Specified Condition
      3 - 5 10 kΩ or higher
      3 - 5 Below 1 Ω
      (when battery voltage is applied to terminals 1 and 2)
      Fig 3: Checking IG1 No. 2 Relay
      G04435552Courtesy of © TOYOTA, LICENSE AGREEMENT TMS1002

      If the result is not as specified, replace the relay.

    3. Install the relay.
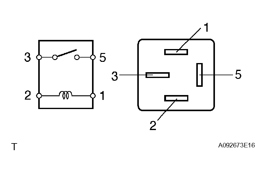
  3. CHECK IG1 NO. 3 RELAY (Marking: IG1 NO. 3) 
    1. Remove the relay from the cowl side junction block RH.
    2. Measure the resistance of the relay.

      Standard resistance 

      IG1 NO. 3 RELAY

      Tester Connection Specified Condition
      3 - 5 10 kΩ or higher
      3 - 5 Below 1 Ω
      (when battery voltage is applied to terminals 1 and 2)

      If the result is not as specified, replace the relay.

    3. Install the relay.
      Fig 4: Checking IG1 No. 3 Relay
      G04435553Courtesy of © TOYOTA, LICENSE AGREEMENT TMS1002