lemon-mirror:
Home >> Toyota >> 2006 >> Matrix Base, 4WD >> Repair and Diagnosis >> Body & Frame >> Windows >> Windshield/Window Glass >> Back Window Lock >> Inspection

Back Window Lock: Inspection

  1. REMOVE BACK WINDOW LOCK ASSEMBLY 
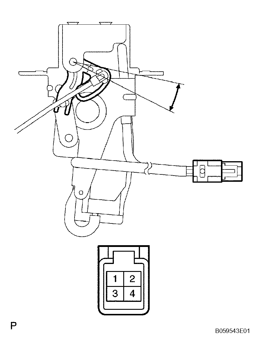
    1. Apply battery voltage and inspect the window lock motor operation, as shown in the illustration and table.

      Standard voltage 

      MEASUREMENT CONNECTION AND SPECIFIED CONDITION REFERENCE

      Measuring Condition Specified Condition
      Battery positive (+) --> Terminal 4
      Battery negative (-) --> Terminal 3
      Open

      If the resistance as specified, replace the window lock assembly.

    2. Measure the resistance according to the value(s) in the table below.

      Standard resistance 

      TERMINAL NO. AND SPECIFIED CONDITION REFERENCE

      Terminal No. Door Lock latch Position Specified Condition
      1 - 2 Open or half lock Below 1 Ω
      1 - 2 Not pushed 10 kΩ or higher

      If the result is not as specified, replace the switch assembly.

      Fig 1: Inspecting Window Lock Motor Operation
      G04466826Courtesy of © TOYOTA, LICENSE AGREEMENT TMS1002