lemon-mirror:
Home >> Toyota >> 2006 >> Matrix Base, FWD, Automatic >> Repair and Diagnosis >> Body & Frame >> Windows >> Windshield/Window Glass >> Defogger Relay >> On-Vehicle Inspection

On-Vehicle Inspection

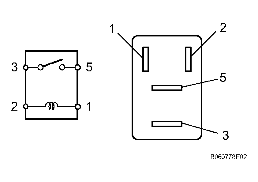
  1. INSPECT DEFOGGER RELAY 
    1. Remove the DEFOG relay from the instrument panel J/B.
    2. Measure the resistance of the relay.

      Standard resistance 

      TERMINAL NO. AND SPECIFIED CONDITION REFERENCE

      Terminal No. Specified Condition
      3 - 5 10 kΩ or higher
      3 - 5 Below 1 Ω
      (when battery voltage is applied to terminals 1 and 2)

      If the result is not as specified, replace the relay.

      Fig 1: Identifying Relay Test Terminals
      G04383959Courtesy of © TOYOTA, LICENSE AGREEMENT TMS1002