lemon-mirror:
Home >> Toyota >> 2006 >> Matrix XRS >> Repair and Diagnosis >> Engine Performance >> Engine Control System (2ZZ-GE) >> ECM >> Removal

Engine Control System (2ZZ-GE): ECM: Removal

  1. DISCONNECT BATTERY NEGATIVE TERMINAL 
  2. REMOVE GLOVE COMPARTMENT DOOR ASSEMBLY 
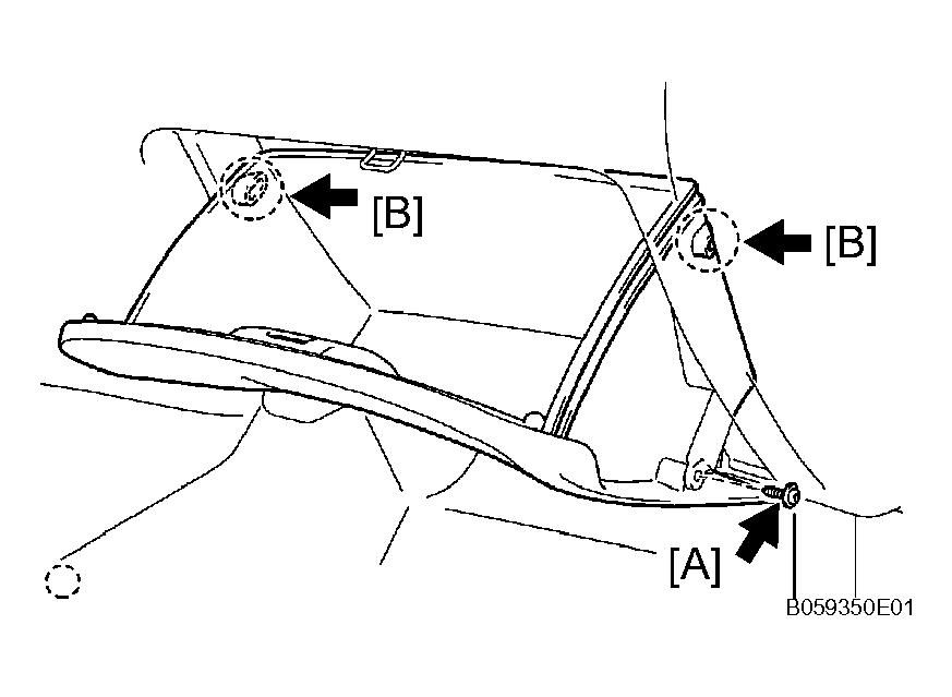
    1. Remove the screw [A] from the glove compartment door stoppers.
    2. Deform the upper part of the glove compartment door assembly to release the stoppers [B].
    3. Pull the glove compartment door assembly upward to remove it.
      Fig 1: Removing Glove Compartment Door Assembly
      G04460912Courtesy of © TOYOTA, LICENSE AGREEMENT TMS1002
  3. REMOVE ECM 
    1. Remove the 2 clips using a clip remover, then open the cover.
      Fig 2: Opening ECM Cover
      G04460913Courtesy of © TOYOTA, LICENSE AGREEMENT TMS1002
    2. Disconnect the 4 ECM connectors [B].
    3. Remove the wire harness from the wire harness clamp [C].
      Fig 3: Locating ECM Connectors And Wire Harness Clamp
      G04460914Courtesy of © TOYOTA, LICENSE AGREEMENT TMS1002
    4. Remove the 2 screws [D].
    5. Unfasten the claw and clip, and then remove the ECM.
      Fig 4: Locating Claw And Clip
      G04460915Courtesy of © TOYOTA, LICENSE AGREEMENT TMS1002
  4. REMOVE ECM COVER 
    1. Remove the ECM cover from the ECM.
      Fig 5: Identifying ECM Cover
      G04460916Courtesy of © TOYOTA, LICENSE AGREEMENT TMS1002
  5. REMOVE ECM BRACKET (for DELCO Made) 
    1. Remove the 4 screws, then remove the ECM bracket.
      Fig 6: Removing ECM Bracket (For DELCO Made)
      G04460917Courtesy of © TOYOTA, LICENSE AGREEMENT TMS1002
  6. REMOVE ECM BRACKET (for DENSO Made) 
    1. Remove the 2 screws, then remove the ECM bracket.
      Fig 7: Removing ECM Bracket (For DENSO Made)
      G04460918Courtesy of © TOYOTA, LICENSE AGREEMENT TMS1002
  7. REMOVE ECM BRACKET NO.2 (for DENSO Made) 
    1. Remove the 2 screws, then remove the ECM bracket No. 2.
      Fig 8: Removing Screws From ECM Bracket No.2 (For DENSO Made)
      G04460919Courtesy of © TOYOTA, LICENSE AGREEMENT TMS1002
  8. REMOVE ECM BRACKET NO.3 (for DENSO Made) 
    1. Remove the 2 screws, then remove the ECM bracket No. 3.
      Fig 9: Removing Screws From ECM Bracket No.3 (For DENSO Made)
      G04460920Courtesy of © TOYOTA, LICENSE AGREEMENT TMS1002