lemon-mirror:
Home >> Toyota >> 2006 >> Sequoia Limited, RWD >> Repair and Diagnosis >> Engine Performance >> Engine Control System >> Parts Location >> System Diagram

System Diagram

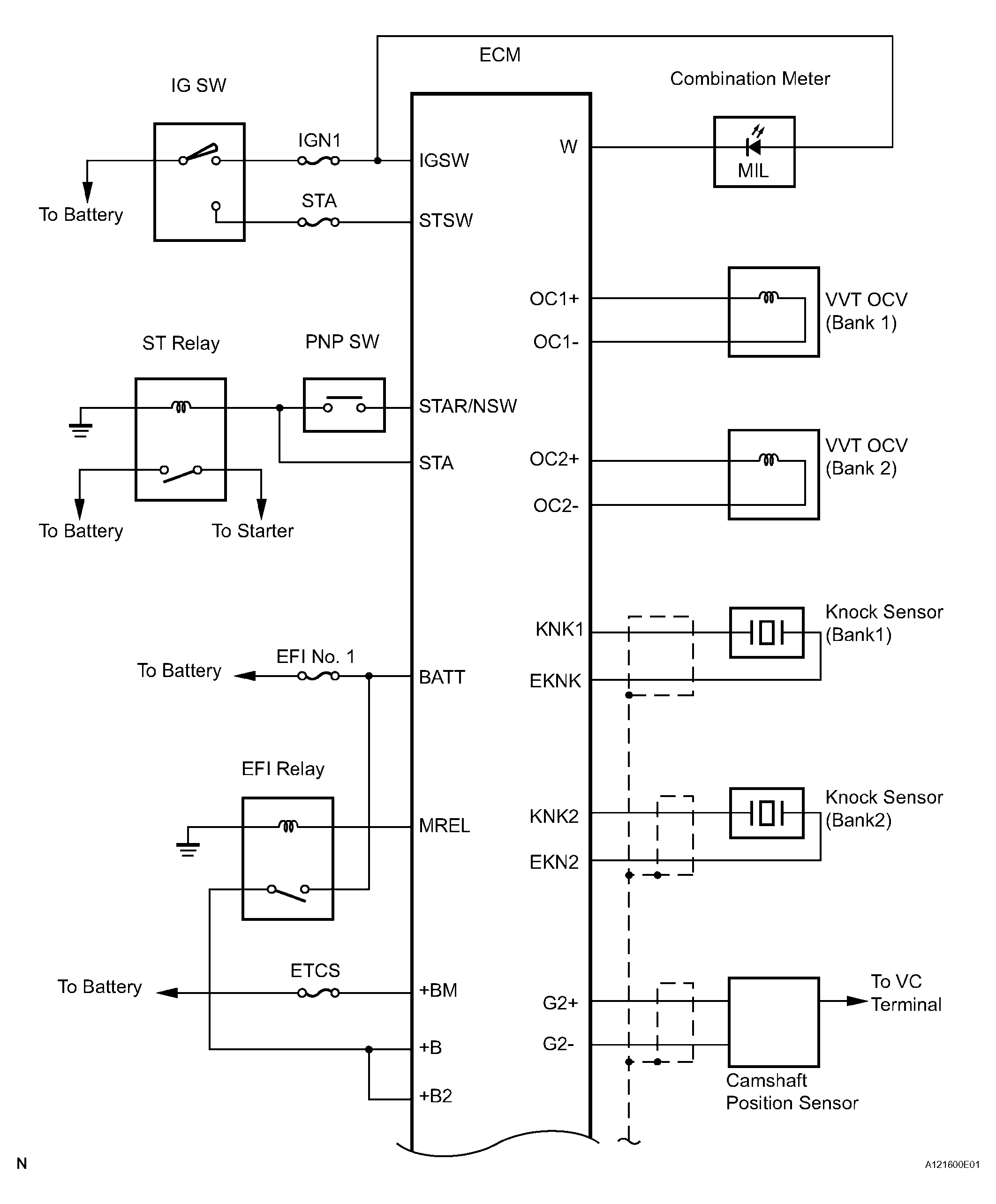
Fig 1: Engine Control System Diagram (1 Of 4)
G04506565Courtesy of © TOYOTA, LICENSE AGREEMENT TMS1002
Fig 2: Engine Control System Diagram (2 Of 4)
G04506566Courtesy of © TOYOTA, LICENSE AGREEMENT TMS1002
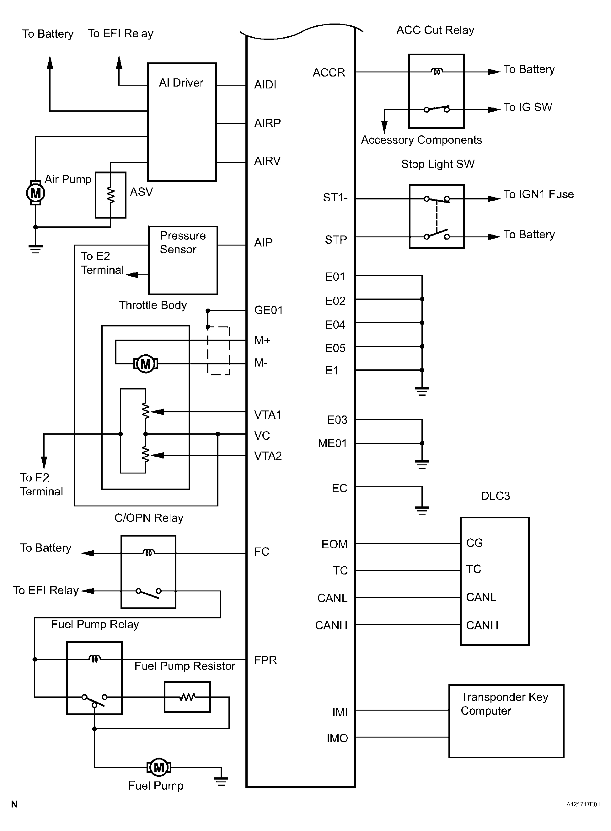
Fig 3: Engine Control System Diagram (3 Of 4)
G04506567Courtesy of © TOYOTA, LICENSE AGREEMENT TMS1002
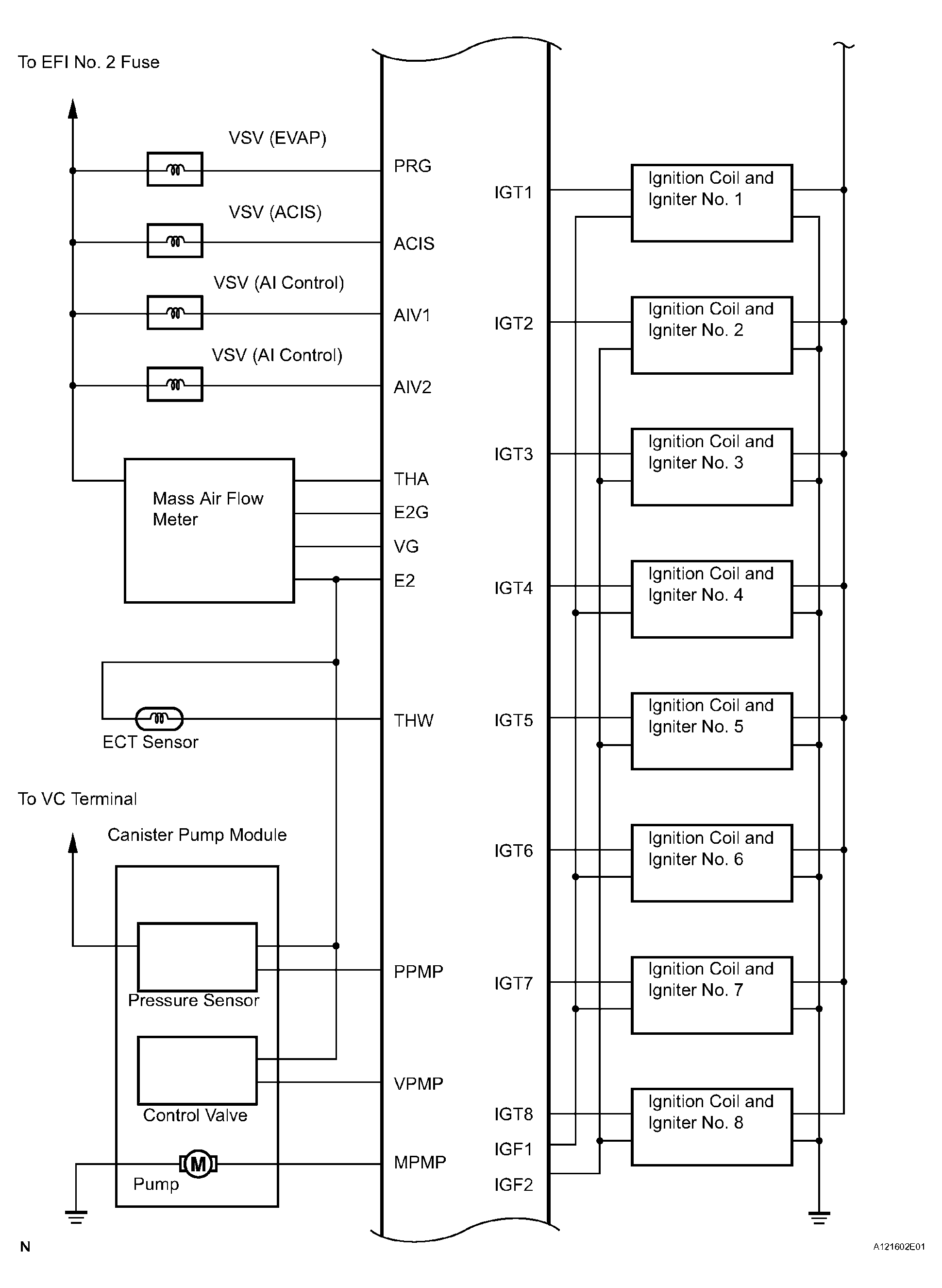
Fig 4: Engine Control System Diagram (4 Of 4)
G04506568Courtesy of © TOYOTA, LICENSE AGREEMENT TMS1002