lemon-mirror:
Home >> Toyota >> 2006 >> Yaris CE, Automatic >> Repair and Diagnosis >> Engine Performance >> Fuel Delivery >> Engine Fuel System >> Fuel Injector >> Installation

Fuel Injector: Installation

  1. INSTALL FUEL INJECTOR ASSEMBLY 
    1. Apply a light coat of gasoline or spindle oil to new O-rings, then install one onto each fuel injector.
    2. Apply a light coat of gasoline or spindle oil to the contact surfaces of the fuel delivery pipe and the O-ring of the fuel injector.
      Fig 1: Identifying O-Rings
      G04829003Courtesy of © TOYOTA, LICENSE AGREEMENT TMS1002
    3. While turning the fuel injector left and right, install it onto the fuel delivery pipe.
      NOTE:
      • Do not twist the O-ring.
      • After installing the fuel injectors, check that they turn smoothly. If not, replace the O-ring with a new one.
      Fig 2: Turning Fuel Injector
      G04829004Courtesy of © TOYOTA, LICENSE AGREEMENT TMS1002
  2. INSTALL INJECTOR VIBRATION INSULATOR 
    1. Install 4 new injector vibration insulators onto the cylinder head.
      Fig 3: Locating New Injector Vibration Insulators
      G04828857Courtesy of © TOYOTA, LICENSE AGREEMENT TMS1002
  3. INSTALL DELIVERY PIPE NO. 1 SPACER 
    1. Install the 2 No. 1 delivery pipe spacers onto the cylinder head.
      NOTE: Install the delivery pipe No. 1 spacer in the correct direction.
      Fig 4: Locating Delivery Pipe No. 1 Spacers
      G04829006Courtesy of © TOYOTA, LICENSE AGREEMENT TMS1002
  4. INSTALL FUEL DELIVERY PIPE SUB-ASSEMBLY 
    1. Install the fuel delivery pipe sub-assembly with the 4 fuel injectors, then provisionally install the 3 bolts.
      NOTE:
      • Do not drop the fuel injectors when installing the fuel delivery pipe sub-assembly.
      • Check that the fuel injectors rotate smoothly after installing the fuel delivery pipe sub-assembly.
      Fig 5: Locating Fuel Delivery Pipe Sub-Assembly
      G04828855Courtesy of © TOYOTA, LICENSE AGREEMENT TMS1002
    2. Tighten the 3 bolts to the specified torque.

      Torque: 19 N*m (194 kgf*cm, 14 ft.*lbf) for bolt A 

      9.0 N*m (92 kgf*cm, 80 in.*lbf) for bolt B 

      Fig 6: Locating Fuel Delivery Pipe Sub-Assembly Bolts
      G04829008Courtesy of © TOYOTA, LICENSE AGREEMENT TMS1002
  5. CONNECT FUEL TUBE SUB-ASSEMBLY 
    1. Insert the fuel tube connector into the fuel delivery pipe until a click sound can be heard.
      NOTE:
      • Check that there are no scratches or foreign matter around the disconnected parts of the fuel tube connector and pipe before performing this work.
      • After connecting the fuel tube, check that the fuel tube connector and pipe are securely connected by pulling them.
      Fig 7: Locating Fuel Tube Connector
      G04829059Courtesy of © TOYOTA, LICENSE AGREEMENT TMS1002
    2. Install the fuel pipe clamp.
      Fig 8: Locating Fuel Pipe Clamp
      G04829042Courtesy of © TOYOTA, LICENSE AGREEMENT TMS1002
  6. INSTALL CYLINDER HEAD COVER SUB-ASSEMBLY 
    1. Apply seal packing to the cylinder head as shown in Fig 9 .

      Seal Packing: 

      Toyota Genuine Seal Packing Black, Three Bond 1207B or Equivalent 

      NOTE:
      • Remove any oil from the contact surface.
      • Install the cylinder head cover sub-assembly within 3 minutes of applying the seal packing.
      • Do not start the engine for at least 2 hours after the installation.
      Fig 9: Identifying Seal Packing Applying To Cylinder Head
      G04829009Courtesy of © TOYOTA, LICENSE AGREEMENT TMS1002
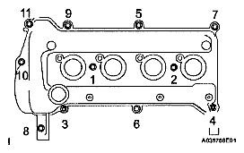
    2. Install the cylinder head cover sub-assembly with the 9 bolts, 2 nuts and 2 seal washers.
    3. Tighten the 9 bolts and 2 nuts.

      Torque: 10 N*m (102 kgf*cm, 7.0 ft.*lbf) 

      Fig 10: Identifying Cylinder Head Cover Sub-Assembly Bolts Tightening Sequence
      G04829062Courtesy of © TOYOTA, LICENSE AGREEMENT TMS1002
    4. Install the wire harness bracket with the bolt.

      Torque: 13 N*m (133 kgf*cm, 9.6 ft.*lbf) 

      Fig 11: Locating Wire Harness Bracket Bolt
      G04829040Courtesy of © TOYOTA, LICENSE AGREEMENT TMS1002
    5. Connect the connector and wire harness clamp and connect the engine wire harness.
      Fig 12: Locating Engine Wire Harness Clamp & Connector
      G04829039Courtesy of © TOYOTA, LICENSE AGREEMENT TMS1002
    6. Connect the fuel injector connectors.
      Fig 13: Locating Fuel Injector Connectors
      G04829038Courtesy of © TOYOTA, LICENSE AGREEMENT TMS1002
  7. CONNECT VENTILATION HOSE NO. 2 
    1. Connect ventilation hose No. 2.
      Fig 14: Locating Ventilation Hose No. 2
      G04829037Courtesy of © TOYOTA, LICENSE AGREEMENT TMS1002
  8. CONNECT VENTILATION HOSE 
    1. Connect the ventilation hose.
    Fig 15: Locating Ventilation Hose
    G04829036Courtesy of © TOYOTA, LICENSE AGREEMENT TMS1002
  9. INSTALL IGNITION COIL NO. 1 (See  INSTALLATION  ) 
  10. CONNECT CABLE TO NEGATIVE BATTERY TERMINAL 

    Torque: 5.4 N*m (55 kgf*cm, 48 in.*lbf) 

  11. CHECK FOR FUEL LEAKAGE (See  ON-VEHICLE INSPECTION   ) 
  12. CHECK FOR ENGINE OIL LEAKAGE 
  13. INSTALL CYLINDER HEAD COVER NO. 2 (See  INSTALLATION  )