lemon-mirror:
Home >> Toyota >> 2007 >> Avalon XLS >> Repair and Diagnosis >> Suspension >> Wheel Alignment >> Suspension System >> Front Wheel Alignment >> Adjustment

Front Wheel Alignment: Adjustment

  1. INSPECT TIRE 
    1. Inspect the tire (See INSPECTION ).
  2. MEASURE VEHICLE HEIGHT 
    1. Measure the vehicle height.

      Vehicle height: 

      XL 

      VEHICLE HEIGHT SPECIFICATION CHART

      Front (A - B) 122 mm (4.80 in.)
      Rear (D - C) 45 mm (1.77 in.)
      Fig 1: Identifying Vehicle Height Dimension
      G05001220Courtesy of © TOYOTA, LICENSE AGREEMENT TMS1002

      TOURING 

      VEHICLE HEIGHT SPECIFICATION CHART

      Front (A - B) 127 mm (5.00 in.)
      Rear (D - C) 50 mm (1.97 in.)

      XLS 

      VEHICLE HEIGHT SPECIFICATION CHART

      Front (A - B) 126 mm (4.96 in.)
      Rear (D - C) 49 mm (1.93 in.)

      LIMITED 

      VEHICLE HEIGHT SPECIFICATION CHART

      Front (A - B) 126 mm (4.96 in.)
      Rear (D - C) 52 mm (2.05 in.)

      Measuring points: 

      A: 

      Ground clearance of front wheel center 

      B: 

      Ground clearance of front suspension arm sub-assembly lower No. 2 set bolt head center 

      C: 

      Ground clearance of strut rod set bolt center 

      D: 

      Ground clearance of rear wheel center 

      NOTE: Before inspecting the wheel alignment, adjust the vehicle height to the specified value.

      HINT:

      Bounce the vehicle at the corners up and down to stabilize the suspension and inspect the vehicle height.

  3. INSPECT TOE-IN 
    1. Inspect the toe-in.

      Toe-in 

      TOE-IN SPECIFICATION CHART

      Toe-in: (total) -
      A + B:
      C - D:
      0° +-6' (0° +- 0.1°)
      0 +- 1 mm (0 +- 0.04 in.)

      HINT:

      • Measure "C - D" only when "A + B" cannot be measured.
        Fig 2: Identifying Toe-In Angle
        G05001221Courtesy of © TOYOTA, LICENSE AGREEMENT TMS1002
      • If toe-in is not within the specified range, adjust it at the rack ends.
  4. ADJUST TOE-IN 
    1. Remove the rack boot set clips.
    2. Loosen the tie rod end lock nuts.
    3. Turn the right and left rack ends by an equal amount to adjust toe-in.

      HINT:

      Try to adjust toe-in to the center of the specified range.

    4. Make sure that the lengths of the right and left rack ends are the same.
    5. Torque the tie rod end lock nuts.

      Torque: 74 N*m (755 kgf*cm, 55 ft.*lbf) 

      Fig 3: Locating Tie Rod End Lock Nuts
      G05001222Courtesy of © TOYOTA, LICENSE AGREEMENT TMS1002
    6. Place the boots on the seats and install the clips.

      HINT:

      Make sure that the boots are not twisted.

    7. with VSC:

      Perform VSC system calibration (See CALIBRATION ).

  5. INSPECT WHEEL ANGLE 
    1. Turn the steering wheel fully left and right and measure the turning angle.

      Wheel turning angle: 

      XL 

      WHEEL TURNING ANGLE SPECIFICATION CHART

      Inside wheel Outside wheel: Reference
      38°37' +- 2°
      (38.62° +- 2°)
      33°47' (33.78°)

      TOURING 

      WHEEL TURNING ANGLE SPECIFICATION CHART

      Inside wheel Outside wheel: Reference
      38°27' +- 2°
      (38.45° +- 2°)
      33°41' (33.68°)

      XLS 

      WHEEL TURNING ANGLE SPECIFICATION CHART

      Inside wheel Outside wheel: Reference
      38°29'+- 2°
      (38.48° +- 2°)
      33°43' (33.72°)

      LIMITED 

      WHEEL TURNING ANGLE SPECIFICATION CHART

      Inside wheel Outside wheel: Reference
      38°27' +- 2°
      (38.45° +- 2°)
      33°40' (33.67°)

      If the right and left inside wheel angles differ from the specified range, check and adjust the right and left rack end lengths.

    Fig 4: Identifying Wheel Angle
    G05001223Courtesy of © TOYOTA, LICENSE AGREEMENT TMS1002
  6. INSPECT CAMBER, CASTER AND STEERING AXIS INCLINATION 
    1. Put the front wheel on the center of the alignment tester.
    2. Install the camber-caster-kingpin gauge at the center of the axle hub or drive shaft.
    3. Inspect the camber, caster and steering axis inclination.

      Camber, caster and steering axis inclination: 

      XL 

      Fig 5: Identifying Gauge
      G05001224Courtesy of © TOYOTA, LICENSE AGREEMENT TMS1002
      WHEEL ALIGNMENT SPECIFICATION CHART

      Camber
      Right-left error
      Caster
      Right-left error
      Steering axis inclination
      Right-left error
      -0°40' +- 45' (-0.67° +- 0.75°)
      45'(0.75°) or less
      2°39' +- 45' (2.65° +- 0.75°)
      45'(0.75°) or less
      12°15' +- 45' (12.25° +- 0.75°)
      45'(0.75°) or less

      TOURING 

      WHEEL ALIGNMENT SPECIFICATION CHART

      Camber
      Right-left error
      Caster
      Right-left error
      Steering axis inclination
      Right-left error
      -0°43' +- 45' (-0.72° +- 0.75°)
      45'(0.75°) or less
      2°43' +- 45' (2.72° +- 0.75°)
      45'(0.75°) or less
      12°22' +- 45' (12.37° +- 0.75°)
      45'(0.75°) or less

      XLS 

      WHEEL ALIGNMENT SPECIFICATION CHART

      Camber
      Right-left error
      Caster
      Right-left error
      Steering axis inclination
      Right-left error
      -0°43' +- 45' (-0.72° +- 0.75°)
      45' (0.75°) or less
      2°42' +- 45' (2.70° +- 0.75°)
      45' (0.75°) or less
      12°20' +- 45'(12.33° +- 0.75°)
      45' (0.75°) or less

      LIMITED 

      WHEEL ALIGNMENT SPECIFICATION CHART

      Camber
      Right-left error
      Caster
      Right-left error
      Steering axis inclination
      Right-left error
      -0°43' +- 45' (-0.72° +- 0.75°)
      45' (0.75°) or less
      2°48' +- 45'(2.80° +- 0.75°)
      45' (0.75°) or less
      12°20' +- 45' (12.33° +- 0.75°)
      45' (0.75°) or less

      Check the suspension parts for damaged and/or worn out parts if the caster and steering axis inclination are not within the specified range after the camber has been correctly adjusted.

  7. ADJUST CAMBER 
    NOTE: Inspect toe-in after the camber has been adjusted.
    1. Remove the front wheel.
    2. Remove the 2 nuts on the lower side of the shock absorber.
      NOTE: Keep the bolts inserted.
    3. Clean the installation surfaces of the shock absorber and the steering knuckle.
    4. Temporarily install the 2 nuts.
      Fig 6: Locating Lower Side Of Shock Absorber Nuts
      G05001225Courtesy of © TOYOTA, LICENSE AGREEMENT TMS1002
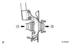
    5. Fully push or pull the front axle hub in the direction of the required adjustment.
    6. Tighten the nuts.

      Torque: 210 N*m (2,140 kgf*cm, 155 ft.*lbf) 

      NOTE: Keep the bolts from rotating and torque the nuts when installing the nuts.
      Fig 7: Pushing Front Axle Hub In Direction Of Required Adjustment
      G05001226Courtesy of © TOYOTA, LICENSE AGREEMENT TMS1002
    7. Install the front wheel.

      Torque: 103 N*m (1,050 kgf*cm, 76 ft.*lbf) 

    8. Check the camber.

      If the measured value is not within the specification, calculate the required adjustment amount using the formula below.

      HINT:

      (Camber adjustment amount) = Specified range medium - measured value

      Check installed bolts combination. Select appropriate bolts from the table below to adjust the camber to within the specified range.

      CAMBER ANGLE SPECIFICATION

      Move the axle toward (+) in step (e) Refer to Fig 9 table (1) below (Move the axle toward positive side)
      Move the axle toward (-) in step (e) Refer to Fig 10 table (2) below (Move the axle toward negative side)
      Fig 8: Identifying Bolts
      G05001227Courtesy of © TOYOTA, LICENSE AGREEMENT TMS1002
      1. Table (1) (Move the axle toward positive side). See Fig 9.
      Fig 9: Bolts Specification (Move Axle Toward Positive Side)
      G05001228Courtesy of © TOYOTA, LICENSE AGREEMENT TMS1002

      The body and suspension may be damaged if the camber is not correctly adjusted according to the above table.

      NOTE: Replace the nut with a new one when replacing the bolt.
    9. Repeat the steps mentioned above. At step (b), replace 1 or 2 selected bolts.

      HINT:

      Replace one bolt at a time when replacing 2 bolts. (1) Table (2) (Move the axle toward negative side). See Fig 10.

      Fig 10: Bolts Specification (Move Axle Toward Negative Side)
      G05001229Courtesy of © TOYOTA, LICENSE AGREEMENT TMS1002

      The body and suspension may be damaged if the camber is not correctly adjusted according to the above table.

      NOTE: Replace the nut with a new one when replacing the bolt.
    10. Repeat the steps mentioned above. At step (b), replace 1 or 2 selected bolts.

      HINT:

      Replace one bolt at a time when replacing 2 bolts.