lemon-mirror:
Home >> Toyota >> 2007 >> Corolla LE, Automatic >> Repair and Diagnosis >> Suspension >> Wheel Alignment >> Suspension System >> Front Wheel Alignment >> Adjustment

Front Wheel Alignment: Adjustment

  1. INSPECT TIRES 

    HINT:

    (See INSPECTION )

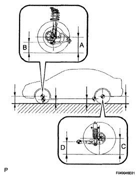
  2. MEASURE VEHICLE HEIGHT 
    1. Bounce the vehicle at the corners up and down to stabilize the suspension and inspect vehicle height.
      Fig 1: Measuring Vehicle Height
      G05194618Courtesy of © TOYOTA, LICENSE AGREEMENT TMS1002

      Vehicle height: for USA, Canada 

      VEHICLE HEIGHT CHART (FOR USA, CANADA)

      Front (A-B) Rear (D-C)
      87 mm (3.43 in.) 43 mm (1.69 in.)

      for Mexico 

      VEHICLE HEIGHT CHART (FOR MEXICO)

      Front (A-B) Rear(D-C)
      72 mm (2.84 In.) 33 mm (1.30 in.)

      Measuring points: 

      A: Ground clearance of front wheel center 

      B: Ground clearance of lower suspension arm No. 1 bush front bolt center 

      C: Ground clearance of axle beam set bolt center 

      D: Ground clearance of rear wheel center 

      NOTE: Before inspecting the wheel alignment, adjust the vehicle height to the specified value.

      HINT:

      Bounce the vehicle at the corners up and down to stabilize the suspension and inspect the vehicle height.

  3. INSPECT TOE-IN 
    1. Measure the distance between the tread center marks on the front side of the wheels.

      Toe-in 

      TOE-IN CHART

      Toe-In (total)
      A + B: 0° +-12" (0° +- 0.2°)
      C - D: 0 +- 2 mm (0 +- 0.08 In.)
      Fig 2: Measuring Distance Between Tread Center Marks On Front Side Of Wheels
      G05194619Courtesy of © TOYOTA, LICENSE AGREEMENT TMS1002

      HINT:

      • Measure "C - D" only when "A + B" can not be measured.
      • If the toe-in is not within the specified value, adjust it at the rack ends.
  4. ADJUST TOE-IN 
    1. Measure the thread lengths of the right and left rack ends.

      Standard: Difference in thread length of 1.5 mm or less 

    2. Remove the rack boot set clips.
    3. Loosen the tie rod end lock nuts.
      Fig 3: Locating Tie Rod End Lock Nuts
      G05194620Courtesy of © TOYOTA, LICENSE AGREEMENT TMS1002
    4. Adjust the rack ends if the difference in thread length between the right and left rack ends is not within the specified range.
      1. Extend the shorter rack end if the measured toe-in deviates toward the outer-side.
      2. Shorten the longer rack end if the measured toe-in deviates toward the inner-side.
    5. Turn the right and left rack ends by an equal amount to adjust toe-in.

      HINT:

      Try to adjust toe-in to the center of the specified range.

    6. Make sure that the lengths of the right and left rack ends are the same.

      Standard: 0 +-1 mm 

    7. Torque the tie rod end lock nuts.

      Torque: 74 N*m (749 kgf*cm, 54 ft.*lbf) 

      NOTE: Temporarily tighten the lock nut while holding the hexagonal part of the steering rack end so that the lock nut and the steering rack end do not turn together. Hold the width across flat of the tie rod end and tighten the lock nut.
    8. Place the boots on the seats and install the clips.

      HINT:

      Make sure that the boots are not twisted.

    9. Perform VSC system calibration (See CALIBRATION ).
  5. INSPECT WHEEL ANGLE 
    1. Turn the steering wheel fully left and right and measure the turning angle.

      Wheel turning angle: for USA, Canada 

      WHEEL TURNING ANGLE CHART (FOR USA, CANADA)

      Inside wheel Outside wheel (Reference)
      37°06' +- 2° (37.10° +- 2°) 31 °49'(31.82°)

      for Mexico 

      WHEEL TURNING ANGLE CHART (FOR MEXICO)

      Inside wheel Outside wheel (Reference)
      37016l+-2°(37.27°+-20) 32°081 (32.13°)
      Fig 4: Inspecting Wheel Angle
      G05194621Courtesy of © TOYOTA, LICENSE AGREEMENT TMS1002

      If the right and left inside wheel angles differ from the specified range, check the lengths of the right and left rack ends.

  6. INSPECT CAMBER, CASTER AND STEERING AXIS INCLINATION 
    1. Place a front wheel on the center of the turning radius gauge.
    2. Remove the center ornament.
    3. Install the camber-caster-kingpin gauge at the center of the axle hub or drive shaft.
    4. Inspect the camber, caster, and steering axis inclination.
      Fig 5: Inspecting Camber, Caster And Steering Axis Inclination
      G05194622Courtesy of © TOYOTA, LICENSE AGREEMENT TMS1002

      Camber, caster, and steering axis inclination: 

      for USA, Canada 

      CAMBER, CASTER, AND STEERING AXIS INCLINATION SPECIFICATIONS (FOR USA, CANADA)

      Camber angle Caster angle Steering axis Inclination angle
      -0°32' +- 45' (-0.53° +- 0.75°) 45' (0.75°) or less 2°50' +- 45' (2.83° +- 0.75°) 45' (0.75°) or less 11-21'+-45' (11.35° +- 0.75°) 45' (0.75°) or less

      for Mexico 

      CAMBER, CASTER, AND STEERING AXIS INCLINATION SPECIFICATIONS (FOR MEXICO)

      Camber angle Caster angle Steering axis inclination angle
      -0°22' +- 45' (-0.37° +- 0.75°) 45' (0.75°) or less 2°43' +- 45' (2.72° +- 0.75°) 45' (0.75°) or less 10°59' +- 45' (10.98° +- 0.75°) 45' (0.75°) or less
      NOTE:
      • Inspect while the vehicle is empty.
      • The maximum tolerance of right and left difference for the camber and caster is 45' (0.75°) or less.
    5. Remove the camber-caster-kingpin gauge.
    6. Install the center ornament.

      If the caster and steering axis inclination are not within the specified values after the camber has been correctly adjusted, recheck the suspension parts for damaged and/or worn out parts.

  7. ADJUST CAMBER 
    NOTE: Inspect toe-in after the camber has been adjusted.
    1. Remove the front wheel.
    2. Remove the 2 nuts on the lower side of the shock absorber.
    3. Clean the installation surface of the shock absorber and the steering knuckle.
    4. Temporarily install the 2 nuts.
      Fig 6: Locating Shock Absorber Bolts And Nuts
      G05194623Courtesy of © TOYOTA, LICENSE AGREEMENT TMS1002
    5. Fully push or pull the front axle hub in the direction of the required adjustment.
      Fig 7: Pushing Or Pulling Front Axle Hub
      G05194624Courtesy of © TOYOTA, LICENSE AGREEMENT TMS1002
    6. Tighten the nuts.

      Torque: 153 N*m (1,560 kgf*cm, 113 ft.*lbf) 

      NOTE: Keep the bolts from rotating and torque the nuts.
    7. Install the front wheel.

      Torque: 103 N*m (1,050 kgf*cm, 76 ft.*lbf) 

    8. Check the camber.

      If the measured value is not within the specified range, calculate the required adjustment amount using the formula below.

      (Camber adjustment amount) = Center of the specified range - Measured value

    9. Check installed bolts combination. Select appropriate bolts from the table below to adjust the camber to within the specified range.
      CAMBER SPECIFICATIONS

      Move the axle toward (+) Refer to Fig 9 (Move the axle toward positive side)
      Move the axle toward (-) Refer to Fig 11 (Move the axle toward negative side)
      Fig 8: Identifying Shock Absorber Bolts
      G05194625Courtesy of © TOYOTA, LICENSE AGREEMENT TMS1002
    10. Check the table (1) (Move the axle toward positive side) in Fig 9.
      Fig 9: Identifying Bolt Head Specification Chart
      G05194626Courtesy of © TOYOTA, LICENSE AGREEMENT TMS1002
    11. The body and suspension may be damaged if the camber is not correctly adjusted according to Fig 9.
      NOTE: Replace the nut with a new one when replacing the bolt.
    12. Repeat the steps mentioned above. Replace 1 or 2 selected bolts.

      HINT:

      Replace one bolt at a time when replacing 2 bolts.

      Fig 10: Identifying Bolt Dimension
      G05194627Courtesy of © TOYOTA, LICENSE AGREEMENT TMS1002
    13. Check the table (2) (Move the axle toward negative side) in Fig 11.
      Fig 11: Identifying Bolt Head Specification Chart
      G05194628Courtesy of © TOYOTA, LICENSE AGREEMENT TMS1002
    14. The body and suspension may be damaged if the camber is not correctly adjusted according to Fig 11.
      NOTE: Replace the nut with a new one when replacing the bolt.
    15. Repeat the steps mentioned above. Replace 1 or 2 selected bolts.

      HINT:

      Replace one bolt at a time when replacing 2 bolts.

      Fig 12: Identifying Bolt Dimension
      G05194627Courtesy of © TOYOTA, LICENSE AGREEMENT TMS1002