lemon-mirror:
Home >> Toyota >> 2007 >> Land Cruiser >> Repair and Diagnosis >> Body & Frame >> Windows >> Windshield/Window Glass >> Quarter Window Glass >> Components

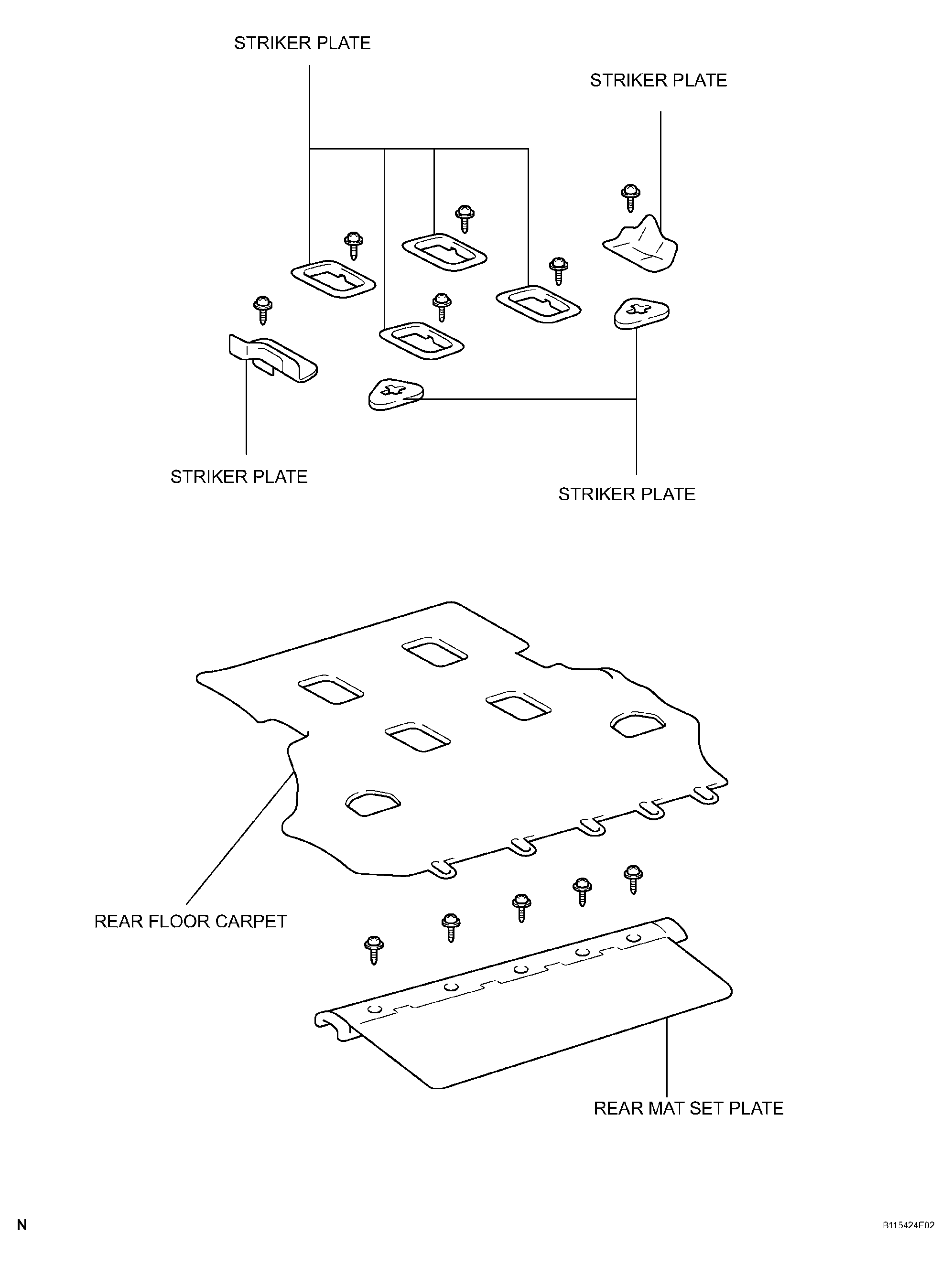
Quarter Window Glass: Components

Fig 1: Identifying Quarter Window Glass Components And Replacements (1 Of 2)
G04443811Courtesy of © TOYOTA, LICENSE AGREEMENT TMS1002
Fig 2: Identifying Quarter Window Glass Components And Replacements (2 Of 2)
G04443812Courtesy of © TOYOTA, LICENSE AGREEMENT TMS1002