lemon-mirror:
Home >> Toyota >> 2007 >> Land Cruiser >> Repair and Diagnosis >> Electrical >> Horns >> Inspection

Repair and Diagnosis: Electrical: Horns: Inspection

  1. INSPECT FUSE (HORN) 
    1. Measure the resistance of the HORN fuse.

      Standard resistance: Below 1 Ω 

      If the result is not as specified, replace the fuse.

      Fig 1: Measuring Resistance Of Horn Fuse
      G04438720Courtesy of © TOYOTA, LICENSE AGREEMENT TMS1002
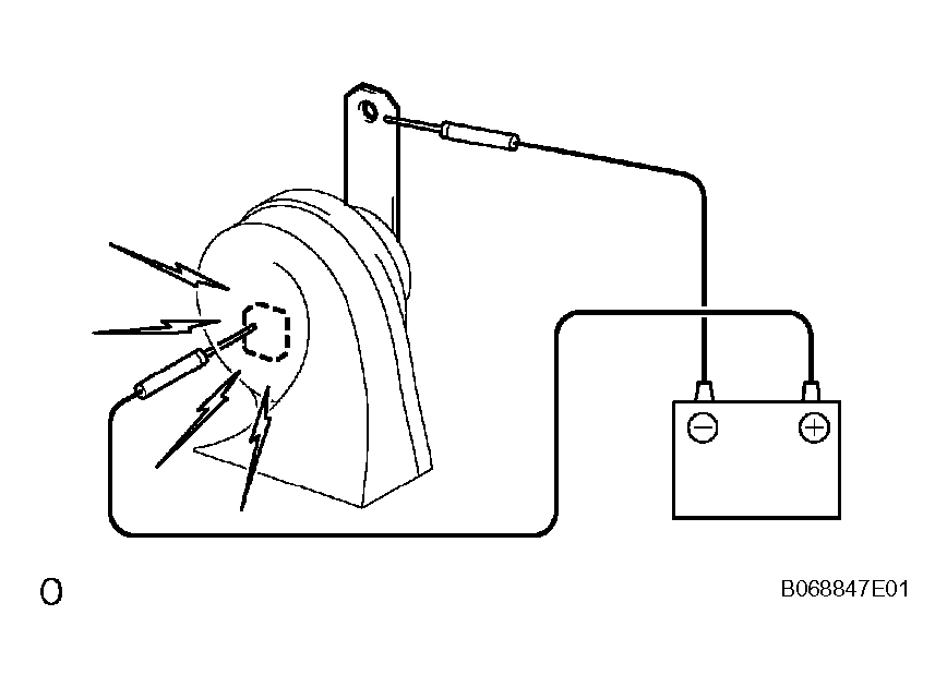
  2. INSPECT LOW PITCHED HORN ASSEMBLY 
    1. Apply battery voltage and check the operation of the horn.

      OK 

      LOW PITCHED HORN ASSEMBLY

      Measurement Condition Specified Condition
      Battery positive (+) -> Terminal 1
      Battery negative (-) -> Horn bracket
      Horn sounds

      If the result is not as specified, replace the horn assembly.

      Fig 2: Inspecting Low Pitched Horn Assembly
      G04438721Courtesy of © TOYOTA, LICENSE AGREEMENT TMS1002
  3. INSPECT HIGH PITCHED HORN ASSEMBLY 
    1. Apply battery voltage and check the operation of the horn.

      OK 

      HIGH PITCHED HORN ASSEMBLY

      Measurement Condition Specified Condition
      Battery positive (+) -> Terminal 1
      Battery negative (-) -> Horn bracket
      Horn sounds

      If the result is not as specified, replace the horn assembly.

      Fig 3: Inspecting Horn Operation
      G04093129Courtesy of © TOYOTA, LICENSE AGREEMENT TMS1002