lemon-mirror:
Home >> Toyota >> 2007 >> Land Cruiser >> Repair and Diagnosis >> Suspension >> Wheel Alignment >> Suspension System >> Front Wheel Alignment >> Adjustment

Front Wheel Alignment: Adjustment

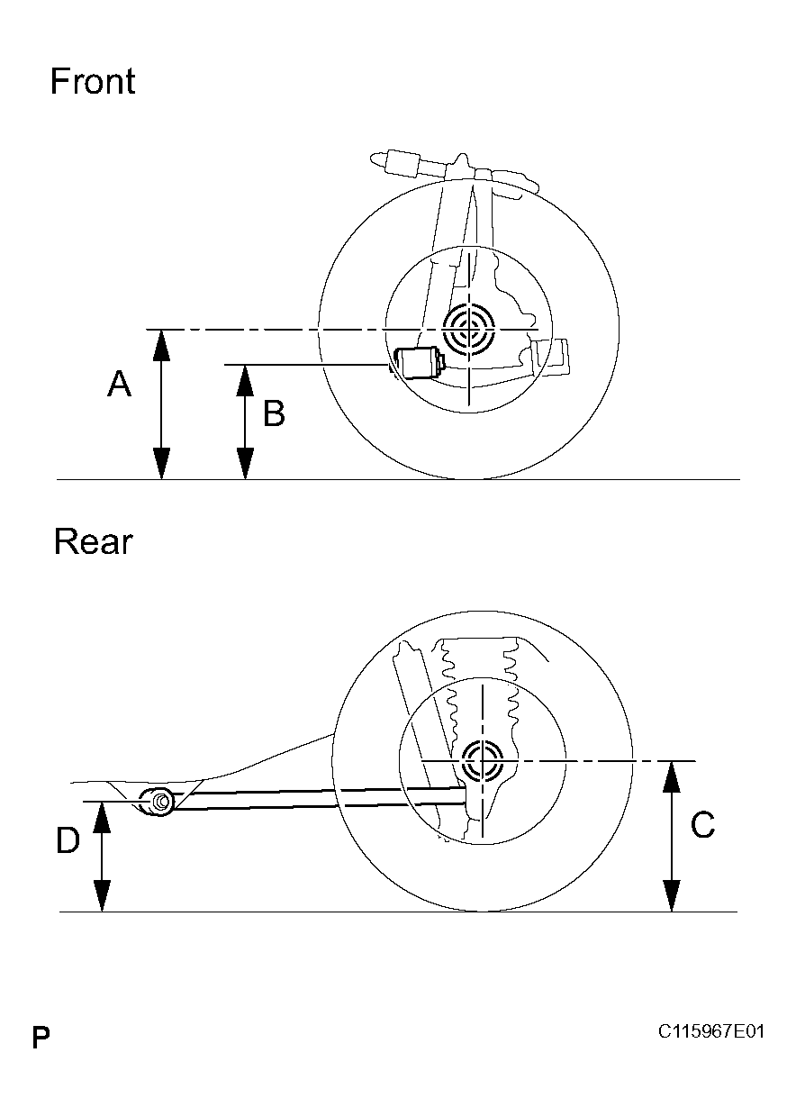
  1. INSPECT VEHICLE HEIGHT 

    Standard vehicle height 

    VEHICLE HEIGHT SPECIFICATION

    Front (A - B): Rear (C - D):
    71 mm (2.795 in.) 51 mm (2.008 in.)

    Measuring points:

    1. Ground clearance of spindle center
    2. Ground clearance of lower suspension arm front bolt center
    3. Ground clearance of rear axle shaft center
    4. Ground clearance of lower control arm front bolt center
    NOTE: Before inspecting the wheel alignment, adjust the vehicle height to the specified value.
    Fig 1: Checking Ground Clearance Of Lower Suspension Arm Front Bolt Center
    G04437539Courtesy of © TOYOTA, LICENSE AGREEMENT TMS1002

    If the vehicle height is not the specified value, try to adjust it by pushing down on or lifting the body.

  2. INSTALL CAMBER-CASTER-KINGPIN GAUGE OR POSITION VEHICLE ON WHEEL ALIGNMENT TESTER 
    1. Follow the specific instructions of the equipment manufacturer.
  3. INSPECT CAMBER, CASTER AND STEERING AXIS INCLINATION 
    Fig 2: Installing Camber-Caster-Kingpin Gauge
    G04437540Courtesy of © TOYOTA, LICENSE AGREEMENT TMS1002

    Standard camber, caster and steering axis inclination 

    CAMBER, CASTER AND STEERING AXIS SPECIFICATION

    Item Specified Condition
    Camber 0°05' +- 45' (0.08° +- 0.75°)
    Right-left error 30' (0.5°) or less
    Caster 2°30' +- 45' (2.5° +- 0.75°)
    Right-left error 30' (0.5°) or less
    Steering axis inclination 12°10' +- 45' (12.17° +- 0.75°)
    Right-left error 30' (0.5°) or less

    If the steering axis inclination is not within the specified value, after the camber and caster have been correctly adjusted, recheck the steering knuckle and front wheel for wearing or looseness.

  4. ADJUST CAMBER AND CASTER 
    NOTE: After the camber has been adjusted, inspect the toe-in.
    1. Loosen the front and/or rear adjusting cam nuts.
    2. Adjust the camber and caster using front and/or rear adjusting cams.

      HINT:

      Try to adjust the camber and caster to the center of the specified value.

      Fig 3: Adjusting Camber & Caster Using Front And/Or Rear Adjusting Cams
      G04437541Courtesy of © TOYOTA, LICENSE AGREEMENT TMS1002
    3. How to read adjustment table (Using examples).
      1. Measure the present alignment.

        Standard camber: -0°15' (-0.25°) 

        Standard caster: 2°40' (2.67°) 

      2. Mark the difference between the standard value (A) and the measured value (B) on the adjustment table.

        Standard value: 

        Camber: 0°05' (0.08°) 

        Caster: 2°30' (2.5°) 

        Formula: A - B = C 

        Camber: 0°05' - (-0°15') = 0°20' 

        Caster: 2°30' - 2°40' = -0°10' 

        Fig 4: Identifying Adjustment Table
        G04437542Courtesy of © TOYOTA, LICENSE AGREEMENT TMS1002
      3. As shown in Fig 5 , read the distances from the marked point to the 0 point, and adjust the front and/or rear adjusting cams accordingly.

        Front cam: - (Shorter) 1.6 

        Rear cam: - (Shorter) 3.2 

        Fig 5: Identifying Adjustment Table
        G04437543Courtesy of © TOYOTA, LICENSE AGREEMENT TMS1002
    4. Torque the front and/or rear adjusting cam nuts.

      Torque: 98 N*m (1,000 kgf*cm, 72 ft.*lbf) 

  5. INSPECT TOE-IN 

    Standard toe-in 

    TOE-IN SPECIFICATION

    Item Specified Condition
    Toe-in A + B: 0°06' +- 12' (0.1° +- 0.2°)
    (total) C - D: 1 +- 2 mm (0.04 +- 0.08 in.)

    If the toe-in is not within the specified value, adjust it at the rack ends.

    Fig 6: Inspecting Toe-In
    G04437544Courtesy of © TOYOTA, LICENSE AGREEMENT TMS1002
  6. ADJUST TOE-IN 
    1. Check or adjust the lengths of the rack ends, then adjust the toe-in.

      Standard rack end length difference: 3.0 mm (0.118 in.) or less 

    2. Remove the boot clamps.
    3. Loosen the tie rod end lock nut.
    4. Turn the right and left rack ends by an equal amount to adjust the toe-in.

      HINT:

      Try to adjust the toe-in to the center of the specified value.

      Fig 7: Loosening Tie Rod End Lock Nut
      G04437545Courtesy of © TOYOTA, LICENSE AGREEMENT TMS1002
    5. Tighten the tie rod end lock nuts.

      Torque: 55 N*m (560 kgf*cm, 41 ft.*lbf) 

    6. Place the boots on the seats and install the clamps.

      HINT:

      Make sure that the boots are not twisted.

    7. Perform the 0 point calibration of the yaw rate and deceleration sensor (see CALIBRATION ).
  7. INSPECT AND ADJUST WHEEL ANGLE 
    1. Turn the steering wheel fully to the right and left, and measure the turning angle.

      Standard wheel turning angle 

      WHEEL TURNING ANGLE SPECIFICATION

      Item Specified Condition
      Inside wheel 36° 42' (33°42' to 36°42')
      36.7°(33.7° to 36.7°)
      Outside wheel: Reference 32°36'
      32.6°
      Fig 8: Identifying Wheel Angle
      G04437546Courtesy of © TOYOTA, LICENSE AGREEMENT TMS1002

      If the right and left inside wheel angles differ from the specified value, check the right and left rack end lengths.

    2. When toe-in is normal after inspection, adjust wheel angle with the knuckle stopper bolt of the lower suspension arm.

      Torque: 44 N*m (450 kgf*cm, 32 ft.*lbf) 

      Fig 9: Adjusting Wheel Angle With Knuckle Stopper Bolt
      G04437547Courtesy of © TOYOTA, LICENSE AGREEMENT TMS1002