lemon-mirror:
Home >> Toyota >> 2007 >> Matrix Base, Automatic >> Repair and Diagnosis >> Body & Frame >> Windows >> Windshield/Window Glass >> Back Door Glass >> Removal

Back Door Glass: Removal

  1. REMOVE BACK DOOR PANEL SUB-ASSEMBLY UPPER OUTER 
    1. Remove the center stop light.
    2. Using a Torx wrench (T30), remove the 4 screws.
    3. Remove the 4 nuts.
      Fig 1: Identifying Back Door Panel Sub-Assembly Upper Outer Screws And Nuts
      G05237212Courtesy of © TOYOTA, LICENSE AGREEMENT TMS1002
    4. Remove the hose.
      Fig 2: Removing Hose
      G05237213Courtesy of © TOYOTA, LICENSE AGREEMENT TMS1002
    5. Using a knife, cut off the adhesive tape as shown in the illustration.
      NOTE: Do not damage the back door glass with the knife.
    6. Remove the back door panel upper outer, and then disconnect the clamp.
      Fig 3: Cutting Off Adhesive Tape
      G05237214Courtesy of © TOYOTA, LICENSE AGREEMENT TMS1002
  2. REMOVE REAR WIPER ARM ASSEMBLY (See  REMOVAL  ) 
  3. REMOVE REAR WIPER LINK CAP 
  4. REMOVE W/WASHER PACKING NUT REAR WIPER LINK PIVOT 
  5. REMOVE RR WIPER MOTOR COVER 
  6. REMOVE WINDSHIELD WIPER MOTOR ASSEMBLY (See  INSPECTION  ) 
  7. REMOVE BACK DOOR GLASS 
    1. Using a screwdriver, remove the back door stay from the back door panel.

      HINT:

      While supporting the back door by hand, remove the back door stay.

      Fig 4: Removing Back Door Stay
      G05237215Courtesy of © TOYOTA, LICENSE AGREEMENT TMS1002
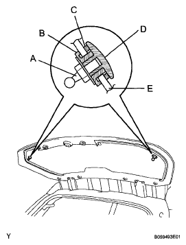
    2. Remove the back door stay bolt No. 1, back door stay retainer and back door stay packing No. 2 from the back door glass.

      HINT:

      1. Back door stay bolt No. 1
      2. Back door stay packing No. 2
      3. Back door stay packing No. 1
      4. Back door stay retainer
      5. Back door glass
        Fig 5: Identifying Back Door Stay Components And Back Door Glass
        G05237216Courtesy of © TOYOTA, LICENSE AGREEMENT TMS1002
    3. Remove the 4 nuts and back door glass.
  8. REMOVE BACK DOOR HINGE ASSEMBLY RH 
    1. Remove the 2 nuts, window glass spacer No. 1, back door hinge male pad and back door glass from the back door hinge assembly RH.
  9. REMOVE BACK DOOR HINGE ASSEMBLY LH 
    Fig 6: Removing Back Door Glass Nuts
    G05237217Courtesy of © TOYOTA, LICENSE AGREEMENT TMS1002