lemon-mirror:
Home >> Toyota >> 2007 >> Matrix Base, Automatic >> Repair and Diagnosis >> Body & Frame >> Windows >> Windshield/Window Glass >> Back Window Lock >> Inspection

Back Window Lock: Inspection

  1. REMOVE BACK WINDOW LOCK ASSEMBLY 
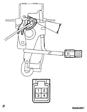
    1. Apply battery voltage and inspect the window lock motor operation, as shown in the illustration and table.

      Standard voltage 

      MEASURING SPECIFIED CONDITION

      Measuring Condition Specified Condition
      Battery positive (+) → Terminal 4
      Battery negative (-) → Terminal 3
      Open

      If the resistance as specified, replace the window lock assembly.

    2. Measure the resistance according to the value(s) in the table below.
      Fig 1: Identifying Back Window Lock Assembly Connector Terminals
      G05237235Courtesy of © TOYOTA, LICENSE AGREEMENT TMS1002

      Standard resistance 

      TERMINAL SPECIFIED CONDITION

      Terminal No. Door Lock latch Position Specified Condition
      1 - 2 Open or half lock Below 1 Ω
      1 - 2 Not pushed 10 kΩ or higher

      If the result is not as specified, replace the switch assembly.