lemon-mirror:
Home >> Toyota >> 2007 >> Matrix Base, Automatic >> Repair and Diagnosis >> Body & Frame >> Windows >> Windshield/Window Glass >> Defogger Relay >> On-Vehicle Inspection

On-Vehicle Inspection

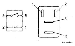
  1. INSPECT DEFOGGER RELAY 
    1. Remove the DEF relay from the instrument panel J/ B.
    2. Measure the resistance of the relay.
      Fig 1: Identifying Relay Terminals
      G05237222Courtesy of © TOYOTA, LICENSE AGREEMENT TMS1002

      Standard resistance 

      TERMINAL SPECIFIED CONDITION

      Terminal No. Specified Condition
      3 - 5 10 kΩ or higher
      3 - 5 Below 1 Ω (when battery voltage is applied to terminals 1 and 2)

      If the result is not as specified, replace the relay.