lemon-mirror:
Home >> Toyota >> 2007 >> Matrix Base, Automatic >> Repair and Diagnosis >> Electrical >> Charging Systems >> Charging System (1ZZ-FE) >> Generator >> Inspection

Charging System (1ZZ-FE): Generator: Inspection

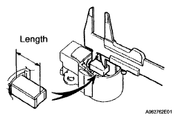
  1. INSPECT GENERATOR BRUSH HOLDER ASSEMBLY 
    1. Check the brush length.
      1. Using vernier calipers, measure the exposed brush length.

        Standard exposed brush length: 9.5 to 11.5 mm (0.374 to 0.453 in.) 

        Minimum exposed brush length: 4.5 mm (0.177 in.) 

        If the exposed brush length is less than minimum, replace the generator brush holder.

        Fig 1: Measuring Exposed Brush Length
        G05193501Courtesy of © TOYOTA, LICENSE AGREEMENT TMS1002
  2. INSPECT GENERATOR REGULATOR ASSEMBLY 
    1. Check the resistance.
      1. Using an ohmmeter, measure the resistance between terminals F and B.

        Standard resistance: When the positive and negative poles of terminals F and B are switched over, there is a resistance of below 1 Ω in one direction but 10 kΩ or higher in the other direction. 

        If the result is not as specified, replace the generator regulator.

        Fig 2: Measuring Resistance Between Terminals F And B
        G05193502Courtesy of © TOYOTA, LICENSE AGREEMENT TMS1002
      2. Using an ohmmeter, measure the resistance between terminals E and F.

        Standard resistance: When the positive and negative poles of terminals F and E are switched over, there is a resistance of below 1 Ω in one direction but 10 kΩ or higher in the other direction. 

        If the result is not as specified, replace the generator regulator.

        Fig 3: Measuring Resistance Between Terminals E And F
        G05193503Courtesy of © TOYOTA, LICENSE AGREEMENT TMS1002
  3. INSPECT GENERATOR HOLDER W/RECTIFIER 
    1. Check the resistance.
      1. Using an ohmmeter, measure the resistance between the positive (+) terminal and each rectifier terminal.

        Standard resistance: When the positive and negative poles of the positive (+) terminal and each rectifier terminal are switched over, there is a resistance of below 1 Ω in one direction but 10 kΩ or higher in the other direction. 

        If the result is not as specified, replace the generator holder with rectifier.

        Fig 4: Measuring Resistance Between Positive Terminal And Each Rectifier Terminal
        G05233745Courtesy of © TOYOTA, LICENSE AGREEMENT TMS1002
      2. Using an ohmmeter, measure the resistance between the negative (-) terminal and each rectifier terminal.

        Standard resistance: When the positive and negative poles of the negative (-) terminal and each rectifier terminal are switched over, there is a resistance of below 1 Ω in one direction but 10 kΩ or higher in the other direction. 

        If the result is not as specified, replace the generator holder with rectifier.

        Fig 5: Measuring Resistance Between Negative Terminal And Each Rectifier Terminal
        G05193505Courtesy of © TOYOTA, LICENSE AGREEMENT TMS1002
  4. INSPECT GENERATOR ROTOR ASSEMBLY 
    1. Check for roughness or wear.
      1. Check that the bearing is not rough or worn. If necessary, replace the bearing.
        Fig 6: Checking Bearing Roughness Or Wear
        G05193506Courtesy of © TOYOTA, LICENSE AGREEMENT TMS1002
    2. Check the resistance.
      1. Using an ohmmeter, measure the resistance between the slip rings.

        Standard resistance: 2.1 to 2.5 Ω at 20°C (68°F) 

        If the resistance is not as specified, replace the generator rotor.

        Fig 7: Measuring Resistance Between Slip Rings
        G05193507Courtesy of © TOYOTA, LICENSE AGREEMENT TMS1002
      2. Using an ohmmeter, measure the resistance between the slip ring and rotor.

        Standard resistance: 1 MΩ or higher 

        If the result is not as specified, replace the generator rotor shaft.

        Fig 8: Measuring Resistance Between Slip Ring And Rotor
        G05193508Courtesy of © TOYOTA, LICENSE AGREEMENT TMS1002
    3. Check the appearance.
      1. Check that the slip rings are not rough or scored.

        If rough or scored, replace the generator rotor.

    4. Inspect the slip ring diameter.
      1. Using vernier calipers, measure the slip ring diameter.

        Standard diameter: 14.2 to 14.4 mm (0.559 to 0.567 in.) 

        Minimum diameter: 14.0 mm (0.551 in.) 

        If the diameter is less than minimum, replace the generator rotor.

        Fig 9: Measuring Slip Ring Diameter
        G05193509Courtesy of © TOYOTA, LICENSE AGREEMENT TMS1002
  5. INSPECT GENERATOR RECTIFIER END FRAME 
    1. Check for roughness or wear.
      1. Check that the bearing is not rough or worn.

        If necessary, replace the bearing.

        Fig 10: Checking Bearing Roughness Or Wear
        G05193510Courtesy of © TOYOTA, LICENSE AGREEMENT TMS1002
    2. Check the resistance.
      1. Using an ohmmeter, measure the resistance between the coil wires.

        Standard resistance: Below 1 Ω 

        If the result is not as specified, replace the generator drive end frame.

        Fig 11: Measuring Resistance Between Coil Wires
        G05193511Courtesy of © TOYOTA, LICENSE AGREEMENT TMS1002
      2. Using an ohmmeter, measure the resistance between the coil wire and body.

        Standard resistance: 1 MΩ or higher 

        If the result is not as specified, replace the generator drive end frame.

        Fig 12: Measuring Resistance Between Coil Wire And Body
        G05193512Courtesy of © TOYOTA, LICENSE AGREEMENT TMS1002
  6. REMOVE GENERATOR ROTOR BEARING 
    1. Clamp the generator rotor in a vise.
    2. Using SST, remove the generator bearing cover (outside) and bearing.

      SST 09820-00021 

      NOTE: Be careful not to damage the fan.
    3. Remove the generator bearing cover (inside) from the generator rotor.
      Fig 13: Removing Generator Bearing Cover (Outside) And Bearing
      G05193513Courtesy of © TOYOTA, LICENSE AGREEMENT TMS1002
  7. INSTALL GENERATOR ROTOR BEARING 
    1. Place the generator rotor on the generator pulley.
    2. Install the generator bearing cover (inside) onto the generator rotor.
    3. Using SST and a press, push a new bearing in.

      SST 09820-00031 

      Fig 14: Identifying SST For Pressing Bearing
      G05193514Courtesy of © TOYOTA, LICENSE AGREEMENT TMS1002
    4. Using SST, push the generator bearing cover (outside) in.

      SST 09285-76010 

      Fig 15: Pushing Generator Bearing Cover (Outside) Using SST
      G05193515Courtesy of © TOYOTA, LICENSE AGREEMENT TMS1002
  8. REMOVE GENERATOR DRIVE END FRAME BEARING 
    1. Remove the 4 screws, then remove the retainer plate.
      Fig 16: Locating Retainer Plate Screws
      G05193516Courtesy of © TOYOTA, LICENSE AGREEMENT TMS1002
    2. Using SST and a press, push the bearing out.

      SST 09950-60010 (09951-00350), 09950-70010 (09951-07100) 

      Fig 17: Identifying SST For Pushing Bearing Out
      G05193517Courtesy of © TOYOTA, LICENSE AGREEMENT TMS1002
  9. INSTALL GENERATOR DRIVE END FRAME BEARING 
    1. Using SST and a press, push a new bearing in.

      SST 09950-60010 (09951-00530), 09950-70010 (09951-07100) 

      Fig 18: Pushing Bearing In Using SST
      G05193518Courtesy of © TOYOTA, LICENSE AGREEMENT TMS1002
    2. Install the retainer plate with the 4 screws.

      Torque: 3.0 N*m (31 kgf*cm, 27 in.*lbf) 

      Fig 19: Locating Retainer Plate Screws
      G05193516Courtesy of © TOYOTA, LICENSE AGREEMENT TMS1002