lemon-mirror:
Home >> Toyota >> 2007 >> Matrix Base, Automatic >> Repair and Diagnosis >> Suspension >> Wheel Alignment >> Suspension System >> Front Shock Absorber >> Disposal

Front Shock Absorber: Disposal

  1. DISPOSE OF FRONT SHOCK ABSORBER 
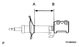
    1. Fully extend the front shock absorber rod.
    2. Using a drill, make a hole in the cylinder between A and B as shown in the illustration to discharge the gas inside.
      CAUTION:
      • Be careful when drilling because shards of metal may fly about, so always use proper safety equipment.
      • The gas is colorless, odorless, and non-poisonous.
        Fig 1: Measuring To Drill Hole In Cylinder Between A And B
        G05194650Courtesy of © TOYOTA, LICENSE AGREEMENT TMS1002