lemon-mirror:
Home >> Toyota >> 2007 >> Matrix Base, Automatic >> Repair and Diagnosis >> Suspension >> Wheel Alignment >> Suspension System >> Front Shock Absorber >> Removal

Front Shock Absorber: Removal

  1. REMOVE FRONT WHEEL 
  2. DISCONNECT FRONT STABILIZER LINK ASSEMBLY LH 
    1. Remove the nut and disconnect the front stabilizer link assembly LH from the shock absorber assembly front LH.

      HINT:

      If the ball joint turns together with the nut, use a hexagon (6 mm) wrench to hold the stud.

      Fig 1: Disconnecting Front Stabilizer Link With Nut
      G05234988Courtesy of © TOYOTA, LICENSE AGREEMENT TMS1002
  3. DISCONNECT FRONT FLEXIBLE HOSE 
    1. with ABS:

      Remove the bolt, disconnect the front flexible hose No. 1 and speed sensor front LH.

    2. without ABS:

      Remove the bolt, disconnect the front flexible hose.

      Fig 2: Locating Front Flexible Hose Bolts
      G05194634Courtesy of © TOYOTA, LICENSE AGREEMENT TMS1002
  4. REMOVE FRONT SHOCK ABSORBER WITH COIL SPRING 
    1. Remove the 2 bolts and nuts on the lower side of the shock absorber assembly front LH.
      NOTE: When removing the bolt, stop the bolt from rotating and loosen the nut.
      Fig 3: Locating Shock Absorber Assembly Front LH Bolts And Nuts
      G05194635Courtesy of © TOYOTA, LICENSE AGREEMENT TMS1002
    2. Remove the 3 nuts on the upper side of the shock absorber assembly front LH.
    3. Remove the front shock absorber with the coil spring.
      Fig 4: Locating Upper Side Of Shock Absorber Assembly Front LH Nuts
      G05194636Courtesy of © TOYOTA, LICENSE AGREEMENT TMS1002
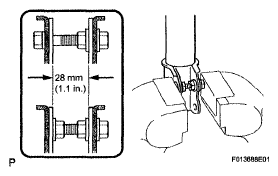
  5. FIX FRONT SHOCK ABSORBER WITH COIL SPRING 
    1. Install 2 nuts and a bolt to the bracket at the lower side of the shock absorber assembly front LH and secure it in a vise.
      Fig 5: Installing Nuts/Bolts To Secure Shock Absorber Assembly In Vise
      G05194637Courtesy of © TOYOTA, LICENSE AGREEMENT TMS1002
  6. REMOVE SHOCK ABSORBER ASSEMBLY FRONT LH 
    1. Remove the front suspension support dust cover LH from the front suspension support sub-assembly LH.
    2. Using SST, compress the front coil spring LH.

      SST 09727-30021 

      NOTE: Do not use an impact wrench. It will damage the SST.
      Fig 6: Compressing Front Coil Spring LH Using SST
      G05194638Courtesy of © TOYOTA, LICENSE AGREEMENT TMS1002
    3. Using SST to hold the front coil spring seat upper LH, remove the nut.

      SST 09729-22031 

    4. Remove the front suspension support sub-assembly LH, front suspension support LH dust seal, front coil spring seat upper LH, front coil spring insulator upper LH, front coil spring LH, front spring bumper LH and front coil spring insulator lower LH.
      Fig 7: Removing Nut Using SST
      G05234994Courtesy of © TOYOTA, LICENSE AGREEMENT TMS1002