lemon-mirror:
Home >> Toyota >> 2007 >> Matrix Base, Automatic >> Repair and Diagnosis >> Transmission >> Automatic Trans >> Automatic Transmission - A246E >> Automatic Transaxle Unit >> Disassembly

Automatic Transaxle Unit: Disassembly

  1. REMOVE BREATHER PLUG HOSE 
  2. REMOVE BREATHER PLUG NO.1 (ATM) 
    1. Remove the breather plug No. 1 and O-ring from the transaxle case.
  3. REMOVE TRANSAXLE CASE NO.1 PLUG 
    1. Remove the transaxle case No. 1 plug and O-ring from the transaxle case.
  4. REMOVE TRANSMISSION CONTROL SHAFT LEVER 
    1. Remove the nut, washer and transmission control shaft lever.
    2. Fig 1: Identifying Washer And Transmission Control Shaft Lever Nut
      G05193747Courtesy of © TOYOTA, LICENSE AGREEMENT TMS1002
  5. REMOVE PARK/NEUTRAL POSITION SWITCH ASSEMBLY 
    1. Pry off the lock washer and remove the nut.
    2. Remove the 2 bolts and pull out the park / neutral position switch assembly.
  6. REMOVE OIL COOLER TUBE UNION 
    1. Remove the 2 oil cooler tube unions.
    2. Remove the 2 O-rings from the 2 oil cooler tube unions.
      Fig 2: Identifying Oil Cooler Tube Unions
      G05193748Courtesy of © TOYOTA, LICENSE AGREEMENT TMS1002
  7. REMOVE AUTOMATIC TRANSAXLE OIL PAN SUB-ASSEMBLY 
    1. Remove the 18 bolts.
    2. Fig 3: Identifying Automatic Transaxle Oil Sub-Assembly Pan Bolts
      G05193749Courtesy of © TOYOTA, LICENSE AGREEMENT TMS1002
    3. Remove the automatic transaxle oil pan sub-assembly by lifting the transaxle case.
      NOTE: Do not turn the transaxle over as it will contaminate the valve body with the foreign materials from the bottom of the pan.
    4. Remove the automatic transaxle oil pan gasket.
    5. Place the transaxle on wooden blocks to prevent damage to the pipes.
  8. INSPECT AUTOMATIC TRANSAXLE OIL PAN SUB-ASSEMBLY 
  9. FIX AUTOMATIC TRANSAXLE ASSEMBLY 
    1. Place automatic transaxle assembly on wooden blocks.
  10. REMOVE VALVE BODY OIL STRAINER ASSEMBLY 
    1. Remove the 3 bolts and valve body oil strainer assembly and oil strainer gasket.
      Fig 4: Locating Valve Body Oil Strainer Assembly Bolts
      G05193750Courtesy of © TOYOTA, LICENSE AGREEMENT TMS1002
  11. REMOVE MANUAL DETENT SPRING SUB-ASSEMBLY 
    1. Remove the bolt, manual detent spring sub-assembly and manual detent spring cover.
      Fig 5: Locating Manual Detent Spring Sub-Assembly Bolt
      G05193751Courtesy of © TOYOTA, LICENSE AGREEMENT TMS1002
  12. REMOVE TRANSMISSION VALVE BODY ASSEMBLY 
    1. Disconnect the solenoid connectors.
      Fig 6: Locating Solenoid Connectors
      G05193752Courtesy of © TOYOTA, LICENSE AGREEMENT TMS1002
    2. Remove the 17 bolts.
      Fig 7: Locating Transmission Valve Body Assembly Bolts
      G05193753Courtesy of © TOYOTA, LICENSE AGREEMENT TMS1002
    3. Disconnect the manual valve connecting rod from the manual valve lever sub-assembly, then remove the transmission valve body assembly.
      Fig 8: Disconnecting Manual Valve Connecting Rod
      G05234098Courtesy of © TOYOTA, LICENSE AGREEMENT TMS1002
  13. REMOVE TRANSMISSION WIRE 
    1. Remove the bolt.
      Fig 9: Locating Transmission Wire Bolt
      G05193755Courtesy of © TOYOTA, LICENSE AGREEMENT TMS1002
    2. Remove the transmission wire from the transaxle case.
    3. Remove the O-ring from the transmission wire.
      Fig 10: Identifying Transmission Wire
      G05193756Courtesy of © TOYOTA, LICENSE AGREEMENT TMS1002
  14. REMOVE CHECK BALL BODY 
    1. Remove the check ball body and compression spring from the transaxle case.
      Fig 11: Identifying Check Ball Body And Compression Spring
      G05193757Courtesy of © TOYOTA, LICENSE AGREEMENT TMS1002
  15. REMOVE GOVERNOR APPLY GASKET NO.1 
    1. Remove the governor apply gasket No. 1 from the transaxle case.
      Fig 12: Removing Governor Apply Gasket From Transaxle Case
      G05193758Courtesy of © TOYOTA, LICENSE AGREEMENT TMS1002
  16. REMOVE BRAKE DRUM GASKET 
    1. Using needle-nose pliers, pull out the brake drum gasket from the transaxle case.
      Fig 13: Pulling Out Brake Drum Gasket From Transaxle Case
      G05193759Courtesy of © TOYOTA, LICENSE AGREEMENT TMS1002
  17. REMOVE B-2 ACCUMULATOR PISTON 
    1. Using low-pressure compressed air (98 kPa, 1 kgf/2 , 14 psi), pop out the B-2 accumulator piston into a rag and remove the compression spring.
    2. Remove the 2 O-rings from the B-2 accumulator piston.
      Fig 14: Removing B-2 Accumulator Piston
      G05193760Courtesy of © TOYOTA, LICENSE AGREEMENT TMS1002
  18. REMOVE C-2 ACCUMULATOR PISTON 
    1. Using low-pressure compressed air (98 kPa, 1 kgf/2 , 14 psi), pop out the C-2 accumulator piston into a rag and remove the compression spring.
    2. Remove the 2 O-rings from the C-2 accumulator piston.
      Fig 15: Removing C-2 Accumulator Piston
      G05193761Courtesy of © TOYOTA, LICENSE AGREEMENT TMS1002
  19. REMOVE C-1 ACCUMULATOR PISTON 
    1. Using low-pressure compressed air (98 kPa, 1 kgf/ 2 , 14 psi), pop out the C-1 accumulator piston into a rag and remove the compression spring.
    2. Remove the 2 O-rings from the C-1 accumulator piston.
      Fig 16: Removing C-1 Accumulator Piston
      G05193762Courtesy of © TOYOTA, LICENSE AGREEMENT TMS1002
  20. REMOVE C-3 ACCUMULATOR PISTON 
    1. Using low-pressure compressed air (98 kPa, 1 kgf/2 , 14 psi), pop out the C-3 accumulator piston into a rag and remove the 2 compression springs.
    2. Remove the 2 O-rings from the C-3 accumulator piston.
      Fig 17: Removing C-3 Accumulator Piston
      G05234107Courtesy of © TOYOTA, LICENSE AGREEMENT TMS1002
  21. REMOVE MANUAL VALVE LEVER SHAFT 
    1. Using a screwdriver and hammer, unstake the spacer and remove it.
      Fig 18: Unstaking Spacer
      G05193764Courtesy of © TOYOTA, LICENSE AGREEMENT TMS1002
    2. Using a pin punch and hammer, drive out the slotted spring pin.

      HINT:

      Drive out the spring pin slowly so that it will not fall into the transaxle case.

      Fig 19: Driving Out Slotted Spring Pin
      G05193970Courtesy of © TOYOTA, LICENSE AGREEMENT TMS1002
    3. Remove the retainer spring.
    4. Remove the parking lock rod sub-assembly from the manual valve lever sub-assembly.
      Fig 20: Removing Retainer Spring
      G05193766Courtesy of © TOYOTA, LICENSE AGREEMENT TMS1002
    5. Slide out the manual valve lever shaft and remove the manual valve lever sub-assembly and washer plate.
      Fig 21: Removing Manual Valve Lever Sub-Assembly And Washer Plate
      G05193968Courtesy of © TOYOTA, LICENSE AGREEMENT TMS1002
    6. Using a screwdriver, remove the manual valve lever shaft oil seal.
      Fig 22: Removing Manual Valve Lever Shaft Oil Seal
      G05193768Courtesy of © TOYOTA, LICENSE AGREEMENT TMS1002
  22. REMOVE TRANSAXLE HOUSING 
    1. Remove the 17 bolts and transaxle housing.
      Fig 23: Identifying Transaxle Housing Bolts
      G05234113Courtesy of © TOYOTA, LICENSE AGREEMENT TMS1002
  23. REMOVE FRONT DIFFERENTIAL ASSEMBLY 
    1. Remove the front differential assembly from the transaxle case.
    2. Fig 24: Removing Front Differential Assembly From Transaxle Case
      G05193770Courtesy of © TOYOTA, LICENSE AGREEMENT TMS1002
  24. REMOVE TRANSMISSION CASE PLATE NO.1 
    1. Remove the bolt and transmission case plate No. 1 from the transaxle case.
  25. REMOVE GOVERNOR APPLY GASKET NO.2 
    1. Remove the governor apply gasket No. 2 from the transaxle case.
      Fig 25: Removing Governor Apply Gasket From Transaxle Case
      G05193771Courtesy of © TOYOTA, LICENSE AGREEMENT TMS1002
  26. REMOVE OIL PUMP ASSEMBLY 
    1. Remove the 6 bolts and holding the oil pump assembly from the transaxle case.
      Fig 26: Locating Oil Pump Assembly Bolts
      G05193772Courtesy of © TOYOTA, LICENSE AGREEMENT TMS1002
    2. Pill out the oil pump assembly from the transaxle case.
      Fig 27: Pulling Out Oil Pump Assembly From Transaxle Case
      G05193773Courtesy of © TOYOTA, LICENSE AGREEMENT TMS1002
    3. Using a screwdriver, remove the O-ring from the oil pump assembly.
      Fig 28: Removing O-Ring From Oil Pump Assembly
      G05193774Courtesy of © TOYOTA, LICENSE AGREEMENT TMS1002
  27. REMOVE TRANSAXLE APPLY TUBE CLAMP NO.3 
    1. Remove the bolt and transaxle apply tube clamp No. 3 from the transaxle case.
      Fig 29: Removing Transaxle Apply Tube Clamp Bolt
      G05193775Courtesy of © TOYOTA, LICENSE AGREEMENT TMS1002
  28. REMOVE GOVERNOR PRESSURE TUBE 
    1. Using a screwdriver, remove the governor pressure tube from the transaxle case.

      HINT:

      Tape the screwdriver tip before use.

      NOTE: Be careful not to bend or damage the tube.
    2. Fig 30: Removing Governor Pressure Tube From Transaxle Case
      G05193776Courtesy of © TOYOTA, LICENSE AGREEMENT TMS1002
  29. INSPECT PISTON STROKE OF 2ND COAST BRAKE (See  INSPECTION   ) 
  30. REMOVE 2ND COAST BRAKE PISTON 
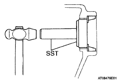
    1. Using SST, remove the snap ring.

      SST 09350-32014 (09351-32050) 

      Fig 31: Removing Snap Ring
      G05193777Courtesy of © TOYOTA, LICENSE AGREEMENT TMS1002
    2. Using low-pressure compressed air (98 kPa, 1 kgf/ 2 , 14 psi), pop out the cover into a rag.
      Fig 32: Applying Low-Pressure Compressed Air
      G05193778Courtesy of © TOYOTA, LICENSE AGREEMENT TMS1002
    3. Remove the 2nd coast brake cover, 2nd coast brake piston and compression spring.
    4. Remove the 2 O-rings from the 2nd coast brake cover.
      Fig 33: Identifying 2nd Coast Brake Cover, 2nd Coast Brake Piston And Compression Spring
      G05193779Courtesy of © TOYOTA, LICENSE AGREEMENT TMS1002
  31. REMOVE INPUT SHAFT ASSEMBLY 
    1. Remove the direct clutch with the forward clutch from the case.
      Fig 34: Removing Direct Clutch With Forward Clutch From Case
      G05193846Courtesy of © TOYOTA, LICENSE AGREEMENT TMS1002
    2. Remove the direct clutch from the forward clutch.
      Fig 35: Removing Direct Clutch From Forward Clutch
      G05234125Courtesy of © TOYOTA, LICENSE AGREEMENT TMS1002
    3. Remove the clutch drum thrust washer and 2 thrust needle roller bearing from the forward clutch.
      Fig 36: Identifying Clutch Drum Thrust Washer And Thrust Needle Roller Bearing
      G05193782Courtesy of © TOYOTA, LICENSE AGREEMENT TMS1002
  32. REMOVE 2ND COAST BRAKE BAND ASSEMBLY 
    1. Pull out the pin.
    2. Fig 37: Pulling Out Pin
      G05193783Courtesy of © TOYOTA, LICENSE AGREEMENT TMS1002
    3. Remove the 2nd coast brake band assembly from the transaxle case.
  33. INSPECT 2ND COAST BRAKE BAND ASSEMBLY (See  INSPECTION   ) 
  34. REMOVE FRONT PLANETARY RING GEAR 
    1. Remove the front planetary ring gear from the transaxle case.
      Fig 38: Removing Front Planetary Ring Gear From Transaxle Case
      G05193784Courtesy of © TOYOTA, LICENSE AGREEMENT TMS1002
    2. Remove the thrust needle roller bearing and thrust bearing race from the front planetary ring gear.
      Fig 39: Removing Thrust Needle Roller Bearing And Thrust Bearing Race From Front Planetary Ring Gear
      G05234129Courtesy of © TOYOTA, LICENSE AGREEMENT TMS1002
  35. REMOVE FRONT PLANETARY GEAR ASSEMBLY 
    1. Remove the front planetary gear assembly with the thrust needle roller bearing and thrust bearing race from the transaxle case.
      Fig 40: Removing Front Planetary Gear Assembly
      G05193786Courtesy of © TOYOTA, LICENSE AGREEMENT TMS1002
    2. Remove the thrust needle roller bearing and thrust bearing race from the front planetary gear assembly.
    3. Fig 41: Identifying Thrust Needle Roller Bearing And Thrust Bearing Race
      G05193787Courtesy of © TOYOTA, LICENSE AGREEMENT TMS1002
  36. INSPECT FRONT PLANETARY GEAR ASSEMBLY (See  INSPECTION   ) 
  37. REMOVE SUN GEAR INPUT DRUM ASSEMBLY 
    1. Remove the planetary sun gear sub-assembly with the sun gear input drum and planetary thrust washer No. 3 from the transaxle case.
      Fig 42: Removing Planetary Sun Gear Sub-Assembly
      G05193788Courtesy of © TOYOTA, LICENSE AGREEMENT TMS1002
  38. REMOVE 1 WAY CLUTCH ASSEMBLY 
    1. Remove the 1 way clutch assembly from the transaxle case.
    2. Fig 43: Removing 1 Way Clutch Assembly From Transaxle Case
      G05193789Courtesy of © TOYOTA, LICENSE AGREEMENT TMS1002
  39. INSPECT 1 WAY CLUTCH ASSEMBLY (See  INSPECTION   ) 
  40. INSPECT 2ND BRAKE PISTON (See  INSPECTION   ) 
  41. REMOVE 2ND COAST BRAKE BAND GUIDE PLATE 
    1. Remove the bolt and brake band guide plate retainer and 2nd coast brake band guide plate from the transaxle case.
      Fig 44: Removing 2nd Coast Brake Band Guide Plate
      G05193790Courtesy of © TOYOTA, LICENSE AGREEMENT TMS1002
  42. REMOVE SECOND BRAKE PISTON ASSEMBLY 
    1. Using a screwdriver, remove the snap ring from the transaxle case.

      HINT:

      Tape the screwdriver tip before use.

      Fig 45: Removing Snap Ring
      G05193791Courtesy of © TOYOTA, LICENSE AGREEMENT TMS1002
    2. Remove the 2nd brake piston assembly from the transaxle case.

      HINT:

      If the brake drum is difficult to remove, lightly tap it with a wooden block.

      Fig 46: Removing 2nd Brake Piston Assembly From Transaxle Case
      G05193792Courtesy of © TOYOTA, LICENSE AGREEMENT TMS1002
  43. REMOVE 2ND BRAKE PISTON RETURN SPRING SUB-ASSEMBLY 
    1. Remove the 2nd brake piston return spring sub-assembly from the transaxle case.
      Fig 47: Removing 2nd Brake Piston Return Spring From Transaxle Case
      G05193793Courtesy of © TOYOTA, LICENSE AGREEMENT TMS1002
  44. REMOVE 2ND BRAKE CLUTCH DISC 
    1. Remove the 3 plates, 3 2nd brake clutch discs and flange from the transaxle case.
    2. Fig 48: Removing 2nd Brake Clutch Disc
      G05193794Courtesy of © TOYOTA, LICENSE AGREEMENT TMS1002
  45. INSPECT 2ND BRAKE CLUTCH DISC (See  INSPECTION   ) 
  46. REMOVE REAR PLANETARY GEAR ASSEMBLY 
    1. Using 2 screwdrivers, remove the snap ring from the transaxle case.

      HINT:

      Tape the screwdriver tip before use.

      Fig 49: Removing Snap Ring From Transaxle Case
      G05193795Courtesy of © TOYOTA, LICENSE AGREEMENT TMS1002
    2. Remove the 1 way clutch No. 2 assembly and rear planetary gear assembly with the 2 planetary carrier thrust washer No. 2s from the transaxle case.
      Fig 50: Removing 1 Way Clutch No 2 Assembly And Rear Planetary Gear Assembly
      G05193796Courtesy of © TOYOTA, LICENSE AGREEMENT TMS1002
    3. Remove the 2 planetary carrier thrust washer No. 2s from the rear planetary gear assembly.
    4. Fig 51: Identifying Planetary Carrier Thrust Washers
      G05193797Courtesy of © TOYOTA, LICENSE AGREEMENT TMS1002
    5. Remove the 1 way clutch No. 2 assembly from the rear planetary gear assembly.
    6. Remove the thrust needle roller bearing and thrust bearing race from the transaxle case.
    7. Fig 52: Removing Thrust Needle Roller Bearing And Thrust Bearing Race From Transaxle Case
      G05193925Courtesy of © TOYOTA, LICENSE AGREEMENT TMS1002
  47. INSPECT REAR PLANETARY GEAR ASSEMBLY (See  INSPECTION   ) 
  48. INSPECT PACK CLEARANCE OF FIRST AND REVERSE BRAKE (See  INSPECTION   ) 
  49. REMOVE 1ST AND REVERSE BRAKE CLUTCH DISC 
    1. Using a screwdriver, remove the snap ring from the transaxle case.

      HINT:

      Tape the screwdriver tip before use.

      Fig 53: Removing Snap Ring From Transaxle Case
      G05193799Courtesy of © TOYOTA, LICENSE AGREEMENT TMS1002
    2. Remove the flange, 6 plates and 6 1st & reverse brake clutch discs from the transaxle case.
    3. Fig 54: Identifying Flange, Plates And 1st & Reverse Brake Clutch Discs
      G05193800Courtesy of © TOYOTA, LICENSE AGREEMENT TMS1002
  50. INSPECT 1ST AND REVERSE BRAKE CLUTCH DISC (See  INSPECTION   ) 
  51. REMOVE 1ST AND REVERSE BRAKE RETURN SPRING SUB-ASSEMBLY 
    1. Using SST and a press, in the return spring until the snap ring is free from the return spring.

      SST 09350-32014 (09351-32040) 

      Fig 55: Pressing Return Spring
      G05193801Courtesy of © TOYOTA, LICENSE AGREEMENT TMS1002
    2. Using snap ring pliers, remove the snap ring.
    3. Fig 56: Identifying Snap Ring
      G05193802Courtesy of © TOYOTA, LICENSE AGREEMENT TMS1002
    4. Remove the 1st & reverse brake return spring sub-assembly from the transaxle case.
  52. REMOVE 1ST AND REVERSE BRAKE PISTON 
    1. Apply compressed air into the oil passage of the case to remove the 1st & reverse brake piston.

      HINT:

      Hold the 1st and reverse piston so it is not slant and blow with the gun slightly away from the oil hole.

    2. If the 1st & reverse piston does not pop out with compressed air, use needle-nose pliers to remove it.
      Fig 57: Removing 1st And Reverse Brake Piston
      G05234147Courtesy of © TOYOTA, LICENSE AGREEMENT TMS1002
    3. Using a screwdriver, remove the 2 O-rings from the 1st & reverse brake piston.
      Fig 58: Removing O-Rings From 1st And Reverse Brake Piston
      G05193804Courtesy of © TOYOTA, LICENSE AGREEMENT TMS1002
  53. REMOVE TRANSMISSION CASE COVER REAR 
    1. Remove the 13 bolts from the transaxle case.
      Fig 59: Identifying Transmission Case Bolts
      G05193805Courtesy of © TOYOTA, LICENSE AGREEMENT TMS1002
    2. Tap off the circumference of the transmission case cover rear with a plastic hammer to remove the rear case from the transaxle case, and remove the transmission case cover rear.
      Fig 60: Taping Off Circumference Of Transmission Case Cover
      G05193806Courtesy of © TOYOTA, LICENSE AGREEMENT TMS1002
  54. REMOVE INTERMEDIATE SHAFT SUB-ASSEMBLY 
    1. Using a chisel and hammer, unstake the counter drive gear nut.
      Fig 61: Unstaking Counter Drive Gear Nut
      G05193807Courtesy of © TOYOTA, LICENSE AGREEMENT TMS1002
    2. Using SST, remove the counter drive gear nut.

      SST 09330-00021, 09350-32014 (09351-32032) 

      Fig 62: Removing Counter Drive Gear Nut
      G05193808Courtesy of © TOYOTA, LICENSE AGREEMENT TMS1002
    3. Remove the intermediate shaft sub-assembly from the transaxle case.
      Fig 63: Removing Intermediate Shaft Sub-Assembly From Transaxle Case
      G05193910Courtesy of © TOYOTA, LICENSE AGREEMENT TMS1002
  55. REMOVE COUNTER DRIVE GEAR 
    1. Using SST and a press, remove the counter drive gear from the transaxle case.

      SST 09950-60010 (09951-00380), 09950-70010 (09951-07100) 

      Fig 64: Removing Counter Drive Gear From Transaxle Case
      G05193810Courtesy of © TOYOTA, LICENSE AGREEMENT TMS1002
  56. REMOVE COUNTER DRIVE GEAR BEARING 
    1. Remove the snap ring from the counter drive gear bearing.
    2. Remove the counter drive gear bearing from the counter drive gear.
  57. REMOVE COUNTER DRIVEN GEAR 
    1. Using a chisel and hammer, unstake the counter driven gear nut.
      Fig 65: Unstaking Counter Driven Gear Nut
      G05234155Courtesy of © TOYOTA, LICENSE AGREEMENT TMS1002
    2. Using SST to hold the counter shaft assembly, remove the counter driven gear nut on the counter driven gear side.

      SST 09350-32014 (09351-32170) 

      Fig 66: Removing Counter Driven Gear Nut
      G05193812Courtesy of © TOYOTA, LICENSE AGREEMENT TMS1002
    3. Using SST, remove the counter driven gear.

      SST 09350-32014 (09351-32170), 09330-00021 (09351-32032) 

      Fig 67: Removing Counter Driven Gear
      G05193813Courtesy of © TOYOTA, LICENSE AGREEMENT TMS1002
    4. Remove the thrust needle roller bearing from the transaxle case.
      Fig 68: Identifying Thrust Needle Roller Bearing
      G05234158Courtesy of © TOYOTA, LICENSE AGREEMENT TMS1002
  58. REMOVE COUNTER SHAFT ASSEMBLY 
    1. Pull out the counter shaft assembly from the transaxle case.
      Fig 69: Pulling Out Counter Shaft Assembly From Transaxle Case
      G05193815Courtesy of © TOYOTA, LICENSE AGREEMENT TMS1002
    2. Remove the thrust needle roller bearing from the counter shaft assembly.
    3. Fig 70: Removing Thrust Needle Roller Bearing From Counter Shaft Assembly
      G05193816Courtesy of © TOYOTA, LICENSE AGREEMENT TMS1002
  59. INSPECT PISTON STROKE OF UNDERDRIVE CLUTCH (See  INSPECTION   ) 
  60. REMOVE UNDERDRIVE CLUTCH ASSEMBLY 
    1. Remove the underdrive clutch assembly from the transaxle case.
    2. Fig 71: Removing Underdrive Clutch Assembly From Transaxle Case
      G05193817Courtesy of © TOYOTA, LICENSE AGREEMENT TMS1002
  61. REMOVE UNDERDRIVE 1 WAY CLUTCH RETAINER 
    1. Remove the underdrive 1 way clutch retainer from the transaxle case.
  62. INSPECT UNDERDRIVE 1 WAY CLUTCH ASSEMBLY (See  INSPECTION   ) 
  63. REMOVE UNDERDRIVE 1 WAY CLUTCH ASSEMBLY 
    1. Remove the underdrive 1 way clutch assembly and underdrive clutch drum thrust washer from the underdrive clutch drum sub-assembly.
      Fig 72: Removing Underdrive 1 Way Clutch Assembly And Underdrive Clutch Drum Thrust Washer
      G05193818Courtesy of © TOYOTA, LICENSE AGREEMENT TMS1002
  64. REMOVE OVERDRIVE CLUTCH DRUM OIL SEAL RING 
    1. Remove the 2 overdrive clutch drum oil seal rings from the transaxle case.
    2. Fig 73: Removing Overdrive Clutch Drum Oil Seal Rings From Transaxle Case
      G05193901Courtesy of © TOYOTA, LICENSE AGREEMENT TMS1002
  65. INSPECT PACK CLEARANCE OF UNDERDRIVE BRAKE (See  INSPECTION   ) 
  66. REMOVE UNDERDRIVE CLUTCH DISC NO.2 
    1. Using SST and a press, press in the flange until the snap ring is free from the flange.

      SST 09350-32014 (09351-32070) 

      Fig 74: Pressing In Flange Until Snap Ring Is Free
      G05234164Courtesy of © TOYOTA, LICENSE AGREEMENT TMS1002
    2. Using a screwdriver, remove the underdrive clutch flange No. 2 hole snap ring from the transaxle case.
    3. Remove the flange, 3 plates and 3 underdrive clutch discs No. 2.
    4. Fig 75: Identifying Flange, Plates And Underdrive Clutch Discs
      G05193821Courtesy of © TOYOTA, LICENSE AGREEMENT TMS1002
  67. INSPECT UNDERDRIVE CLUTCH DISC NO.2 (See  INSPECTION   ) 
  68. REMOVE UNDERDRIVE BRAKE RETURN SPRING SUB-ASSEMBLY 
    1. Remove the underdrive brake return spring sub-assembly from the transaxle case.
      Fig 76: Identifying Underdrive Brake Return Spring
      G05193898Courtesy of © TOYOTA, LICENSE AGREEMENT TMS1002
  69. REMOVE UNDERDRIVE BRAKE PISTON 
    1. Using low-pressure compressed air (98 kPa, 1 kgf/2 , 14 psi), pop out the underdrive brake piston into a rag.
      Fig 77: Removing Underdrive Brake Piston
      G05193823Courtesy of © TOYOTA, LICENSE AGREEMENT TMS1002
    2. Using a screwdriver, remove the 2 O-rings from the underdrive brake piston.
      Fig 78: Removing O-Rings From Underdrive Brake Piston
      G05193824Courtesy of © TOYOTA, LICENSE AGREEMENT TMS1002
  70. REMOVE PARKING LOCK PAWL 
    1. Remove the 2 bolts, pawl stopper plate, torsion spring and spring guide sleeve from the transaxle case.
      Fig 79: Removing Pawl Stopper Plate Bolt
      G05193825Courtesy of © TOYOTA, LICENSE AGREEMENT TMS1002
    2. Remove the bolt and pawl shaft clamp from the transaxle case.
      Fig 80: Removing Pawl Shaft Clamp Bolt From Transaxle Case
      G05234170Courtesy of © TOYOTA, LICENSE AGREEMENT TMS1002
    3. Remove the parking lock pawl shaft and parking lock pawl from the transaxle case.
      Fig 81: Removing Parking Lock Pawl Shaft And Parking Lock Pawl From Transaxle Case
      G05193827Courtesy of © TOYOTA, LICENSE AGREEMENT TMS1002
  71. REMOVE PARKING LOCK SLEEVE 
    1. Remove the spring guide sleeve from the transaxle case.
      Fig 82: Removing Spring Guide Sleeve From Transaxle Case
      G05193828Courtesy of © TOYOTA, LICENSE AGREEMENT TMS1002
  72. REMOVE CAM GUIDE SLEEVE 
    1. Remove the cam guide sleeve from the transaxle case.
      Fig 83: Removing Cam Guide Sleeve From Transaxle Case
      G05193829Courtesy of © TOYOTA, LICENSE AGREEMENT TMS1002
  73. REMOVE B-4 ACCUMULATOR PISTON 
    1. Using a "TORX" wrench, remove the 7 screws.
      Fig 84: Removing Screws
      G05193830Courtesy of © TOYOTA, LICENSE AGREEMENT TMS1002
    2. Remove the 2 bolts.
    3. Remove the transmission case plate No. 2 and transmission case plate No. 2 gasket from the transaxle case.
      Fig 85: Removing Transmission Case Plate Bolts
      G05193831Courtesy of © TOYOTA, LICENSE AGREEMENT TMS1002
    4. Remove the B-4 accumulator piston and compression spring from the transaxle case.
    5. Fig 86: Removing B-4 Accumulator Piston And Compression Spring From Transaxle Case
      G05193832Courtesy of © TOYOTA, LICENSE AGREEMENT TMS1002
    6. Remove the O-ring from the B-4 accumulator piston.
  74. REMOVE TRANSMISSION CASE PLATE NO.3 
    1. Remove the bolt and transmission case plate No. 3 from the transaxle case.
  75. REMOVE COUNTER DRIVEN GEAR CYLINDRICAL ROLLER BEARING 
    1. Using SST, remove the counter driven gear cylindrical roller bearing from the transaxle case.

      SST 09308-00010 

      Fig 87: Removing Counter Driven Gear Cylindrical Roller Bearing From Transaxle Case
      G05193833Courtesy of © TOYOTA, LICENSE AGREEMENT TMS1002
  76. REMOVE TRANSAXLE APPLY TUBE CLAMP NO.1 
    1. Remove the 2 bolts and 2 transaxle apply tube clamps No. 1 from the transaxle housing.
    2. Fig 88: Removing Transaxle Apply Tube Clamp Bolt
      G05193834Courtesy of © TOYOTA, LICENSE AGREEMENT TMS1002
  77. REMOVE TRANSAXLE APPLY TUBE CLAMP NO.2 
    1. Remove the bolt and transaxle apply tube clamp No.2 from the transaxle housing.
  78. REMOVE TRANSMISSION LUBE APPLY TUBE 
    1. Using a screwdriver, remove the transmission lube apply tube from the transaxle housing.

      HINT:

      Tape the screwdriver tip before use.

      NOTE: Be careful not to bend or damage the tube.
      Fig 89: Removing Transmission Lube Apply Tube
      G05193835Courtesy of © TOYOTA, LICENSE AGREEMENT TMS1002
  79. REMOVE DIFFERENTIAL GEAR LUBE APPLY TUBE 
    1. Using a screwdriver, remove the differential gear lube apply tube transaxle housing.

      HINT:

      Tape the screwdriver tip before use.

      NOTE: Be careful not to bend or damage the tube.
  80. REMOVE UNDERDRIVE CYLINDRICAL ROLLER BEARING 
    1. Remove the bolt, seal washer and roller bearing retainer from the transaxle housing.
      Fig 90: Removing Roller Bearing Retainer Bolt
      G05193836Courtesy of © TOYOTA, LICENSE AGREEMENT TMS1002
    2. Using SST, remove the underdrive cylindrical roller bearing from the transaxle housing.

      SST 09308-00010 

      Fig 91: Removing Underdrive Cylindrical Roller Bearing From Transaxle Housing
      G05234181Courtesy of © TOYOTA, LICENSE AGREEMENT TMS1002
  81. REMOVE TRANSAXLE HOUSING OIL SEAL 
    1. Using a screwdriver, remove the transaxle housing oil seal from the transaxle housing.
      Fig 92: Removing Transaxle Housing Oil Seal From Transaxle Housing
      G05234182Courtesy of © TOYOTA, LICENSE AGREEMENT TMS1002
  82. REMOVE TRANSAXLE CASE OIL SEAL 
    1. Using a screwdriver, remove the transaxle case oil seal from the transaxle case.
      Fig 93: Removing Transaxle Case Oil Seal From Transaxle Case
      G05193839Courtesy of © TOYOTA, LICENSE AGREEMENT TMS1002
  83. REMOVE FRONT DRIVE PINION FRONT TAPERED ROLLER BEARING 
    1. Setting SST to the cut-out portion on the speedometer drive gear, remove the front drive pinion front tapered roller bearing from the differential case.

      SST 09950-40011 (09951-04010, 09952-04010, 09953-04030, 09954-04010, 09955-04061, 09957-04010, 09958-04011), 09950-60010 (09951-00340) 

      Fig 94: Removing Front Drive Pinion Front Tapered Roller Bearing
      G05193840Courtesy of © TOYOTA, LICENSE AGREEMENT TMS1002
    2. Remove the speedometer drive gear from the differential case.
    3. Using SST and a hammer, drive out the front drive pinion front tapered roller bearing outer race.

      SST 09350-32014 (09351-32090) 

      Fig 95: Taping Roller Bearing Outer Race
      G05234185Courtesy of © TOYOTA, LICENSE AGREEMENT TMS1002
  84. REMOVE FRONT DRIVE PINION REAR TAPERED ROLLER BEARING 
    1. Setting SST to the cut-out portion on the differential case, remove the front drive pinion rear tapered roller bearing from the differential case.

      SST 09950-40011 (09951-04010, 09952-04010, 09953-04030, 09954-04010, 09955-04061, 09957-04010, 09958-04011), 69950-60010 (09951-00410) 

      Fig 96: Removing Front Drive Pinion Rear Tapered Roller Bearing
      G05193842Courtesy of © TOYOTA, LICENSE AGREEMENT TMS1002
    2. Using SST and a hammer, drive out the front drive pinion rear tapered roller bearing outer race and plate washer.

      SST 09350-32014 (09351-32130, 09351-32150) 

      Fig 97: Taping Roller Bearing Outer Race And Plate Washer
      G05193843Courtesy of © TOYOTA, LICENSE AGREEMENT TMS1002
  85. BEARING POSITION 
    Fig 98: Identifying Bearing Position
    G05193844Courtesy of © TOYOTA, LICENSE AGREEMENT TMS1002
    BEARING SPECIFICATIONS

    Mark Front Race Diameter Inside / Outside mm (In.) Thrust Bearing Diameter Inside / Outside mm (in.) Rear Race Diameter Inside / Outside mm (In.)
    A 30.0 (1.181) / 41.8 (1.646) 31.0 (1.220) / 43.9 (1.728) -
    B - 31.0 (1.220) / 43.9 (1.728) -
    C - 41.0 (1.614) / 58.0 (2.283) -
    D - 30.7 (1.209) / 46.0 (1.811) or 30.7 (1.209) / 46.3 (1.823) or 30.7 (1.209) / 47.1 (1.854) -
    E - 25.8 (1.016) / 42.0 (1.654) 26.0 (1.024) / 39.5 (1.555)
    F - 22.0 (0.866) / 38.0 (1.496) 19.0 (0.748) / 35.0 (1.378)
    G - 28.1 (1.106) / 45.0 (1.772) -
    H 24.1 (0.949) / 37.6 (1.480) 22.1 (0.870) / 37.6 (1.480) -