lemon-mirror:
Home >> Toyota >> 2007 >> Matrix XR, Automatic >> Repair and Diagnosis >> Steering >> Steering Column >> Steering Column >> Steering System >> On-Vehicle Inspection

On-Vehicle Inspection

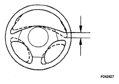
  1. CHECK STEERING WHEEL FREEPLAY 
    1. Stop the vehicle and face the tires straight ahead.
    2. Rock the steering wheel gently up and down by your hand, check the steering wheel freeplay.

      Maximum freeplay: 

      30 mm (1.18 in.) 

      Fig 1: Checking Steering Wheel Freeplay
      G05235516Courtesy of © TOYOTA, LICENSE AGREEMENT TMS1002