lemon-mirror:
Home >> Toyota >> 2007 >> Prius Base >> Repair and Diagnosis >> Body & Frame >> Windows >> Windshield/WINDOWGLASS >> Windshield Glass >> Installation

Windshield Glass: Installation

  1. INSTALL NO. 2 WINDSHIELD GLASS STOPPER 
    1. Apply Primer G to the glass where the stoppers will be installed.
      NOTE:
      • Allow the primer to dry for 3 minutes or more.
      • Throw away any leftover primer.
      • Do not apply too much primer.
    2. Install 2 new stoppers onto the glass as shown in Fig 1.
      Fig 1: Installing New Stoppers Onto Glass
      G04476787Courtesy of © TOYOTA, LICENSE AGREEMENT TMS1002

      Standard measurement 

      SPECIFIED CONDITION REFERENCE

      Area Specified Condition
      a 40.0 mm (1.575 in.)
      b 7.7 mm (0.303 in.)
      c 12.5 mm (0.492 in.)
  2. INSTALL NO. 1 WINDSHIELD GLASS STOPPER 
    1. Install 2 new stoppers to the vehicle body as shown in Fig 2.
      Fig 2: Installing New Stoppers To Vehicle Body
      G04476788Courtesy of © TOYOTA, LICENSE AGREEMENT TMS1002
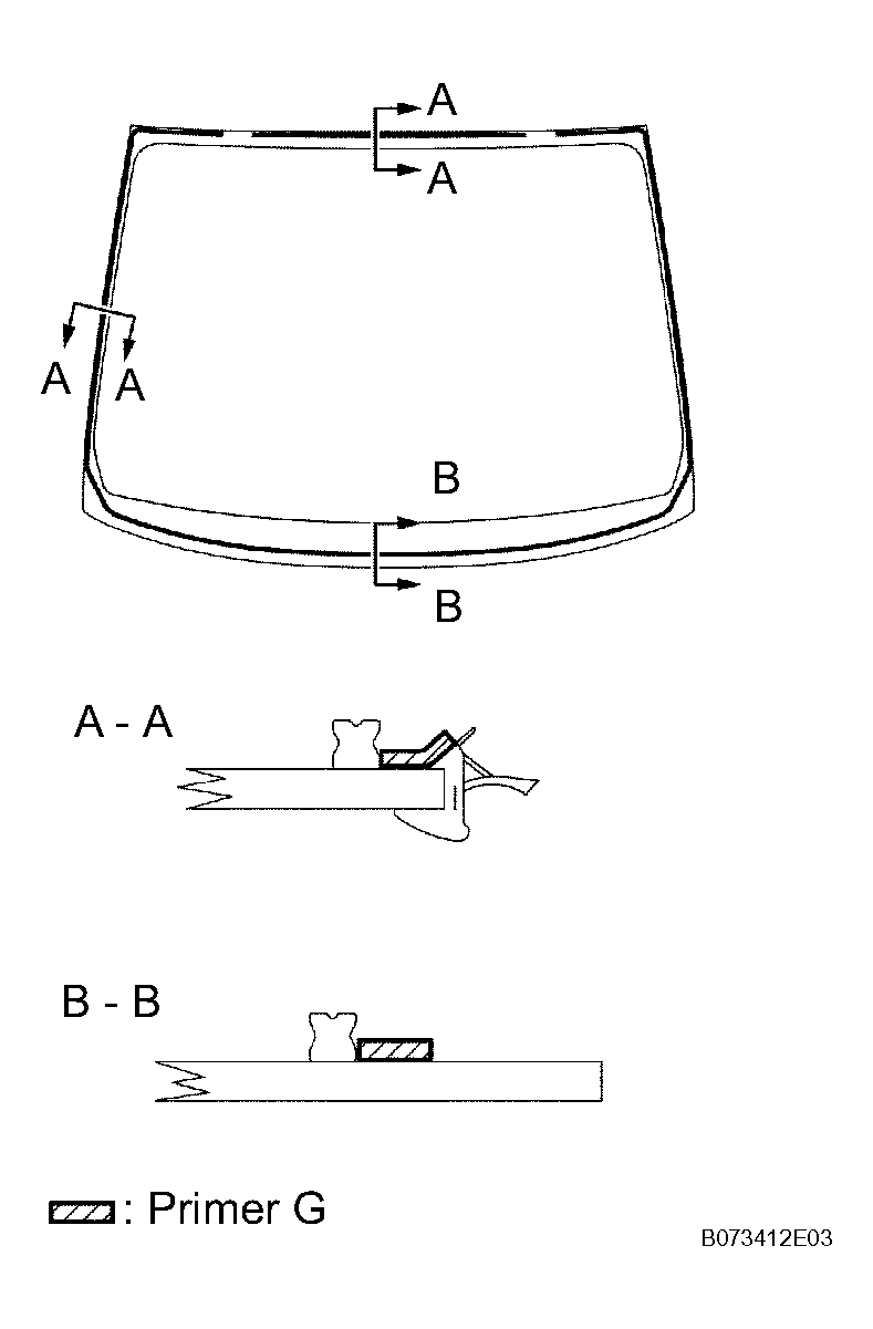
  3. INSTALL WINDOW GLASS ADHESIVE DAM 
    1. Apply Primer G to the glass where the glass adhesive dams will be installed.
      NOTE:
      • Allow the primer to dry for 3 minutes or more.
      • Throw away any leftover primer.
      • Do not apply too much primer.
    2. Remove the peeling paper from the adhesive part of the dam. Install the dam (adhesive side) to the glass (Primer G area), but exclude the spacer area A as shown in Fig 3.
      Fig 3: Installing Dam (Adhesive Side) To Glass
      G04476789Courtesy of © TOYOTA, LICENSE AGREEMENT TMS1002

      Standard measurement 

      SPECIFIED CONDITION REFERENCE

      Area Specified Condition
      a 7.0 mm (0.276 in.)
      b 27.5 mm (1.083 in.)
  4. INSTALL WINDSHIELD GLASS 
    1. Position the glass.
      1. Using suction cups, place the glass in the correct position.
      2. Check that the entire contact surface of the glass rim is perfectly even.
      3. Place matchmarks on the glass and vehicle body on the locations indicated in Fig 4.

        HINT:

        • Placing matchmarks is only necessary when installing new glass. If it is the reused glass, matchmarks should already be present.
          Fig 4: Installing Windshield Glass
          G04476790Courtesy of © TOYOTA, LICENSE AGREEMENT TMS1002
        • When reusing the glass, check and correct the matchmark positions.
        NOTE: Check that the stoppers are attached to the vehicle body correctly.
      4. Using suction cups, remove the glass.
    2. Using a brush, apply Primer M to the exposed part of the vehicle body.
      NOTE:
      • Allow the primer to dry for 3 minutes or more.
      • Do not apply primer to the adhesive.
      • Throw away any leftover primer.
      • Do not apply too much primer.
        Fig 5: Applying Primer M To Exposed Part Of Vehicle Body
        G04476791Courtesy of © TOYOTA, LICENSE AGREEMENT TMS1002
    3. Using a brush or sponge, apply Primer G to the contact surface of the glass.

      HINT:

      If the primer is applied to an area that is not specified, apply white gasoline to a clean cloth and wipe off the excess primer.

      NOTE:
      • Allow the primer to dry for 3 minutes or more.
      • Throw away any leftover primer.
      • Do not apply too much primer.
        Fig 6: Applying Primer G To Contact Surface Of Glass
        G04476792Courtesy of © TOYOTA, LICENSE AGREEMENT TMS1002
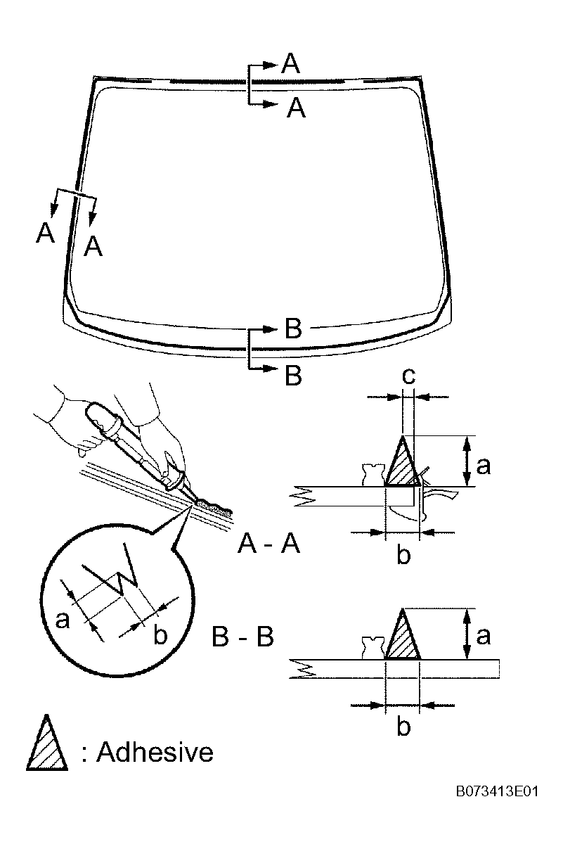
    4. Apply adhesive to the glass.

      Adhesive: 

      Toyota Genuine Windshield Glass Adhesive or Equivalent 

      1. Cut off the tip of the cartridge nozzle as shown in the illustration.

        HINT:

        After cutting off the tip, use all adhesive within the time written in the table below.

        Usage time frame 

        TEMPERATURE SPECIFICATION

        Temperature Usage Time Frame
        35°C (95°F) 15 minutes
        20°C (68°F) 1 hour 40 minutes
        5°C (41°F) 8 hours
      2. Load the sealer gun with the cartridge.
      3. Apply adhesive to the glass as shown in Fig 7.
        Fig 7: Applying Adhesive To Glass
        G04476793Courtesy of © TOYOTA, LICENSE AGREEMENT TMS1002

        Standard measurement 

        SPECIFIED CONDITION REFERENCE

        Area Specified Condition
        a 12.5 mm (0.492 in.)
        b 8.0 mm (0.315 in.)
        c 3.0 mm (0.118 in.)
    5. Install the glass to the vehicle body.
      1. Using suction cups, position the glass so that the matchmarks are aligned. Press it in gently along the rim.
      2. Lightly press the outer surface of the glass to ensure that it is securely fit to the vehicle body.
        NOTE:
        • Check that the stoppers are attached to the vehicle body correctly.
        • Check that the vehicle body and glass have a small gap between them.
          Fig 8: Installing Glass To Vehicle Body
          G04476794Courtesy of © TOYOTA, LICENSE AGREEMENT TMS1002
      3. Hold the glass in place securely with protective tape or equivalent until the adhesive hardens.
  5. INSTALL WINDSHIELD MOULDING OUTSIDE 
    1. Using a brush or sponge, apply Primer G to the glass where a new moulding will be installed.
      NOTE:
      • Allow the primer to dry for 3 minutes or more.
      • Throw away any leftover primer.
      • Do not apply too much primer.
    2. Align the moulding's marks with glass notches and install the moulding before the adhesive dries.
      NOTE: Do not drive the vehicle for the amount of time written in the table below.

      Minimum time 

      TEMPERATURE SPECIFICATION

      Temperature Minimum time prior to driving vehicle
      35°C (95°F) 1 hour 30 minutes
      20°C (68°F) 5 hours
      5°C (41°F) 24 hours
  6. INSTALL COWL TOP VENTILATOR LOUVER RH 
  7. INSTALL COWL TOP VENTILATOR LOUVER LH 
  8. INSTALL FRONT WIPER ARM LH (See  INSTALLATION  ) 
  9. INSTALL FRONT WIPER ARM RH (See  INSTALLATION  ) 
  10. INSTALL FRONT WIPER ARM HEAD CAP 
  11. INSTALL HOOD TO COWL TOP SEAL 
  12. INSTALL INNER REAR VIEW MIRROR ASSEMBLY (w/o EC Mirror) (See  INSTALLATION  ) 
  13. REMOVE INNER REAR VIEW MIRROR ASSEMBLY (w/ EC Mirror) (See  INSTALLATION  ) 
  14. INSTALL ROOF HEADLINING ASSEMBLY (see  INSTALLATION  ) 
  15. INSTALL MAP LIGHT ASSEMBLY (See  INSTALLATION  ) 
  16. INSTALL ASSIST GRIP SUB-ASSEMBLY (See  INSTALLATION  ) 
  17. INSTALL ASSIST GRIP COVER (See  INSTALLATION  ) 
  18. INSTALL VISOR HOLDER (See  INSTALLATION  ) 
  19. INSTALL VISOR ASSEMBLY LH (See  INSTALLATION  ) 
  20. INSTALL VISOR ASSEMBLY RH (See  INSTALLATION  ) 
  21. INSTALL FRONT PILLAR GARNISH LH (See  INSTALLATION  ) 
  22. INSTALL FRONT PILLAR GARNISH RH (See  INSTALLATION  ) 
  23. INSTALL FRONT PILLAR GARNISH CORNER PIECE LH (See  INSTALLATION  ) 
  24. INSTALL FRONT PILLAR GARNISH CORNER PIECE RH (See  INSTALLATION  ) 
  25. INSTALL FRONT DOOR OPENING TRIM LH 
  26. INSTALL FRONT DOOR OPENING TRIM RH 
  27. INSTALL COWL SIDE TRIM BOARD LH (See  INSTALLATION  ) 
  28. REMOVE COWL SIDE TRIM BOARD RH (See  INSTALLATION  ) 
  29. REMOVE FRONT DOOR SCUFF PLATE LH (See  INSTALLATION  ) 
  30. INSTALL FRONT DOOR SCUFF PLATE RH (See  INSTALLATION  ) 
  31. CHECK FOR LEAKS AND REPAIR 
    1. Conduct a leak test after the adhesive has completely hardened.
    2. Seal any leaks with auto glass sealer.
  32. CONNECT CABLE TO NEGATIVE BATTERY TERMINAL 
  33. PERFORM INITIALIZATION 
    1. Perform initialization (see INITIALIZATION ).
      NOTE: Certain systems need to be initialized after disconnecting and reconnecting the cable from the negative (-) battery terminal.