lemon-mirror:
Home >> Toyota >> 2007 >> Tundra Base, 4.0 U >> Repair and Diagnosis >> General Information >> Identification >> Introduction >> Repair Instruction >> Initialization

Repair Instruction: Initialization

Procedures necessary when battery terminal is disconnected / reconnected 

BATTERY TERMINAL DISCONNECTED / RECONNECTED PROCEDURES CHART

Necessary Procedures Procedure Details Effects / Inoperative Functions When Necessary Procedures are not Performed Notes
Navigation system initialization After turning the ignition switch on (IG), insert the map disc. Navigation system If the map disc is inside when disconnecting the cable from the battery terminal, this procedure is not necessary
NOTE: After the ignition switch is turned OFF, the navigation system requires approximately 90 seconds to record various types of memory and settings. As a result, after turning the ignition switch OFF, wait 90 seconds or more before disconnecting the cable from the negative (-) battery terminal.

Procedures necessary when ECU or other parts are replaced 

ECU PROCEDURES CHART

Replacement Part Necessary Procedures Effects / Inoperative Functions When Necessary Procedures are not Performed Notes
ECM Register VIN DTC P0630 is output -
  • Automatic transmission assembly
  • Engine assembly
  • ECM
Reset memory Large shift shock -
Tire pressure warning ECU
  1. Register transmitter IDs
  2. Initialize tire pressure warning system
  • When DTC detection conditions of "transmitter ID not received" DTC is met, tire pressure warning light blinks for 1 minute, and then illuminates
  • Tire pressure monitoring function
-
Tire pressure warning valve and transmitter
  1. Register transmitter IDs
  2. Initialize tire pressure warning system
  • When DTC detection conditions of "transmitter ID not received" DTC is met, tire pressure warning light blinks for 1 minute, and then illuminates
  • Tire pressure monitoring function of replaced wheel
Even if only one wheel is replaced, IDs for all 4 wheels must be registered.
Skid control ECU
  • Deceleration sensor zero point calibration
  • Master cylinder pressure sensor zero point calibration
  • ABS warning light illumination
  • VSC OFF indicator light illumination
-
Yaw rate sensor
  • Zero point calibration data clearance
  • Deceleration sensor zero point calibration
  • ABS warning light illumination
  • VSC OFF indicator light illumination
  • VSC control is prohibited or operation is incorrect
-
Front Wheel Alignment Adjustment
  • Zero point calibration data clearance
  • Deceleration sensor zero point calibration
  • Perform initialization of steering angle sensor
  • ABS warning light illumination
  • VSC OFF indicator light illumination
Complete the adjustment of the steering wheel and wheel alignment, and then initialize the steering angle sensor. If the order is reversed, the steering wheel and wheel alignment will become misaligned.
Occupant classification ECU
  • Zero point calibration
  • Sensitivity check
  • Occupant classification system
  • Passenger airbag ON/OFF indicator
  • Airbag system (Front passenger side)
  • Seat belt warning system (Front passenger side)
-
  • Transponder key ECU
  • ECM
  • Key
Registration Engine starting -
  • Door control transmitter
  • Door control receiver
Register recognition code Wireless door lock operation -
Inner rear view mirror
  • Compass zone setting
  • Compass calibration
  • Register transmitter code
  • Direction is not displayed correctly
  • Garage door opener system
-
  • Sliding roof driver gear (Sliding roof ECU)
  • Sliding roof housing
  • Sliding roof glass
Initialize sliding roof system
  • Auto operation
  • Jam protection function
  • Sliding roof operation after ignition switch is turned OFF
  • Key-linked operation function (Driver side door only)
-
  1. DESCRIPTION (Using Intelligent Tester) 

    This registration section consists of three parts: Input Instructions, Read VIN and Write VIN.

    1. Input Instructions: Explains the general VIN input instructions using the intelligent tester.
    2. Read VIN: Explains the VIN reading process in a flowchart. This process allows the VIN stored in the ECM to be read in order to confirm that the two VINs, provided with the vehicle and stored in the vehicle's ECM, are the same.
    3. Write VIN: Explains the VIN writing process in a flowchart. This process allows the VIN to be input into the ECM. If the ECM is changed, or the ECM VIN and vehicle VIN do not match, the VIN can be registered, or overwritten in the ECM by following this procedure.
  2. INPUT INSTRUCTIONS 
    1. Intelligent tester
      1. The arrow buttons (UP, DOWN, RIGHT and LEFT) and numerical buttons (0 to 9) are used, in order to input the VIN.
    2. Cursor Operation
      1. To move the cursor around the tester screen, press the RIGHT and LEFT buttons.
    3. Alphabetical Character Input
      1. Press the UP and DOWN buttons to select the desired alphabetical character.
      2. After selection, the cursor should move.
    4. Numeric Character Input
      1. Press the numerical button corresponding to the number that you want to input.
      2. After input, the cursor should move.

        HINT:

        Numerical characters can be selected by using the UP and DOWN buttons.

    5. Correction
      1. When correcting the input character(s), put the cursor onto the character using the RIGHT or LEFT buttons.
      2. Select or input the correct character using the UP/DOWN buttons, or the numerical buttons.
    6. Finishing Input Operation
      1. Make sure that the input VIN matches the vehicle VIN after input.
      2. Press the ENTER button on the tester.
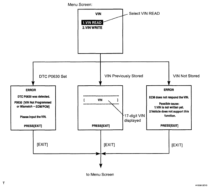
  3. READ VIN 
    1. Confirm the vehicle VIN.
    2. Connect the intelligent tester to the DLC3.
    3. Turn the ignition switch ON.
    4. Turn the tester ON.
    5. Enter the following menus: DIAGNOSIS / ENHANCED OBD II /VIN.
      Fig 1: Diagnosis / Enhanced OBD II / VIN Read Flow Diagram
      G05157054Courtesy of © TOYOTA, LICENSE AGREEMENT TMS1002
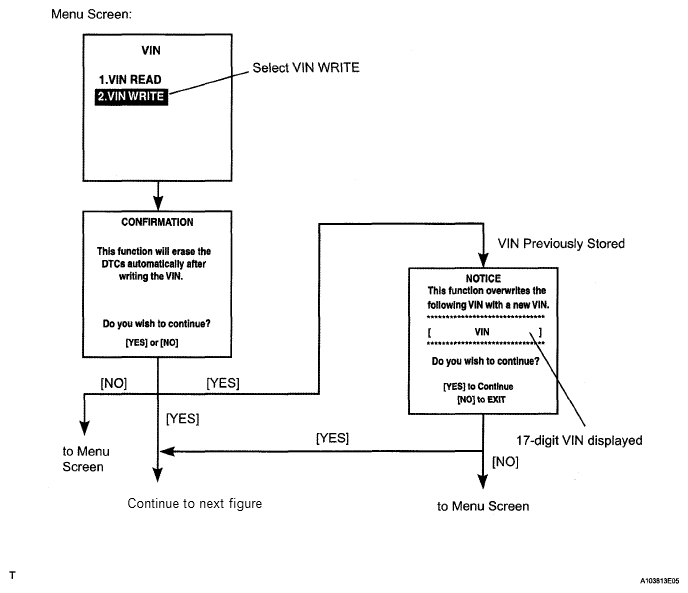
  4. WRITE VIN 
    1. Confirm the vehicle VIN.
    2. Connect the intelligent tester to the DLC3.
    3. Turn the ignition switch ON.
    4. Turn the tester ON.
    5. Enter the following menus: DIAGNOSIS / ENHANCED OBD II/VIN.
      Fig 2: Diagnosis / Enhanced OBD II / VIN Write Flow Diagram (1 Of 3)
      G05157055Courtesy of © TOYOTA, LICENSE AGREEMENT TMS1002
      Fig 3: Diagnosis / Enhanced OBD II / VIN Write Flow Diagram (2 Of 3)
      G04828013Courtesy of © TOYOTA, LICENSE AGREEMENT TMS1002
      Fig 4: Diagnosis / Enhanced OBD II / VIN Write Flow Diagram (3 Of 3)
      G05157057Courtesy of © TOYOTA, LICENSE AGREEMENT TMS1002
  5. DESCRIPTION (Using Techstream) 

    HINT:

    This registration section consists of two parts: Read VIN and Write VIN.

    1. Read VIN: Explains the VIN reading process in a flowchart. This process allows the VIN stored in the ECM to be read in order to confirm that the two VINs, provided with the vehicle and stored in the vehicle's ECM, are the same.
    2. Write VIN: Explains the VIN writing process in a flowchart. This process allows the VIN to be input into the ECM. If the ECM is changed, or the ECM VIN and vehicle VIN do not match, the VIN can be registered, or overwritten in the ECM by following this procedure.
  6. READ VIN 
    1. Confirm the vehicle VIN.
    2. Connect Techstream to the DLC3.
    3. Turn the ignition switch ON.
    4. Turn the tester ON.
    5. Enter the following menus: Powertrain / Engine and ECT / Utility / VIN / VIN Read.
  7. WRITE VIN 
    1. Confirm the vehicle VIN.
    2. Connect Techstream to the DLC3.
    3. Turn the ignition switch ON.
    4. Turn the tester ON.
    5. Enter the following menus: Powertrain / Engine and ECT / Utility / VIN / VIN Write.
  8. RESET MEMORY 
    NOTE:
    • Perform the RESET MEMORY (AT initialization) when replacing the automatic transmission assembly, engine assembly or ECM.
    • The RESET MEMORY can be performed only with the intelligent tester or Techstream.

    HINT:

    The ECM memorizes the control conditions of the automatic transmission assembly and engine assembly. Therefore, when the automatic transmission assembly, engine assembly, or ECM has been replaced, it is necessary to reset the memory so that the ECM can memorize the new information. Reset procedure is as follows.

    1. Connect the intelligent tester or Techstream to the DLC3.
    2. Turn the ignition switch ON and push the tester switch ON.
    3. Enter the following menus:
      1. Intelligent tester - Select: DIAGNOSIS / OBD/ MOBD / ECT / RESET MEMORY.
      2. Techstream - Select: Powertrain / Engine and ECT / Utility / Reset Memory.
        NOTE: After performing the RESET MEMORY, be sure to perform the ROAD TEST described earlier.

        HINT:

        The ECM learns through the ROAD TEST.

  9. DESCRIPTION OF CODE REGISTRATION 

    It is necessary to register the transmitter ID in the tire pressure warning ECU when replacing the tire pressure warning valve and transmitter and/or tire pressure warning ECU.

    Prepare all transmitter ID data before starting registration.

    1. Before registration
      1. In case of tire pressure warning ECU replacement.
        • Read the registered transmitter IDs that are stored in the old ECU using the intelligent tester or Techstream and note them down.
        • If reading stored transmitter IDs is impossible due to malfunctions of components such as the tire pressure warning antenna and receiver, remove the tires from the wheels and check the transmitter IDs located on the tire pressure warning valves and transmitters.
      2. In case of tire pressure warning valve and transmitter replacement.
        • Take a note of the 8 digit number (transmitter ID) written on the tire pressure warning valve and transmitter.
          Fig 5: Identifying Tire Pressure Warning Valve And Transmitter
          G05157058Courtesy of © TOYOTA, LICENSE AGREEMENT TMS1002
          NOTE:
          • The transmitter ID is written on the tire pressure warning valve and transmitter. It will be unable to be read after installing the tire pressure warning valve and transmitter on the tire and wheel. Therefore, take a note of the transmitter ID before installing the tire pressure warning valve and transmitter.
          • The ID registration must be performed for all tire pressure warning valve and transmitters. Check the DATA LIST, replace the exchanged ID with the new ID, and make the new data list of all 4 tires for the vehicle.
  10. REGISTER TRANSMITTER ID (USING INTELLIGENT TESTER) 
    1. Set the air pressure of all tires to the specified value.
    2. Turn the ignition switch OFF.
    3. Connect the intelligent tester to the DLC3.
    4. Turn the ignition switch ON and the tester ON.
    5. Enter the menu items in this order: DIAGNOSIS / OBD/MOBD / CHASSIS / TIRE PRESSURE. Then, select the "UTILITY" item, and press "ENTER" to move to the next screen.
      Fig 6: Intelligent Tester Display - UTILITY
      G04944277Courtesy of © TOYOTA, LICENSE AGREEMENT TMS1002
    6. Select "REGIST TIRE SET" item. Then, press "ENTER".
    7. Fig 7: Intelligent Tester Display - REGIST TIRE SET
      G04947376Courtesy of © TOYOTA, LICENSE AGREEMENT TMS1002
    8. "UTILITY REGIST TIRE SET" screen is displayed. Then, press "YES".
    9. "UTILITY REGIST TIRE SET" screen is displayed. Then, press "ENTER".
    10. Input the IDs (ID1 to ID4) using the tester. Then, press "ENTER".
      Fig 8: Intelligent Tester Display - ENTER
      G05010759Courtesy of © TOYOTA, LICENSE AGREEMENT TMS1002

      HINT:

      If this step is not completed within 300 seconds, this mode will be canceled, (j) "THE REGISTRATION SUCCEEDED" screen is displayed. Then, press "ENTER".

      HINT:

      • The previously registered IDs will be deleted from the memory when the registration is completed.
      • When the system is in initialization mode after the tire pressure warning reset switch has been operated, the registration is disabled until the initialization process is canceled or completed.
      • If the registration cannot be completed with error, connect TC and GND of the DLC3, then retry.
    11. Confirmation of transmitter ID registration.
      1. Turn the ignition switch from OFF to ON.
      2. Enter the menu items in this order: DIAGNOSIS / OBD/MOBD / CHASSIS / TIRE PRESSURE / DATA LIST.
      3. Read the "TIRE PRESS" values.
      4. Confirm that the tire pressure data of all tires are displayed on the tester screen.
        NOTE:
        • It may take up to about 5 to 6 minutes to update the tire pressure data. If the values are not displayed after about 5 to 6 minutes, perform troubleshooting according to the inspection procedure for DTCs C2121/21 to C2124/24.
        • If the IDs have not been registered, DTC C2171/71 is set in the tire pressure warning ECU after 3 minutes or more.
        • If normal pressure values are displayed, the IDs have been registered correctly.
  11. REGISTER TRANSMITTER ID (USING TECHSTREAM) 
    1. Set the air pressure of all tires to the specified value.
    2. Turn the ignition switch OFF.
    3. Connect Techstream to the DLC3.
    4. Turn the ignition switch ON and the tester ON.
    5. Enter the menu items in this order: Chassis / Tire Pressure Monitor / Utility / ID Registration.
    6. Perform the following procedures displayed on the tester.
    7. Confirmation of transmitter ID registration.
      1. Turn the ignition switch from OFF to ON.
      2. Enter the menu items in this order: Chassis /Tire Pressure Monitor / Data List.
      3. Read the "ID Tire Inflation Pressure" values.
      4. Confirm that the tire pressure data of all tires are displayed on the tester screen.
        NOTE:
        • It may take up to about 5 to 6 minutes to update the tire pressure data. If the values are not displayed after about 5 to 6 minutes, perform troubleshooting according to the inspection procedure for DTCs C2121/21 to C2124/24.
        • If the IDs have not been registered, DTC C2171/71 is set in the tire pressure warning ECU after 3 minutes or more.
        • If normal pressure values are displayed, the IDs have been registered correctly.
  12. INITIALIZATION PROCEDURE 
    1. Turn the ignition switch ON.
    2. Press and hold the tire pressure warning reset switch for 3 seconds or more so that the tire pressure warning light blinks 3 times.
      Fig 9: Tire Pressure Warning Light Blinking Pattern
      G05157062Courtesy of © TOYOTA, LICENSE AGREEMENT TMS1002
    3. Turn the ignition switch OFF.
    4. Connect the intelligent tester or Techstream to the DLC3.
    5. Turn the ignition switch ON and the tester ON.
    6. Enter the following menus:
      1. Intelligent tester - Select: DIAGNOSIS / OBD/ MOBD / CHASSIS / TIRE PRESSURE / DATA LIST.
      2. Techstream - Select: Chassis / Tire Pressure Monitor / Data List.
    7. Confirm that the tire pressure data of all tires are displayed on the tester screen in order to check the completion.
      NOTE:
      • The initialization is normally completed within 5 to 6 minutes.
      • If the initialization has not been completed successfully, DTC C2177/77 is set after the vehicle is driven for 20 minutes or more.
      • The initialization can be terminated by connecting terminals 4 (TC) and 13 (CG) of the DLC3.
      Fig 10: Identifying CG And TS Connector Of DLC3
      G04944121Courtesy of © TOYOTA, LICENSE AGREEMENT TMS1002
      1. Intelligent tester

        TIRE PRESSURE 

        TIRE PRESSURE INITIALIZATION PROCEDURE INTELLIGENT TESTER

        Tester Display Measurement Item/Range Normal Condition Diagnostic Note
        TIREPRESS1 ID1 tire inflation pressure (Absolute pressure) / min.: 100 kPa (1 kgf/cm2 , 14 psi)
        max.: 449.35 kPa (4.5 kgf/cm2 , 63 psi)
        Actual tire inflation pressure If 100 kPa (1 kgf/cm2 , 14 psi) for absolute pressure is displayed, the data has not been received.*
        TIREPRESS2 ID2 tire inflation pressure (Absolute pressure) / min.: 100 kPa (1 kgf/cm2 , 14 psi)
        max.: 449.35 kPa (4.5 kgf/cm2 , 63 psi)
        Actual tire inflation pressure If 100 kPa (1 kgf/cm2 , 14 psi) for absolute pressure is displayed, the data has not been received.*
        TIREPRESS3 ID3 tire inflation pressure (Absolute pressure) / min.: 100 kPa (1 kgf/cm2 , 14 psi)
        max.: 449.35 kPa (4.5 kgf/cm2 , 63 psi)
        Actual tire inflation pressure If 100 kPa (1 kgf/cm2 , 14 psi) for absolute pressure is displayed, the data has not been received.*
        TIREPRESS4 ID4 tire inflation pressure (Absolute pressure) / min.: 100 kPa (1 kgf/cm2 , 14 psi)
        max.: 449.35 kPa (4.5 kgf/cm2 , 63 psi)
        Actual tire inflation pressure If 100 kPa (1 kgf/cm2 , 14 psi) for absolute pressure is displayed, the data has not been received.*
      2. Techstream

        Tire Pressure Monitor 

        TIRE PRESSURE MONITOR INITIALIZATION PROCEDURE TECHSTREAM

        Tester Display Measurement Item/Range Normal Condition Diagnostic Note
        ID1 Tire Inflation Pressure ID1 tire inflation pressure (Absolute pressure) / min.: 100 kPa (1 kgf/cm2 , 14 psi)
        max.: 449.35 kPa (4.5 kgf/cm2 , 63 psi)
        Actual tire inflation pressure If 100 kPa (1 kgf/cm2 , 14 psi) for absolute pressure is displayed, the data has not been received.*
        ID2 Tire Inflation Pressure ID2 tire inflation pressure (Absolute pressure)/ min.: 100 kPa (1 kgf/cm2 , 14 psi)
        max.: 449.35 kPa (4.5 kgf/cm2 , 63 psi)
        Actual tire inflation pressure If 100 kPa (1 kgf/cm2 , 14 psi) for absolute pressure is displayed, the data has not been received.*
        ID3 Tire Inflation Pressure ID3 tire inflation pressure (Absolute pressure) / min.: 100 kPa (1 kgf/cm2 , 14 psi)
        max.: 449.35 kPa (4.5 kgf/cm2 , 63 psi)
        Actual tire inflation pressure If 100 kPa (1 kgf/cm2 , 14 psi) for absolute pressure is displayed, the data has not been received.*
        ID4 Tire Inflation Pressure ID4 tire inflation pressure (Absolute pressure)/ min.: 100 kPa (1 kgf/cm2 , 14 psi)
        max.: 449.35 kPa (4.5 kgf/cm2 , 63 psi)
        Actual tire inflation pressure If 100 kPa (1 kgf/cm2 , 14 psi) for absolute pressure is displayed, the data has not been received.*
        HINT:
        • The initialization is complete when the DATA LIST "TIREPRESS" or "ID Tire Inflation Pressure" display shows the correct pressures.
        • *: It may take up to about 5 to 6 minutes to update the tire pressure data. If the values are not displayed after about 5 to 6 minutes, perform troubleshooting according to the inspection procedure for DTCs C2121/21 to C2124/24.
  13. CLEAR ZERO POINT CALIBRATION DATA (WHEN USING INTELLIGENT TESTER OR TECHSTREAM) 
    1. Connect the intelligent tester or Techstream to the DLC3.
    2. Turn the ignition switch ON.
    3. Operate the intelligent tester or Techstream to erase the codes (select "Reset Memory").

      HINT:

      Refer to the intelligent tester or Techstream operator's manual for further details.

  14. PERFORM ZERO POINT CALIBRATION OF MASTER CYLINDER PRESSURE SENSOR AND DECELERATION SENSOR (WHEN USING INTELLIGENT TESTER OR TECHSTREAM) 
    NOTE:
    • While obtaining the zero point, do not vibrate the vehicle by tilting, moving or shaking it and keep it stationary. (Do not start the engine.)
    • While obtaining the zero point, do not depress the brake and accelerator pedal.
    • Obtain the zero point on a level surface (with an inclination of less than 1°).
    1. Enter Test Mode.
      1. Turn the ignition switch OFF.
      2. Check that the shift lever is in parking or neutral and apply the parking brake.
        CAUTION: Application of the parking brake is not necessary for entering test mode. However, apply the parking brake for safety.
      3. Connect the intelligent tester or Techstream to the DLC3.
      4. Turn the ignition switch ON.
        NOTE: Do not start the engine.
      5. Set the intelligent tester or Techstream to test mode (select "Test Mode").

        HINT:

        Refer to the intelligent tester or Techstream operator's manual for further details.

    2. Obtain the zero points of the master cylinder pressure sensor and deceleration sensor.
      1. Keep the vehicle stationary on a level surface for 1 second or more.

        HINT:

        • The zero point calibration is performed only once after the system enters test mode.
        • Calibration cannot be performed again until the stored data is cleared once.
      2. Check that the buzzer sounds for 3 seconds and DTC C1336 is erased.
      3. Turn the ignition switch OFF.
  15. CLEAR ZERO POINT CALIBRATION DATA (WHEN USING SST CHECK WIRE) 
    1. Turn the ignition switch ON.
    2. Using SST, connect and disconnect terminals 12 (TS) and 4 (CG) of the DLC3 4 times or more within 8 seconds.

      SST 09843-18040 

      Fig 11: Identifying CG And TS Connector Of DLC3
      G04944107Courtesy of © TOYOTA, LICENSE AGREEMENT TMS1002
    3. Check that the VSC OFF indicator light comes on.
    4. Using a check wire, perform the zero point calibration of the deceleration sensor.
  16. PERFORM ZERO POINT CALIBRATION OF MASTER CYLINDER PRESSURE SENSOR AND DECELERATION SENSOR (WHEN USING SST CHECK WIRE) 
    NOTE:
    • While obtaining the zero point, do not vibrate the vehicle by tilting, moving or shaking it and keep it stationary. (Do not start the engine.)
    • While obtaining the zero point, do not depress the brake pedal.
    • Obtain the zero point on a level surface (with an inclination of less than 1°).
    1. Enter Test Mode.
      1. Turn the ignition switch OFF.
      2. Check that the shift lever is in parking or neutral and apply the parking brake.
        CAUTION: Application of the parking brake is not necessary for entering test mode. However, apply the parking brake for safety.
      3. Using SST, connect terminals 12 (TS) and 4 (CG) of the DLC3.

        SST 09843-18040 

        Fig 12: Identifying CG And TS Connector Of DLC3
        G04944107Courtesy of © TOYOTA, LICENSE AGREEMENT TMS1002
      4. Turn the ignition switch ON.
        NOTE: Do not start the engine.
    2. Obtain the zero points of the master cylinder pressure sensor and deceleration sensor.
      1. Keep the vehicle stationary on a level surface for 1 second or more.

        HINT:

        • The zero point calibration is performed only once after the system enters test mode.
        • Calibration cannot be performed again until the stored data is cleared once.
      2. Check that the buzzer sounds for 3 seconds and DTC C1336 is erased.
      3. Turn the ignition switch OFF.
  17. PERFORM INITIALIZATION OF STEERING ANGLE SENSOR 
    NOTE: Complete the adjustment of the steering wheel and wheel alignment, and then initialize the steering angle sensor. If the order is reversed, the steering wheel and wheel alignment will become misaligned.
    1. Check that the steering wheel is in the centered position.
    2. Disconnect the negative battery terminal for more than 2 seconds.
      NOTE: After the ignition switch is turned OFF, the navigation system requires approximately 90 seconds to record various types of memory and settings. As a result, after turning the ignition switch OFF, wait 90 seconds or more before disconnecting the cable from the negative (-) battery terminal.
    3. Reconnect the negative battery terminal.
  18. ZERO POINT CALIBRATION 
    1. Zero point calibration procedures:

      HINT:

      Make sure that the zero point calibration has finished normally, and then perform the sensitivity check.

      1. Check that all of the following conditions are met:
        • The vehicle is parked on a level surface.
        • No objects are placed on the front seat RH.
        • The front seat inner belt RH (passenger side buckle switch) is off.
      2. Adjust the seat position in accordance with the table below.
        SEAT POSITION ADJUSTING CHART

        Adjustment Item Position
        Slide Direction Rearmost position
        Reclining Angle Upright position
        Headrest Height Lowest position
        Lifter Height Lowest position
      3. Connect the intelligent tester or Techstream to the DLC3.
      4. Turn the ignition switch ON.
      5. Perform the zero point calibration by following the prompts on the tester screen.

        HINT:

        • Refer to the intelligent tester or Techstream operator's manual for further details.
        • If the zero point calibration has not finished normally, replace the front seat RH.
  19. SENSITIVITY CHECK 
    1. Sensitivity check procedures:
      1. Connect the intelligent tester or Techstream to the DLC3.
      2. Turn the ignition switch ON.
      3. Perform the sensitivity check by following the prompts on the tester screen.

        HINT:

        Refer to the intelligent tester or Techstream operator's manual for further details.

      4. Confirm that the beginning sensor reading is within the standard range.

        Standard range: 

        -3.2 to 3.2 kg (-7.0 to 7.0 lb) 

      5. Place a 30 kg (66.2 lb) weight (e.g. a lead mass) onto the front passenger seat.
      6. Confirm that the sensitivity is within the standard range.

        Standard range: 

        27 to 33 kg (59.5 to 72.8 lb) 

        HINT:

        • When performing the sensitivity check, use a solid metal weight (the check result may not be accurate if a liquid weight is used).
        • If the sensitivity deviates from the standard range, retighten the bolts of the front seat RH taking care not to deform the seat rail. After performing this procedure, if the sensitivity is not within the standard range, replace the front seat RH.
  20. DESCRIPTION OF CODE REGISTRATION 
    1. When adding master keys or sub-keys (additional registration).
      1. Register key code in the transponder key ECU.
        CODE REGISTRATION - ADDING MASTER KEYS OR SUB-KEYS (ADDITIONAL REGISTRATION)

        Target ECU See Procedure
        Transponder key ECU Procedure "A"
    2. After replacing the transponder key ECU (New key code registration).
      1. Register the key code (immobilizer code) in the new transponder key ECU.
        CODE REGISTRATION - REPLACING TRANSPONDER KEY ECU (NEW KEY CODE REGISTRATION

        Target ECU See Procedure
        Transponder key ECU Procedure "B"
      2. Register the ECU - ECM COMMUNICATION ID between the ECM and the new transponder key ECU.
        CODE REGISTRATION - ECM AND NEW TRANSPONDER KEY ECU

        Target ECU See Procedure
        ECM Procedure "C"
    3. After replacing the ECM.
      1. Reregister the ECU - ECM COMMUNICATION ID between the new ECM and the transponder key ECU.
        CODE REGISTRATION - REPLACING ECM

        Target ECU See Procedure
        Transponder key ECU Procedure "C"
    4. After replacing the transponder key ECU and ECM.
      1. Register the ECU - ECM COMMUNICATION ID between the new ECM and the new transponder key ECU.
        CODE REGISTRATION - REPLACING TRANSPONDER KEY ECU AND ECM

        Target ECU See Procedure
        Transponder key ECU Procedure "C"
    5. Erasure of key codes.
      1. Erase all of the key codes except master key.
        CODE REGISTRATION - ERASURE OF KEY CODES

        Target ECU See Procedure
        Transponder key ECU Procedure "D"
      2. Erase all of the key codes.
        CODE REGISTRATION - ERASE ALL OF KEY CODES

        Target ECU See Procedure
        Transponder key ECU Procedure "D"
  21. NEW KEY REGISTRATION (PROCEDURE "B") 
    1. New key code registration

      HINT:

      • This mode operates normally when no key codes are registered in the transponder key ECU.
      • When a new transponder key ECU is installed, key codes must be registered in the transponder key ECU.
      • In this mode, a maximum of 3 key codes for 2 master keys and 1 sub-key can be registered. The master keys and sub-key can be registered in any order because the transponder key ECU can distinguish between different types of keys.
      • New key codes must be registered with the battery connected. The ignition switch can be either ON or OFF.
      1. Intelligent tester
        SECURITY INDICATOR LIGHT CONDITION PROCEDURE INTELLIGENT TESTER

        Procedure Security Indicator Light Condition
        1. Start registration. Security indicator light is blinking.
        2. Insert one of master keys into the ignition key cylinder. Security indicator light turned on.
        3. Select following items on the tester:
        1. IMMOBILISER
        2. ID UTILITY
        3. IMMOB CODE REG

        HINT:
        After above operation, proceed to next step in accordance with prompts on the tester screen.
        Security indicator light turned off for 1 sec. and then turned on.
        4. Remove the key. Security indicator light turned on.
        HINT:
        When the maximum number of the key codes is registered, the security indicator light remains off until the last key registered is removed. After it is removed, the security indicator light starts blinking.
        5. Register another key?
        YES: Go to step 6.
        NO: Go to step 7.
        HINT:
        Key codes for a maximum of 2 master keys and 1 sub-key can be registered.
        6. Insert another key into the ignition key cylinder. Then go to step 4. Security indicator light turned off for 1 sec. and then turned on.
        7. End of registration.
      2. Techstream
        SECURITY INDICATOR LIGHT CONDITION PROCEDURE TECHSTREAM

        Procedure Security Indicator Light Condition
        1. Start registration. Security indicator light is blinking.
        2. Insert one of master keys into the ignition key cylinder. Security indicator light turned on.
        3. Select following items on the tester:
        1. Body
        2. Immobiliser
        3. ID Utility
        4. Immobiliser Code Registration

        HINT:
        After above operation, proceed to next step in accordance with prompts on the tester screen.
        Security indicator light turned off for 1 sec. and then turned on.
        4. Remove the key. Security indicator light turned on.
        HINT:
        When the maximum number of the key codes is registered, the security indicator light remains off until the last key registered is removed. After it is removed, the security indicator light starts blinking.
        5. Register another key?
        YES: Go to step 6.
        NO: Go to step 7.
        HINT:
        Key codes for a maximum of 2 master keys and 1 sub-key can be registered.
        6. Insert another key into the ignition key cylinder. Then go to step 4. Security indicator light turned off for 1 sec. and then turned on.
        7. End of registration.
    2. End the new key code registration mode (when not using intelligent tester or Techstream)

      HINT:

      The automatic key code registration mode can be forced to end when at least 1 key code (immobilizer code) for a master key has been registered.

      1. Turn the ignition switch ON and OFF 5 times within 10 seconds using a master key that has already been registered.
    3. End the new key code registration mode (when using intelligent tester or Techstream)

      HINT:

      The automatic key code registration mode can be forced to end when at least 1 key code (immobilizer code) for a master key has been registered.

      1. Insert the key into the ignition key cylinder and turn the intelligent tester or Techstream ON.
      2. Follow the instructions on the intelligent tester or Techstream screen to end the new key code registration mode.
        Fig 13: Security Indicator Light Blinking Pattern
        G05157066Courtesy of © TOYOTA, LICENSE AGREEMENT TMS1002

        HINT:

        • When the engine immobilizer system is operating normally and the key is pulled out, the security indicator light blinks continuously.
        • If the new key code registration fails, code 2-1 is output by the security indicator light. Trying to reregister an already registered key causes code 2-2 to be output when the key is inserted. If the number of registered key codes exceeds the limit, code 2-3 is output by the security indicator light. The output details are shown below.
  22. REGISTRATION OF ADDITIONAL KEY (PROCEDURE "A") 
    1. Additional key code registration

      HINT:

      • At least one key code must be registered in the transponder key ECU in order for this mode to operate normally.
      • In this mode, a maximum of 5 master key codes and 3 sub-key codes can be registered.
      • This mode ends if each step is not completed within the specified time.
      • When the ignition key cylinder or the ignition key cylinder set is replaced, remove the transmitter module from the original master key. Then install this transmitter module to a new key and use the new key as the master key. If necessary, use this master key to register other keys.
      NOTE: When only the ignition key cylinder has been replaced, the new key cannot be used to lock or unlock doors. Therefore, keep the original key for locking and unlocking doors in order to avoid being locked out of the vehicle if the transmitter battery becomes depleted.
      1. Intelligent tester
        SECURITY INDICATOR LIGHT CONDITION AND TIME PROCEDURE INTELLIGENT TESTER

        Procedure Security Indicator Light Condition Time (Completion of operation)
        1. Start registration. Security indicator light is blinking. -
        2. Insert an already registered master key into the ignition key cylinder, turn the ignition switch ON, and turn the tester ON. Security indicator light turned off. Within 120 sec.
        3. Select following items on the tester:
        1. IMMOBILISER
        2. ID UTILITY
        3. IMMOB CODE REG
        Security indicator light turned on.
        4. Remove the master key and then push NEXT button on tester. Security indicator light turned on. Within 20 sec. of the instruction on the tester.
        5. Insert unregistered key into the ignition key cylinder. Security indicator light is blinking.
        HINT:
        Registration is being performed.
        Within 10 sec.
        6. After 60 sec, key is registered.
        HINT:
        The security indicator light turns off.
        Security indicator light turned off. -
        7. Remove the key. Security indicator light is blinking.
        8. Tester screen displays number of registered keys.
        9. Register another key?
        YES: Go to step 2.
        NO: Go to step 10.
        10. End of registration.
      2. Techstream
        SECURITY INDICATOR LIGHT CONDITION AND TIME PROCEDURE TECHSTREAM

        Procedure Security Indicator Light Condition Time (Completion of operation)
        1. Start registration. Security indicator light is blinking. -
        2. Insert an already registered master key into the ignition key cylinder, turn the ignition switch ON, and turn the tester ON. Security indicator light turned off. Within 120 sec.
        3. Select following items on the tester:
        1. Body
        2. Immobiliser
        3. ID Utility
        4. Immobiliser Code Registration
        Security indicator light turned on.
        4. Remove the master key and then push NEXT button on tester. Security indicator light turned on. Within 20 sec. of the instruction on the tester.
        5. Insert unregistered key into the ignition key cylinder. Security indicator light is blinking.
        HINT:
        Registration is being performed.
        Within 10 sec.
        6. After 60 sec, key is registered.
        HINT:
        The security indicator light turns off.
        Security indicator light turned off. -
        7. Remove the key. Security indicator light is blinking.
        8. Tester screen displays number of registered keys.
        9. Register another key?
        YES: Go to step 2.
        NO: Go to step 10.
        10. End of registration.

        HINT:

        • A brief outline of the procedures for key code registration is shown above. For more detailed information, refer to the screen of the intelligent tester or Techstream .
        • When the engine immobilizer system is operating normally and the key is pulled out, the security indicator light blinks continuously.
        • If the additional key code registration fails, code 2-1 is output by the security indicator light. Trying to reregister a previously registered key causes code 2-2 to be output when the key is inserted. If the number of registered key codes exceeds the limit, code 2-3 is output by the security indicator light. The output details are shown in procedure "B".
  23. ERASURE OF KEY CODE (PROCEDURE "D") 

    HINT:

    All key codes are erased except for the master key which is used for erasing the key codes. In order to use a key whose code has been erased, a new key code must be registered.

    1. Erasure all key codes except master key

      HINT:

      • At least one key code must be registered in the transponder key ECU in order for this mode to operate normally.
      • Make sure the inserted key is a registered master key.
      1. Intelligent tester
        SECURITY INDICATOR LIGHT CONDITION AND TIME PROCEDURE INTELLIGENT TESTER

        Procedure Security Indicator Light Condition Time (Completion of operation)
        1. Start of erasure. Security indicator light is blinking. -
        2. Insert previously registered master key into ignition key cylinder and turn ignition switch ON. Security indicator light turned off. Within 120 sec.
        3. Select following items on the tester:
        1. IMMOBILISER
        2. ID UTILITY
        3. IMMOB CODE ERS
        Security indicator light turned on for 1 sec. and then turned off.
        4. Remove the master key.
        HINT:
        Key codes are deleted except inserted key.
        Security indicator light turned on. Within 10 sec. of the instruction on the tester.
        5. End of erasure.
      2. Techstream
        SECURITY INDICATOR LIGHT CONDITION AND TIME PROCEDURE TECHSTREAM

        Procedure Security Indicator Light Condition Time (Completion of operation)
        1. Start of erasure. Security indicator light is blinking. -
        2. Insert previously registered master key into ignition key cylinder and turn ignition switch ON. Security indicator light turned off. Within 120 sec.
        3. Select following items on the tester:
        1. Body Electrical
        2. Immobiliser
        3. ID Utility
        4. Immobiliser Code Erasure
        Security indicator light turned on for 1 sec. then turned off.
        4. Remove the master key.
        HINT:
        Key codes are deleted except inserted key.
        Security indicator light turned on. Within 10 sec. of the instruction on the tester.
        5. End of erasure.
    2. Erasure all of key codes

      HINT:

      • This mode performs normally, when at least one key codes must be registered in the transponder key ECU.
      • Insertion key is either registered key or unregistered key.
      1. Intelligent tester
        SECURITY INDICATOR LIGHT CONDITION AND TIME PROCEDURE INTELLIGENT TESTER

        Procedure Security Indicator Light Condition Time (Completion of operation)
        1. Using TIS, confirm that user and vehicle match. Security indicator light is blinking. -
        2. Start of erasure. Security indicator light is blinking. -
        3. Insert previously registered key or unregistered key into ignition key cylinder and turn ignition switch ON. Security indicator light turned off. Within 120 sec.
        4. Select following items on the tester:
        1. IMMOBILISER
        2. ID UTILITY
        3. IMMOB CODE ERS
        Security indicator light turned on for 1 sec. then turned off. Within 15min.
        5. Completion of erasure of all key codes is displayed. Security indicator light turned on. -
        6. End of erasure.
      2. Techstream
        SECURITY INDICATOR LIGHT CONDITION AND TIME PROCEDURE TECHSTREAM

        Procedure Security Indicator Light Condition Time (Completion of operation)
        1. Using TIS, confirm that user and vehicle match. Security indicator light is blinking. -
        2. Start of erasure. Security indicator light is blinking. -
        3. Insert previously registered master key or unregistered key into ignition key cylinder and turn ignition switch ON. Security indicator light turned off. Within 120 sec.
        4. Select following items on the tester:
        1. Body Electrical
        2. Immobiliser
        3. ID Utility
        4. Immobiliser Code Erasure
        Security indicator light turned on for 1 sec. then turned off. Within 15 min.
        5. Completion of erasure of all key codes is displayed. Security indicator light turned on. -
        6. End of erasure.

        HINT:

        • A brief outline of the procedures for key code registration is shown above. For more detailed information, refer to the screen of the intelligent tester or Techstream .
        • When the engine immobilizer system is operating normally and the key is pulled out, the security indicator light blinks continuously.
  24. ECU - ECM COMMUNICATION ID REGISTRATION (PROCEDURE "C") 
    NOTE:
    • The ECU - ECM communication ID must be registered to the transponder key ECU and ECM when one of the following occurs in order to match their IDs: 1) the transponder key ECU is replaced, 2) the ECM is replaced, or 3) the transponder key ECU and ECM are replaced.
    • The SFI system cannot be started unless the ECU - ECM communication IDs of the transponder key ECU and ECM match.
    1. After replacing the transponder key ECU
      Fig 14: Identifying DLC3 Connector Terminal
      G05157067Courtesy of © TOYOTA, LICENSE AGREEMENT TMS1002
      1. Register the key code(s) by following the new key code registration procedure (procedure "B").
      2. Using SST, connect terminals 13 (TC) and 4 (CG) of the DLC3 before inserting the key into the key cylinder.

        SST 09843-18040 

        SECURITY INDICATOR LIGHT CONDITION AND PROCEDURE CHART

        Procedure Security Indicator Light Condition
        1. Insert previously registered key into ignition key cylinder and turn ignition switch ON.
        HINT:
        Do not start the engine.
        Security indicator light turned off.
        2. Leave vehicle as is for 30 min.
        3. Turn the ignition switch OFF and disconnect terminals TC and CG.
        4. Start engine.
        5. Check that engine starts and stays on for more than 3 sec. Registration is complete.
    2. After replacing the ECM
      1. Register the ECU - ECM communication ID.
        SECURITY INDICATOR LIGHT CONDITION AND PROCEDURE CHART

        Procedure Security Indicator Light Condition
        1. Insert previously registered key into ignition key cylinder. Security indicator light turned off.
        2. Start engine.
        3. Check that engine starts and stays on for more than 3 sec. Registration is complete.
    3. After replacing the transponder key ECU and ECM
      1. Register the key code(s) by following the new key code registration procedure (procedure "B").
      2. Register the ECU - ECM communication ID.
        SECURITY INDICATOR LIGHT CONDITION AND PROCEDURE CHART

        Procedure Security Indicator Light Condition
        1. Insert previously registered key into ignition key cylinder. Security indicator light turned off.
        2. Start engine.
        3. Check that engine starts and stays on for more than 3 sec. Registration is complete.
  25. DESCRIPTION OF CODE REGISTRATION 

    HINT:

    • Recognition code registration is necessary when replacing the door control transmitter or the door control receiver.
    • Add mode is used to register new recognition codes while still retaining codes already registered. This mode is used when a new transmitter is added. If the number of registered codes exceeds 4, the previously registered codes will be erased in order, starting from the first registered code.
    • Rewrite mode is used to erase all the previously registered recognition codes in order to register new recognition codes. This mode is used when the transmitter or the door control receiver is replaced with a new one.
    • Confirmation mode is used to confirm how many recognition codes have already been registered before registering any additional recognition codes.
    • Prohibition mode is used to erase all the registered codes and disables the wireless door lock function. This mode is used when the transmitter is lost.
    • All of the following registration procedures must be performed in order and in a continuous sequence.
  26. REGISTER RECOGNITION CODE (USING INTELLIGENT TESTER OR TECHSTREAM) 

    HINT:

    For detailed procedures, refer to the prompts on the tester screen. The number of currently registered codes can be checked out on the first screen of the Wireless Registration.

    1. Turn the ignition switch ON.
    2. Enter the following menus:
      1. Intelligent tester - Select: DIAGNOSIS / OBD/ MOBD / MAIN BODY / WIRELESS REGIST.
      2. Techstream - Select: Body / Main Body / Wireless Registration.
    3. Press both LOCK and UNLOCK switches between 1 to 1.5 seconds.
    4. Press either switch for more than 1 second within 3 seconds.
    5. Check the response to the registration completion.
      Fig 15: Identifying Response Registration Completion
      G05157068Courtesy of © TOYOTA, LICENSE AGREEMENT TMS1002

      HINT:

      • If the LOCK-UNLOCK operation occurs twice, the registration of the recognition code has failed. Perform the registration procedures again from the beginning.
      • If registering another transmitter, repeat the procedures after the tester operation. All 4 recognition codes can be registered consecutively.
    6. Perform either of the following to complete the registration of the recognition codes:
      • Use the intelligent tester or Techstream to send a completion command.
      • Disconnect the intelligent tester or Techstream.
  27. REGISTER RECOGNITION CODE (USING SWITCH OPERATION) 
    1. The following conditions must be met.
      • No key in the ignition key cylinder.
      • The driver side door is open (the other doors are closed).
      • The driver side door is unlocked.
    2. Insert and remove the key into / from the ignition key cylinder twice (Insert → Remove → Insert → Remove) within 5 seconds.

      HINT:

      The procedure should end with the key removed.

    3. Perform the following operations within 40 seconds.
      1. Close and open the driver side door twice (Close → Open → Close → Open).

        HINT:

        The procedure should end with the door open.

      2. Insert and remove the key into / from the ignition key cylinder (Insert → Remove).

        HINT:

        The procedure should end with the key removed.

      3. Close and open the driver side door twice (Close → Open → Close → Open).

        HINT:

        The procedure should end with the door open.

      4. Insert the key into the ignition key cylinder and close all doors.
    4. Perform the following operations within 40 seconds.
      1. Turn the ignition switch from ON to OFF at approximately 1 second intervals. Operate the ignition switch according to the number of times shown below.
        Fig 16: Identifying Number Of ON - OFF Operations Of Ignition Switch Blinking Pattern
        G05157069Courtesy of © TOYOTA, LICENSE AGREEMENT TMS1002

        HINT:

        If the number of ignition switch ON - OFF operations is 0, 4, 6 or more, there will be no response (the power door lock and unlock operation) to show which mode has been selected.

      2. Remove the key from the ignition key cylinder.
    5. Check the response of the selected mode within 5 seconds.
      Fig 17: Identifying Power Door Lock Operation
      G05157070Courtesy of © TOYOTA, LICENSE AGREEMENT TMS1002
      NOTE: After the system has been set to the prohibition mode, enter the confirmation mode and check that the number of registered keys is 0.

      HINT:

      • In the confirmation mode, LOCK-UNLOCK operation will occur once for each recognition code that has been registered. For example, if 2 recognition codes have been registered, LOCK-UNLOCK operation will occur twice.
      • In the confirmation mode, if no recognition codes have been registered, LOCK-UNLOCK operation will occur 5 times.
      • If confirmation mode or prohibition mode is selected, the operation ends after the response to the selected mode completes.
      • If add mode or rewrite mode is selected, perform the following procedures.
    6. Press a single switch (LOCK or UNLOCK) within 5 seconds.
    7. If add mode or rewrite mode is selected, perform the following procedures.
      1. Press a single switch (LOCK or UNLOCK) within 5 seconds.
      2. After completing the above step, check the response to the registration completion within 3 seconds.
        Fig 18: Identifying Response Registration Completion
        G05157071Courtesy of © TOYOTA, LICENSE AGREEMENT TMS1002

        HINT:

        • If the LOCK-UNLOCK operation occurs twice, the registration of the recognition code has failed. Perform registration procedures again from the beginning.
        • If registering another transmitter, repeat the procedures after the response to the selected mode confirmation. All 4 recognition codes can be registered consecutively.
  28. SELECT COMPASS DISPLAY MODE 
    1. The compass switch allows you to select the Display or Non-display mode of the compass.
  29. SET ZONE 
    1. Deviation between the "magnetic north" and "actual north" differs depending on the location. Therefore, adjustment of the magnetism is required. As the magnetic condition differs depending on the area where the vehicle is used, it is necessary for each user to set the zone (refer to Compass Zone Map ). The zone setting can be changed using the compass switch of the inner mirror.
  30. PERFORM CALIBRATION 
    1. As each vehicle has its own magnetic field, calibration should be performed for each individual vehicle. This compass function is used when storing the record of the vehicle's magnetic field.
  31. WHEN COMPASS IS MAGNETIZED 
    1. A compass could be magnetized during shipping by vessels or freight cars. Therefore, make sure to perform calibration and ensure that calibration is performed properly before delivery. If this cannot be done (cannot be completed in spite of driving around several times), it may be caused by magnetization. Demagnetize the vehicle using a demagnetizer and perform calibration again.
  32. SET COMPASS 
    Fig 19: Setting Compass Flow Chart
    G05157072Courtesy of © TOYOTA, LICENSE AGREEMENT TMS1002
  33. ZONE SETTING MODE 
    1. Pressing the compass switch for 3 seconds in the normal mode will activate the zone setting mode. A number (1 -15) is displayed on the compass display.

      HINT:

      In the initial state, "8" is displayed.

      Fig 20: Identifying Compass Display
      G05006650Courtesy of © TOYOTA, LICENSE AGREEMENT TMS1002
    2. The displayed number increases +1 every time the compass switch is pressed. Referring to the map, check the number for the area where the vehicle will be used and set the zone number.
    3. Leave it untouched for several seconds after setting and check that the compass display shows an azimuthal direction (N, NE, E, SE, S, SW, W or NW) or "CAL".
  34. CALIBRATION SETTING MODE 
    1. Pressing the compass switch for 6 seconds in the normal mode will activate the calibration setting mode. "CAL" is displayed on the compass display.
    2. Fig 21: Identifying Compass Display
      G05157074Courtesy of © TOYOTA, LICENSE AGREEMENT TMS1002
    3. Drive the vehicle at a slow speed of 8 km/h (5 mph) or less in a circular direction.
    4. Driving in a circle 1 to 3 times will display the azimuthal direction on the display, completing the calibration.

      HINT:

      After the calibration is completed, it is not necessary to perform the above procedures unless the magnetic field strength is drastically changed. If this happens, the azimuthal display will be changed to "CAL".

    5. The zone setting numbers are as follows:
      Fig 22: Identifying Compass Zone Map
      G05157075Courtesy of © TOYOTA, LICENSE AGREEMENT TMS1002
  35. REGISTER TRANSMITTER CODE 

    HINT:

    • The vehicle's garage door opener records transmitter codes for systems such as garage doors, gates, entry gates, door locks, home lighting systems, security systems or other transmitter code based systems.
    • The garage door opener is built into the inner rear view mirror. If replacing the inner rear view mirror, transmitter codes for any systems previously registered in the garage door opener must be reregistered.
    1. Reregister systems in the garage door opener registration mode.
      CAUTION: Do not perform transmitter code registration for a system if people or objects are near the system. When registering transmitter codes for a system, injury or damage can occur because the system may open, close, unlock or otherwise operate.
      NOTE:
      • Before transmitter code registration, confirm that all the electrical systems (headlight, blower motor, rear defogger, etc.) are turned off and no key is in the vehicle.
      • The garage door opener cannot be used with systems that: 1) were manufactured before April 1,1982; or 2) do not meet Federal Standards (for example, garage doors without a jam protection function).

      HINT:

      • 3 transmitter codes can be registered with the garage door opener, one transmitter code for each of the 3 garage door opener switches.
      • Disconnecting the battery will not erase the transmitter codes registered with the garage door opener.
      • An attempt to overwrite a previously registered transmitter code with a new system's transmitter code may fail. In this situation, the previously registered transmitter code will not be erased.
      1. Select a garage door opener switch for transmitter code registration.
      2. Press and hold the selected switch for 20 seconds. The garage door opener will enter registration mode.
        Fig 23: Identifying LED Flashes Switch
        G05157076Courtesy of © TOYOTA, LICENSE AGREEMENT TMS1002

        HINT:

        Before entering registration mode, the LED illuminates. After entering registration mode, the LED flashes at a cycle of 1 Hz. For a "rolling code" type system, after entering registration mode, the LED flashes at a cycle of 8.8 Hz for 1.6 seconds, and then the LED flashes at a cycle of 1 Hz.

      3. After the garage door opener has entered registration mode, bring the original transmitter of the system to be registered within 1 to 3 inches of the garage door opener and press and hold one of the garage door opener switches. Then press the original transmitter switch.
      4. Fig 24: Pressing Original Transmitter Switch
        G05157077Courtesy of © TOYOTA, LICENSE AGREEMENT TMS1002
      5. If the transmitter code registration was successful, the LED of the garage door opener flashes at a cycle of 5.6 Hz. If no malfunction occurs, release both the garage door opener switch and the original transmitter switch.

        HINT:

        • If transmitter code registration fails: 1) the original transmitter's battery may be low or need to be replaced, or 2) the system you are trying to register may not be compatible with the garage door opener.
        • Some transmitter's signals stop after 1 to 2 seconds. For these types of transmitters: 1) press and hold one of the garage door opener switches, and 2) press and release (cycle) the transmitter switch every 2 seconds. Check if the transmitter code was successfully registered.
        • After entering the garage door opener registration mode, transmitter code registration must be completed within 90 seconds. If 90 seconds elapse, the garage door opener will enter low power mode (refer to  c"low power mode" below).
          Fig 25: Timing Chart Of Registration Mode
          G04945776Courtesy of © TOYOTA, LICENSE AGREEMENT TMS1002
    2. Erase transmitter codes in the garage door opener clear mode.

      HINT:

      All 3 registered transmitter codes will be erased. No option exists for only erasing one transmitter code.

      1. Press and hold the left and right switches of the garage door opener for 20 seconds. The LED will begin to flash at a cycle of 5.6 Hz. Releasing the switches will end clear mode.
        Fig 26: Identifying LED Flashes Switch
        G05157079Courtesy of © TOYOTA, LICENSE AGREEMENT TMS1002

        HINT:

        • If the switches are released within 10 seconds after the transmitter codes have been erased, the garage door opener will enter registration mode.
        • If the switches are held for 10 seconds or more after the transmitter codes have been erased, default codes will be set to the switches of the garage door opener. Using these default codes, operation of the garage door opener can be checked using a tester.
          Fig 27: Timing Chart Of Clear Mode
          G04945778Courtesy of © TOYOTA, LICENSE AGREEMENT TMS1002
    3. Low power mode:
      1. If a garage door opener switch is held for 100 seconds or more, the garage door opener will enter low power mode to economize on power consumption. When the garage door opener has entered low power mode, the LED turns off.
  36. INITIALIZE SLIDING ROOF DRIVE GEAR SUB-ASSEMBLY 
    NOTE: When replacing the sliding roof drive gear, the new sliding roof drive gear requires initialization. If a reset is not executed, the following functions do not operate: AUTO operation and jam protection function.
    1. Turn the ignition switch ON.
    2. If the sliding roof is open, close it fully.
    3. By pushing the SLIDE switch to close or the TILT switch to up on the roof console box, make the sliding roof operate as follows: TILT UP → approximately 1 second → TILT DOWN → SLIDE OPEN → SLIDE CLOSE.
    4. Check that the sliding roof stops at the fully closed position.
    5. Finish the initialization.
    6. Check that the AUTO operation works normally.
      NOTE: If the following conditions occur while operating, initialization will fail.
      • Ignition switch is turned OFF.
      • Pushed sliding roof switch is released while sliding roof is operating.
      • Vehicle speed is 5 km/h (3 mph) or more.
      • Communication is cut off.

      HINT:

      • If the sliding roof cannot fully close or its position has become misaligned, perform the initialization again.
      • If the sliding roof TILT switch to up or SLIDE switch to close is pressed and held until the roof glass has either stopped moving or started moving in the opposite direction, and then the switch is held for another 10 seconds or more, perform the initialization again.
      • If the AUTO operation function and jam protection function do not operate after the drive gear has been initialized, replace the sliding roof drive gear (sliding roof ECU) or, adjust or replace the sliding roof glass.