lemon-mirror:
Home >> Toyota >> 2008 >> Avalon XLS >> Repair and Diagnosis >> Brakes >> Brakes Control Systems >> Brake Control System >> Anti-Lock Brake System >> Test Mode Procedure

Test Mode Procedure

  1. SPEED SENSOR SIGNAL CHECK (TEST MODE) PROCEDURE (WHEN USING TECHSTREAM:) 

    HINT:

    • If the ignition switch is turned from on (IG) to off during test mode (SIGNAL CHECK), the DTCs of the sensor check function will be erased.
    • During test mode (SIGNAL CHECK), the skid control ECU records DTCs, if the abnormal sensor signal is received.
    1. Procedures for test mode:
      1. Turn the ignition switch off.
      2. Move the shift lever to the P position.
      3. Connect Telecaster to the DLC3.
      4. Turn the ignition switch on (IG)
      5. Select "Signal Check" on Telecaster screen.

        HINT:

        Refer to Telecaster operator's manual for further details.

      6. Check that the ABS warning light comes on for several seconds and then blinks in test mode.

        HINT:

        If the ABS warning light does not blink, inspect the ABS warning light circuit.

        DIAGNOSTIC TROUBLE CODE CHART

        Trouble area See procedure
        ABS warning light circuit (Remains on) ABS WARNING LIGHT REMAINS ON 
        ABS warning light (Does not come on) ABS WARNING LIGHT DOES NOT COME ON 
      7. Start the engine.
        Fig 1: Blinking Pattern In Test Mode
        G05406589Courtesy of © TOYOTA, LICENSE AGREEMENT TMS1002
    2. Check the speed sensor signal.
      1. Drive the vehicle straight forward. Accelerate the vehicle to a speed of 34 mph (55 km/h) or more.
      2. Depress the brake pedal and check that the ABS warning light goes off.

        HINT:

        • The sensor check may not be completed if the vehicle has its wheel spun or its steering wheel turned during this check.
        • The ABS warning light goes off when the sensor signal check has been completed and the brake pedal is depressed.
        • The ABS warning light comes on immediately after a malfunction has been detected during the speed sensor signal check.
      3. Stop the vehicle.
      4. Read the DTCs by following the tester screen.

        HINT:

        See the list of DTCs (See  3 procedure "A").

  2. SPEED SENSOR SIGNAL CHECK (TEST MODE) PROCEDURE (WHEN USING SST CHECK WIRE:) 

    HINT:

    • If the ignition switch is turned from on (IG) to off during test mode, the DTCs of the sensor signal check function will be erased.
    • During test mode (SIGNAL CHECK), the skid control ECU records DTCs, if the abnormal sensor is received.
    1. Procedures for test mode:
      1. Turn the ignition switch off.
      2. Move the shift lever to the P position.
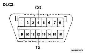
      3. Using SST, connect terminals TS and CG of the DLC3.

        SST 09843-18040 

      4. Turn the ignition switch on (IG).
        Fig 2: Identifying DLC Connector Terminals TS And CG
        G05406590Courtesy of © TOYOTA, LICENSE AGREEMENT TMS1002
      5. Check that the ABS warning light comes on for several seconds and then blinks in test mode.

        HINT:

        If the ABS warning light does not blink, inspect the ABS warning light circuit and TS terminal circuit.

        DIAGNOSTIC TROUBLE CODE CHART

        Trouble area See procedure
        ABS warning light circuit (Remains on) ABS WARNING LIGHT REMAINS ON 
        ABS warning light circuit (Does not come on) ABS WARNING LIGHT DOES NOT COME ON 
        TS and CG terminal circuit TS AND CG TERMINAL CIRCUIT 
      6. Start the engine.
        Fig 3: Blinking Pattern In Test Mode
        G05406591Courtesy of © TOYOTA, LICENSE AGREEMENT TMS1002
    2. Check the speed sensor signal:
      1. Drive the vehicle straight forward. Accelerate the vehicle to a speed of 34 mph (55 km/h) or more.
      2. Depress the brake pedal and check that the ABS warning light goes off.

        HINT:

        • The sensor check may not be completed if the vehicle has its wheels spun or its steering wheel turned during this check.
        • The ABS warning light goes off when the sensor signal check has been completed and the brake pedal is depressed.
        • The ABS warning light comes on immediately after a malfunction has been detected during the speed sensor signal check.
      3. Stop the vehicle.
      4. Using SST, connect terminals TC and CG of the DLC3.

        SST 09843-18040 

      5. Read the number of blinks of the ABS warning light.
        Fig 4: Identifying DLC Connector Terminals TS And CG
        G05406592Courtesy of © TOYOTA, LICENSE AGREEMENT TMS1002
        Fig 5: ABS Warning Light Blinking Pattern
        G05406593Courtesy of © TOYOTA, LICENSE AGREEMENT TMS1002

        HINT:

        • See the list of DTCs (See  3 procedure "A").
        • If every sensor is normal, a normal code will be output (A cycle of 0.25 second ON and 0.25 second OFF is repeated).
        • If 2 or more malfunctions are indicated at the same time, the lowest numbered code will be displayed first.
      6. After performing the check, turn the ignition switch off, and remove the SST from the DLC3.

        SST 09843-18040 

      7. Turn the ignition switch on (IG).

        HINT:

        If the ignition switch is not turned to the ON position after the SST is removed from the DLC3, the previous TEST MODE will continue.

  3. DTC OF SIGNAL CHECK FUNCTION (test mode) (Procedure "A"): 
    DIAGNOSTIC TROUBLE CODE CHART

    Code No. Diagnosis Trouble Area
    C1271/71 Low output voltage of right front speed sensor
    • Front speed sensor RH
    • Front speed sensor circuit RH
    • Sensor installation
    • Sensor rotor
    • Brake actuator assembly (skid control ECU)
    C1272/72 Low output voltage of left front speed sensor
    • Front speed sensor LH
    • Front speed sensor circuit LH
    • Sensor installation
    • Sensor rotor
    • Brake actuator assembly (skid control ECU)
    C1273/73 Low output voltage of right rear speed sensor
    • Rear speed sensor RH
    • Rear speed sensor circuit RH
    • Sensor installation
    • Sensor rotor
    • Brake actuator assembly (skid control ECU)
    C1274/74 Low output voltage of left rear speed sensor
    • Rear speed sensor LH
    • Rear speed sensor circuit LH
    • Sensor installation
    • Sensor rotor
    • Brake actuator assembly (skid control ECU)
    C1275/75 Abnormal change in output voltage of right front speed sensor
    • Front speed sensor RH
    • Front speed sensor circuit RH
    • Sensor installation
    • Sensor rotor
    • Brake actuator assembly (skid control ECU)
    C1276/76 Abnormal change in output voltage of left front speed sensor
    • Front speed sensor RH
    • Front speed sensor circuit RH
    • Sensor installation
    • Sensor rotor
    • Brake actuator assembly (skid control ECU)
    C1277/77 Abnormal change in output voltage of right rear speed sensor
    • Front speed sensor LH
    • Front speed sensor circuit LH
    • Sensor installation
    • Sensor rotor
    • Brake actuator assembly (skid control ECU)
    C1278/78 Abnormal change in output voltage of left rear speed sensor
    • Front speed sensor LH
    • Front speed sensor circuit LH
    • Sensor installation
    • Sensor rotor
    • Brake actuator assembly (skid control ECU)

    HINT:

    The codes in this table are output only in signal check function (test mode).