lemon-mirror:
Home >> Toyota >> 2008 >> Corolla LE, Automatic >> Repair and Diagnosis >> Brakes >> Traction Control >> Brake Control >> Vehicle Stability Control System >> System Diagram

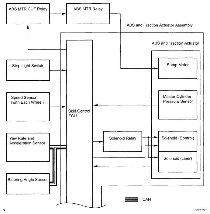
System Diagram

Fig 1: Vehicle Stability Control - System Diagram (1 Of 2)
G05194839Courtesy of © TOYOTA, LICENSE AGREEMENT TMS1002
Fig 2: Vehicle Stability Control - System Diagram (2 Of 2)
G05575965Courtesy of © TOYOTA, LICENSE AGREEMENT TMS1002