lemon-mirror:
Home >> Toyota >> 2008 >> FJ Cruiser 4WD, Automatic >> Repair and Diagnosis >> Engine Performance >> Ignition System >> Engine Ignition System >> Ignition System >> System Diagram

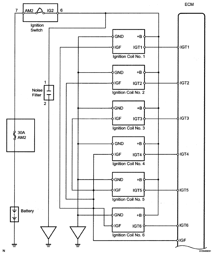
System Diagram

Fig 1: Identifying Ignition System Diagram (1 Of 2)
G05109911Courtesy of © TOYOTA, LICENSE AGREEMENT TMS1002
Fig 2: Identifying Ignition System Diagram (2 Of 2)
G05109912Courtesy of © TOYOTA, LICENSE AGREEMENT TMS1002