lemon-mirror:
Home >> Toyota >> 2008 >> FJ Cruiser RWD >> Repair and Diagnosis >> Electrical >> Body Electrical >> Power Outlets >> Inverter Main Switch >> Components

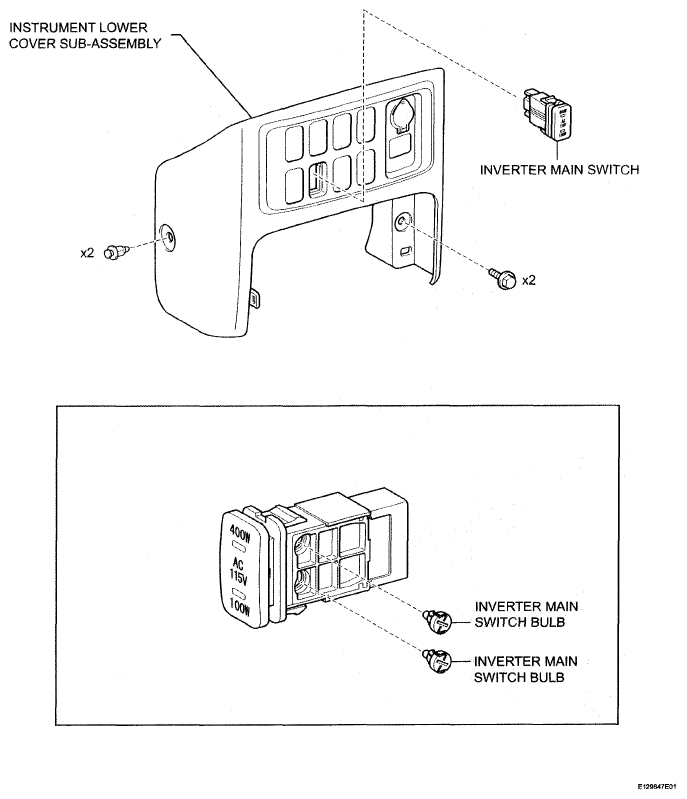
Inverter Main Switch: Components

Fig 1: Identifying Inverter Main Switch Components (1 Of 2)
G05114246Courtesy of © TOYOTA, LICENSE AGREEMENT TMS1002
Fig 2: Identifying Inverter Main Switch Components (2 Of 2)
G05114266Courtesy of © TOYOTA, LICENSE AGREEMENT TMS1002