lemon-mirror:
Home >> Toyota >> 2008 >> Land Cruiser >> Repair and Diagnosis >> Transmission >> Automatic Trans >> Automatic Transmission >> Automatic Transmission Unit >> Reassembly

Automatic Transmission Unit: Reassembly

  1. BEARING POSITION 
    Fig 1: Identifying Bearing Position
    G05629397Courtesy of © TOYOTA, LICENSE AGREEMENT TMS1002

    Bearing and Race Diameter 

    BEARING AND RACE DIAMETER SPECIFICATION

    Mark Front Race Diameter Inside / Outside Thrust Bearing Diameter Inside / Outside Rear Race Diameter Inside / Outside
    A 74.26 to 74.56 mm (2.92 to 2.94 In.) / 87.39 to 87.74 mm (3.44 to 3.45 in.) 71.96 to 72.26 mm (2.83 to 2.84 in.) / 85.25 to 85.6 mm (3.36 to 3.37 in.) -
    B 38.0 to 38.3 mm (1.50 to 1.51 in.) / 53.9 to 54.1 mm (2.12 to 2.13 in.) 36.45 to 36.7 mm (1.44 to 1.45 in.) / 52.96 to 53.26 mm (2.09 to 2.10 in.) -
    C - 21.05 to 21.3 mm (0.829 to 0.839 in.) / 39.63 to 39.88 mm (1.56 to 1.57 in.) 22.8 to 23.1 mm (0.898 to 0.909 in.) / 44.5 to 44.75 mm (1.75 to 1.76 in.)
    D - 39.45 to 39.7 mm (1.55 to 1.56 in.) / 60.5 to 60.75 mm (2.38 to 2.39 in.) -
    E - 46.45 to 46.7 mm (1.83 to 1.84 in.) / 64.3 to 64.55 mm (2.53 to 2.54 in.) -
    F 55.0 to 55.2 mm (2.165 to 2.173 in.) / 68.8 to 69.3 mm (2.71 to 2.73 in.) 54.55 to 54.8 mm (2.15 to 2.16 in.) / 70.0 to 70.5 mm (2.76 to 2.78 in.) -
    G - 65.35 to 65.6 mm (2.57 to 2.58 in.) / 85.6 to 85.95 mm (3.37 to 3.38 in.) 62.85 to 63.1 mm (2.47 to 2.48 in.) / 82.3 to 82.6 mm (3.24 to 3.25 in.)
    H 39.67 to 39.87 mm (1.56 to 1.57 in.) / 56.5 to 57.0 mm (2.22 to 2.24 in.) 36.5 to 36.6 mm (1.437 to 1.441 in.) / 56.62 to 56.92 mm (2.23 to 2.24 in.) 36.45 to 36.7 mm (1.435 to 1.445 in.) / 56.5 to 57.0 mm (2.22 to 2.24 in.)
    I 21.05 to 21.3 mm (0.829 to 0.839 in.) / 39.5 to 39.8 mm (1.56 to 1.57 in.) 23.2 to 23.4 mm (0.913 to 0.921 in.) / 43.9 to 44.15 mm (1.73 to 1.74 in.) -
    J - 43.6 to 43.9 mm (1.72 to 1.73 in.) / 62.3 to 62.8 mm (2.45 to 2.47 in.) 47.15 to 47.4 mm (1.86 to 1.87 in.) / 66.9 to 67.1 mm (2.63 to 2.64 in.)
  2. INSTALL 1ST AND REVERSE BRAKE PISTON 
    1. Coat 3 new O-rings with ATF, and install them to the 1st and reverse brake piston.
      Fig 2: Identifying O-Rings
      G05629398Courtesy of © TOYOTA, LICENSE AGREEMENT TMS1002
    2. Install the 1st and reverse brake piston to the transmission case.
      NOTE:
      • Be careful not to damage the O-ring.
      • Make sure that the parking hole of the brake piston is on the bottom side by engaging the brake piston protrusion to the transmission case spline grooves.
        Fig 3: Installing 1st And Reverse Brake Piston To Transmission Case
        G05629399Courtesy of © TOYOTA, LICENSE AGREEMENT TMS1002
  3. INSTALL 1ST AND REVERSE BRAKE RETURN SPRING SUB-ASSEMBLY 
    1. Place the brake return spring onto the 1st and reverse brake piston.

      SST 09380-60010 (09381-06030, 09381-06040, 09381-06080, 09381-06120, 09381-06130, 09381-05040, 09381-05050) 

    2. Place SST on the spring retainer, and compress the return spring.
    3. Using SST, install the snap ring.

      SST 09350-30020 (09350-07070) 

      Fig 4: Placing SST On Spring Retainer
      G05629400Courtesy of © TOYOTA, LICENSE AGREEMENT TMS1002
  4. SELECT NO. 4 BRAKE FLANGE 
    1. Measure distance A (from the tip of the 1st and reverse brake piston to the step in the transmission case) in the illustration.*1 (see Fig 5)

      HINT:

      Standard distance A: 27.82 to 28.42 mm (1.09 to 1.12 in.)

      Fig 5: Identifying Distance A Between Tip Of 1st And Reverse Brake Piston
      G05629401Courtesy of © TOYOTA, LICENSE AGREEMENT TMS1002
    2. Assemble the No. 4 brake flange, 7 No. 4 brake discs and 6 No. 4 brake plates, and measure distance B in the illustration.*2 (Fig 6)

      HINT:

      Standard distance B: 25.98 to 27.01 mm (1.02 to 1.06 in.)

    3. Fig 6: Identifying Brake Flange, No. 4 Brake Discs And No. 4 Brake Plates
      G05629402Courtesy of © TOYOTA, LICENSE AGREEMENT TMS1002
    4. Apply the A and B measurements taken in *1 and *2 to the graph below (Fig 7). Use A for the X axis and B for the Y axis, and then choose the No. 4 brake selective flange indicated by the graph point.
      Fig 7: Brake Selective Flange Selection Graph
      G05629403Courtesy of © TOYOTA, LICENSE AGREEMENT TMS1002
    5. Measure length H of the selected flange as shown in the illustration (Fig 6).

      HINT:

      Make sure that when the B measurement and H dimension of the selected flange are subtracted from the A measurement, the value is 0.961 to 1.261 mm (0.0378 to 0.0495 in.).

      No. 4 Brake Selected Flange Length H 

      No. 4 BRAKE SELECTED FLANGE LENGTH SPECIFICATION

      Mark Length H
      0 0 mm (0 in.)
      2 0.15 to 0.25 mm (0.00590 to 0.00984 in.)
      4 0.35 to 0.45 mm (0.0138 to 0.0177 in.)
      6 0.55 to 0.65 mm (0.0217 to 0.0256 in.)
      8 0.75 to 0.85 mm (0.0295 to 0.0335 in.)
      10 0.95 to 1.05 mm (0.0374 to 0.0413 in.)
  5. INSTALL REAR PLANETARY GEAR ASSEMBLY 
    1. Install the thrust bearing race.

      HINT:

      Use a small amount of MP grease to make the thrust bearing race stay securely in place.

      Bearing Race Diameter 

      BEARING RACE DIAMETER SPECIFICATION

      Item Inside Outside
      Race J 47.15 to 47.4 mm (1.86 to 1.87 in.) 66.9 to 67.1 mm (2.63 to 2.64 in.)
      Fig 8: Identifying Thrust Bearing Race J
      G05629404Courtesy of © TOYOTA, LICENSE AGREEMENT TMS1002
    2. Install the 2 thrust needle roller bearings to the rear planetary gear.

      Bearing Diameter 

      BEARING DIAMETER SPECIFICATION

      Item Inside Outside
      Bearing I 23.2 to 23.4 mm (0.913 to 0.921 In.) 43.9 to 44.15 mm (1.73 to 1.74 in.)
      Bearing J 43.6 to 43.9 mm (1.72 to 1.73 in.) 62.3 to 62.8 mm (2.45 to 2.47 in.)
      Fig 9: Identifying Bearing J And Bearing I
      G05629405Courtesy of © TOYOTA, LICENSE AGREEMENT TMS1002

      HINT:

      Use a small amount of MP grease to make the thrust needle roller bearings stay securely in place.

    3. Install the rear planetary gear assembly.
      Fig 10: Identifying Rear Planetary Gear
      G05629406Courtesy of © TOYOTA, LICENSE AGREEMENT TMS1002
  6. INSTALL BRAKE PLATE STOPPER SPRING 
    Fig 11: Installing Brake Plate Stopper Spring
    G05629407Courtesy of © TOYOTA, LICENSE AGREEMENT TMS1002
  7. INSTALL REAR PLANETARY RING GEAR 
    1. Install the rear planetary ring gear flange to the rear planetary ring gear.
    2. Using a screwdriver, install the snap ring.
      Fig 12: Installing Snap Ring
      G05629408Courtesy of © TOYOTA, LICENSE AGREEMENT TMS1002
    3. Install the 3 thrust bearing races, thrust needle roller bearing and planetary ring gear with the rear planetary ring gear flange to the intermediate shaft.

      HINT:

      Use a small amount of MP grease to make the thrust needle roller bearing and races stay securely in place.

      Bearing and Race Diameter 

      BEARING AND RACE DIAMETER SPECIFICATION

      Item Inside Outside
      Front race H 39.67 to 39.87 mm (1.56 to 1.57 in.) 56.5 to 57.0 mm (2.22 to 2.24 in.)
      Bearing H 36.5 to 36.6 mm (1.437 to 1.441 in.) 56.62 to 56.92 mm (2.23 to 2.24 in.)
      Rear race H 36.45 to 36.7 mm (1.435 to 1.445 in.) 56.5 to 57.0 mm (2.22 to 2.24 in.)
      Race I 21.05 to 21.3 mm (0.829 to 0.839 in.) 39.5 to 39.8 mm (1.56 to 1.57 in.)
      Fig 13: Identifying Rear Race H, Race I, Bearing H And Front Race H
      G05629409Courtesy of © TOYOTA, LICENSE AGREEMENT TMS1002
  8. INSTALL INTERMEDIATE SHAFT WITH REAR PLANETARY RING GEAR FLANGE AND REAR PLANETARY RING GEAR 
    1. Install the intermediate shaft with the rear planetary ring gear flange and rear planetary ring gear to the transmission case.
      Fig 14: Installing Intermediate Shaft With Rear Planetary Ring Gear Flange And Rear Planetary Ring Gear To Transmission Case
      G05629410Courtesy of © TOYOTA, LICENSE AGREEMENT TMS1002
  9. INSTALL NO. 4 BRAKE DISC SET 
    1. Install the flange, 7 discs, 6 plates and selected flange.

      Install in order: 

      F-D-P-D-P-D-P-D-P-D-P-D-P-D-S/F 

      HINT:

      F = Flange

      D = Disc

      P = Plate

      S/F = Selected flange

      NOTE: Before assembling new discs, soak them in ATF for at least 2 hours.
      Fig 15: Identifying Flange, Discs, Plates And Flange
      G05629411Courtesy of © TOYOTA, LICENSE AGREEMENT TMS1002
  10. INSTALL NO. 3 1-WAY CLUTCH INNER RACE 
    1. Install the 1 -way clutch inner race to the No. 3 1-way clutch assembly.
      NOTE: Do not mistake the direction of the 1-way clutch inner race.
  11. INSPECT NO. 3 1-WAY CLUTCH ASSEMBLY  (See INSPECTION  )
    Fig 16: Installing No. 3 1-Way Clutch Inner Race
    G05629412Courtesy of © TOYOTA, LICENSE AGREEMENT TMS1002
  12. INSTALL NO. 3 1-WAY CLUTCH ASSEMBLY 
    1. Install the 1-way clutch assembly to the transmission case.
      Fig 17: Identifying 1-Way Clutch Assembly
      G05629413Courtesy of © TOYOTA, LICENSE AGREEMENT TMS1002
    2. Using SST, install the snap ring.

      SST 09350-30020 (09350-07060) 

      Fig 18: Installing Snap Ring
      G05629414Courtesy of © TOYOTA, LICENSE AGREEMENT TMS1002
  13. INSTALL NO. 2 BRAKE PISTON 
    1. Coat 2 new O-rings with ATF, and install them to the brake piston.
    2. Press the brake piston into the brake cylinder with both hands.
      NOTE: Be careful not to damage the O-rings.
      Fig 19: Identifying O-Ring
      G05629415Courtesy of © TOYOTA, LICENSE AGREEMENT TMS1002
  14. INSTALL NO. 2 BRAKE CYLINDER WITH NO. 2 BRAKE PISTON 
    1. Install the No. 2 brake cylinder with piston to the transmission case.
      Fig 20: Identifying No. 2 Brake Cylinder With No. 2 Brake Piston
      G05629416Courtesy of © TOYOTA, LICENSE AGREEMENT TMS1002
      NOTE:
      • When installing the No. 2 brake cylinder with piston to the transmission case, align and install the cylinder claw to the case top groove.
      • Make sure the No. 2 brake cylinder with piston is securely inserted into the transmission case.
        Fig 21: Locating Case Top Groove
        G05629417Courtesy of © TOYOTA, LICENSE AGREEMENT TMS1002
  15. SELECT NO. 2 BRAKE FLANGE 
    1. Install the No. 2 brake piston return spring and flange to the No. 2 brake piston.
    2. Place SST on the brake flange and compress the brake return spring.

      SST 09380-60010 (09381-06010, 09381-06020, 09381-06050, 09381-06070, 09381-06090, 09381-06120) 

    3. Using a screwdriver, install the snap ring to the transmission case.
      Fig 22: Removing Snap Ring From Transmission Case
      G05629418Courtesy of © TOYOTA, LICENSE AGREEMENT TMS1002
    4. Measure distance A (from the top surface of the snap ring to the top surface of the brake piston return spring retainer) in the illustration.*1 (see Fig 23)

      HINT:

      Standard distance A: 21.00 to 21.76 mm (0.834 to 0.857 in.)

      Fig 23: Identifying Distance A Between Top Surface Of Snap Ring To Top Surface Of Brake Piston Return Spring Retainer
      G05629419Courtesy of © TOYOTA, LICENSE AGREEMENT TMS1002
    5. Assemble the 4 discs, 3 plates and flange as shown in the illustration (Fig 24). Then with a fixture of 165.2 mm (6.50 in.) or less placed on the flange, measure distance B.*2

      HINT:

      Standard distance B: 16.54 to 17.15 mm (0.651 to 0.675 in.)

      Fig 24: Identifying Discs, Plates And Flange
      G05629420Courtesy of © TOYOTA, LICENSE AGREEMENT TMS1002
    6. Apply the A and B measurements taken in *1 and *2 to the graph below (Fig 25). Use A for the X axis and B for the Y axis, and then choose the flange indicated by the graph point.
      Fig 25: Flange Selection Graph
      G05629421Courtesy of © TOYOTA, LICENSE AGREEMENT TMS1002

      HINT:

      Make sure that when the B measurement and selected flange thickness are subtracted from the A measurement, the value is 2.20 to 2.50 mm (0.0866 to 0.0984 in.).

      Flange Thickness 

      FLANGE THICKNESS SPECIFICATION

      Mark Thickness
      0 1.95 to 2.05 mm (0.0768 to 0.0807 in.)
      1 2.05 to 2.15 mm (0.0807 to 0.0846 in.)
      2 2.15 to 2.25 mm (0.0846 to 0.0886 in.)
      3 2.25 to 2.35 mm (0.0886 to 0.0925 in.)
      4 2.35 to 2.45 mm (0.0925 to 0.0965 in.)
      5 2.45 to 2.55 mm (0.0965 to 0.100 in.)
      6 2.55 to 2.65 mm (0.100 to 0.104 in.)
      7 2.65 to 2.75 mm (0.104 to 0.108 in.)
    7. Remove the snap ring, flange and No. 2 brake piston return spring from the transmission case.
  16. INSTALL NO. 2 BRAKE DISC SET 
    1. Install the brake piston return spring, selected flange, 4 discs, 3 plates and flange.

      Install in order: 

      S/F-D-P-D-P-D-P-D-F 

      HINT:

      S/F = Selected flange

      D = Disc

      P = Plate

      F = Flange

      Fig 26: Identifying Brake Piston Return Spring, Discs, Plates And Flange
      G05629422Courtesy of © TOYOTA, LICENSE AGREEMENT TMS1002
      NOTE: Before assembling new discs, soak them in ATF for at least 2 hours.
    2. Place SST on the brake flange and compress the brake return spring.

      SST 09380-60010 (09381-06010, 09381-06020, 09381-06050, 09381-06070, 09381-06090, 09381-06120) 

    3. Using a screwdriver, install the snap ring to the transmission case.
      Fig 27: Removing Snap Ring From Transmission Case
      G05629423Courtesy of © TOYOTA, LICENSE AGREEMENT TMS1002
  17. INSTALL CENTER PLANETARY GEAR ASSEMBLY 
    1. Install the center planetary sun gear and center planetary gear to the transmission case.
      NOTE: Make sure to install the center planetary sun gear with the groove facing the transmission case.
      Fig 28: Installing Center Planetary Gear Assembly
      G05629424Courtesy of © TOYOTA, LICENSE AGREEMENT TMS1002
  18. INSTALL NO. 1 BRAKE PISTON 
    1. Coat 2 new O-rings with ATF, and install them to the brake piston.
    2. Press the brake piston into the brake cylinder with both hands.
      NOTE: Be careful not to damage the O-rings.
      Fig 29: Identifying O-Rings
      G05629425Courtesy of © TOYOTA, LICENSE AGREEMENT TMS1002
  19. INSTALL NO. 1 BRAKE CYLINDER WITH NO. 1 BRAKE PISTON 
    1. Install the No. 1 brake cylinder with piston and brake piston return spring to the transmission case.
      Fig 30: Identifying Brake Piston Return Spring And No. 1 Brake Piston
      G05629426Courtesy of © TOYOTA, LICENSE AGREEMENT TMS1002
      NOTE:
      • When installing the No. 1 brake cylinder with piston to the transmission case, align and install the cylinder claw to the case top groove.
      • Make sure the No. 1 brake cylinder with piston is securely inserted into the transmission case.
        Fig 31: Locating Case Top Groove
        G05629427Courtesy of © TOYOTA, LICENSE AGREEMENT TMS1002
    2. Place SST on the brake return spring and compress the brake return spring.

      SST 09380-60010 (09381-06010, 09381-06020, 09381-06050, 09381-06060, 09381-06090, 09381-06100, 09381-06110, 09381-06120) 

    3. Using a screwdriver, install the snap ring to the transmission case.
      Fig 32: Installing Snap Ring To Transmission Case
      G05629428Courtesy of © TOYOTA, LICENSE AGREEMENT TMS1002
  20. SELECT NO. 1 BRAKE FLANGE 
    1. Measure distance A (from the step in the transmission case to the tip of the No. 1 brake piston) in the illustration.*1 (see Fig 33)

      HINT:

      Standard distance A: 19.74 to 20.22 mm (0.777 to 0.796 in.)

      Fig 33: Identifying Distance A From Transmission Case To Tip Of No. 1 Brake Piston
      G05629429Courtesy of © TOYOTA, LICENSE AGREEMENT TMS1002
    2. Assemble the 4 plates and 4 discs and measure distance B in the illustration.*2 (Fig 34)

      HINT:

      Standard distance B: 16.72 to 17.19 mm (0.658 to 0.677 in.)

      Fig 34: Identifying Plates And Discs
      G05629430Courtesy of © TOYOTA, LICENSE AGREEMENT TMS1002
    3. Apply the A and B measurements taken in *1 and *2 to the graph below (Fig 35). Use A for the X axis and B for the Y axis, and then choose the flange indicated by the graph point.
      Fig 35: Flange Selection Graph
      G05629431Courtesy of © TOYOTA, LICENSE AGREEMENT TMS1002

      HINT:

      Make sure that when the B measurement and selected flange thickness are subtracted from the A measurement, the value is 0.56 to 0.86 mm (0.0220 to 0.0339 in.).

      Flange Thickness 

      FLANGE THICKNESS SPECIFICATION

      Mark Thickness
      0 1.95 to 2.05 mm (0.0768 to 0.0807 in.)
      1 2.15 to 2.25 mm (0.0846 to 0.0886 in.)
      2 2.35 to 2.45 mm (0.0925 to 0.0965 in.)
      3 2.55 to 2.65 mm (0.100 to 0.104 in.)
  21. INSTALL CENTER PLANETARY RING GEAR 
    1. Install the front planetary ring gear flange to the center planetary ring gear.
      Fig 36: Identifying Center Planetary Ring Gear And Front Planetary Ring Gear Flange
      G05629432Courtesy of © TOYOTA, LICENSE AGREEMENT TMS1002
    2. Using a screwdriver, install the snap ring.
      Fig 37: Installing Snap Ring
      G05629433Courtesy of © TOYOTA, LICENSE AGREEMENT TMS1002
  22. INSTALL FRONT PLANETARY RING GEAR 
    1. Install the front planetary ring gear to the center planetary ring gear.
      Fig 38: Identifying Front Planetary Ring Gear And Center Planetary Ring Gear
      G05629434Courtesy of © TOYOTA, LICENSE AGREEMENT TMS1002
  23. INSTALL FRONT PLANETARY RING GEAR WITH FRONT PLANETARY RING GEAR FLANGE SUBASSEMBLY AND CENTER PLANETARY RING GEAR 
    1. Install the thrust bearing race and thrust needle roller bearing.

      HINT:

      Use a small amount of MP grease to make the thrust needle roller bearing and race stay securely in place.

      Fig 39: Identifying Thrust Bearing Race And Thrust Needle Roller Bearing
      G05629435Courtesy of © TOYOTA, LICENSE AGREEMENT TMS1002

      Bearing and Race Diameter 

      BEARING AND RACE DIAMETER SPECIFICATION

      Item Inside Outside
      Race 62.85 to 63.1 mm (2.47 to 2.48 in.) 82.3 to 82.6 mm (3.24 to 3.25 in.)
      Bearing 65.35 to 65.6 mm (2.57 to 2.58 in.) 85.6 to 85.95 mm (3.37 to 3.38 in.)
    2. Install the front planetary ring gear with the front planetary ring gear flange and center planetary ring gear to the transmission case.
  24. INSTALL FRONT PLANETARY GEAR ASSEMBLY 
    1. Install the No. 2 planetary carrier thrust washer to the front planetary gear.

      HINT:

      Use a small amount of MP grease to make the thrust washer stay securely in place.

      Fig 40: Identifying No. 2 Planetary Carrier Thrust Washer And Front Planetary Gear
      G05629436Courtesy of © TOYOTA, LICENSE AGREEMENT TMS1002
    2. Install the thrust needle roller bearing, thrust bearing race, front planetary sun gear and front planetary gear.

      HINT:

      Use a small amount of MP grease to make the thrust needle roller bearing and race stay securely in place.

      Bearing Diameter 

      BEARING DIAMETER SPECIFICATION

      Item Inside Outside
      Bearing 54.55 to 54.8 mm (2.15 to 2.16 in.) 70.0 to 70.5 mm (2.76 to 2.78 in.)
      Race 55.0 to 55.2 mm (2.165 to 2.173 in.) 68.8 to 69.3 mm (2.71 to 2.73 in.)
      Fig 41: Identifying Thrust Needle Roller Bearing And Thrust Bearing Race
      G05629437Courtesy of © TOYOTA, LICENSE AGREEMENT TMS1002
  25. INSTALL 1-WAY CLUTCH INNER RACE SUBASSEMBLY 
    1. Apply the No. 1 planetary carrier thrust washer to the 1-way clutch inner race, and then install them to the 1-way clutch.

      HINT:

      Use a small amount of MP grease to make the thrust washer stay securely in place.

      Fig 42: Identifying 1-Way Clutch Inner Race Subassembly
      G05629438Courtesy of © TOYOTA, LICENSE AGREEMENT TMS1002
  26. INSPECT 1-WAY CLUTCH ASSEMBLY  (See INSPECTION  )
  27. INSTALL 1-WAY CLUTCH ASSEMBLY WITH 1-WAY CLUTCH INNER RACE SUB-ASSEMBLY 
    1. Install the 1-way clutch with the 1-way clutch inner race to the transmission case.
      Fig 43: Identifying 1-Way Clutch With 1-Way Clutch Inner Race
      G05629439Courtesy of © TOYOTA, LICENSE AGREEMENT TMS1002
  28. INSTALL NO. 1 BRAKE DISC SET 
    1. Install the 4 plates, 4 discs and flange.

      Install in order: 

      P-D-P-D-P-D-P-D-F 

      HINT:

      P = Plate

      D = Disc

      F = Flange

      NOTE: Before assembling new discs, soak them in ATF for at least 2 hours.
      Fig 44: Identifying Plates, Discs And Flange
      G05629440Courtesy of © TOYOTA, LICENSE AGREEMENT TMS1002
  29. INSTALL NO. 3 BRAKE PISTON 
    1. Coat 2 new O-rings with ATF, and install them to the brake piston.
    2. Press the brake piston into the brake cylinder with both hands.
      NOTE: Be careful not to damage the O-rings.
      Fig 45: Identifying O-Ring
      G05629441Courtesy of © TOYOTA, LICENSE AGREEMENT TMS1002
    3. Using SST and a press, compress the return spring and install the snap ring with a screwdriver.

      SST 09380-60010 (09381-06020, 09381-06040, 09381-06060, 09381-06100, 09381-06110) 

      NOTE: Be sure the end gap of the snap ring is not aligned with the spring retainer claw.
      Fig 46: Installing Snap Ring With Screwdriver
      G05629442Courtesy of © TOYOTA, LICENSE AGREEMENT TMS1002
  30. INSTALL NO. 3 BRAKE CYLINDER WITH NO. 3 BRAKE PISTON AND NO. 3 BRAKE PISTON RETURN SPRING SUB-ASSEMBLY 
    Fig 47: Identifying No. 3 Brake Piston Return Spring
    G05629443Courtesy of © TOYOTA, LICENSE AGREEMENT TMS1002
    1. Install the No. 3 brake cylinder with the No. 3 brake piston and No. 3 brake piston return spring to the transmission case.
      NOTE:
      • Align the oil holes of the No. 3 brake cylinder and transmission case as shown in the illustration (Fig 48).
      • Make sure the No. 3 brake piston and cylinder are securely inserted into the transmission case.
        Fig 48: Aligning Oil Holes Of No. 3 Brake Cylinder And Transmission Case
        G05629444Courtesy of © TOYOTA, LICENSE AGREEMENT TMS1002
  31. INSTALL NO. 3 BRAKE PISTON HOLE SNAP RING 
    1. Using SST, install the snap ring.

      SST 09350-30020 (09350-07060) 

      Fig 49: Installing Snap Ring
      G05629445Courtesy of © TOYOTA, LICENSE AGREEMENT TMS1002
  32. INSTALL NO. 3 BRAKE DISC SET 
    1. Install the "O" mark flange, 4 discs, 3 plates and "A" mark flange to the transmission case.

      Install in order: 

      OF-D-P-D-P-D-P-D-AF 

      HINT:

      OF = "O" mark flange

      P = Plate

      D = Disc

      AF = "A" mark flange

      Fig 50: Identifying Flange, Discs And Plates
      G05629446Courtesy of © TOYOTA, LICENSE AGREEMENT TMS1002
      NOTE: Before assembling new discs, soak them in ATF for at least 2 hours.
  33. INSTALL NO. 3 BRAKE SNAP RING 
    1. Using a screwdriver, install the snap ring.
      Fig 51: Installing No. 3 Brake Snap Ring
      G05629447Courtesy of © TOYOTA, LICENSE AGREEMENT TMS1002
  34. INSTALL DIRECT CLUTCH PISTON SUB-ASSEMBLY 
    1. Coat 2 new O-rings with ATF, and install them to the direct clutch piston.
      Fig 52: Identifying O-Ring
      G05629448Courtesy of © TOYOTA, LICENSE AGREEMENT TMS1002
    2. Install the direct clutch return spring and No. 2 clutch balancer to the direct clutch piston.
      Fig 53: Identifying No. 2 Clutch Balancer And Direct Clutch Return Spring Sub-Assembly
      G05629449Courtesy of © TOYOTA, LICENSE AGREEMENT TMS1002
    3. Press the direct clutch piston with the clutch return spring and clutch balancer into the reverse clutch piston with both hands.
      NOTE: Be careful not to damage the O-ring.
      Fig 54: Identifying Direct Clutch Piston With Clutch Return Spring
      G05629450Courtesy of © TOYOTA, LICENSE AGREEMENT TMS1002
    4. Place SST on the direct clutch balancer, and compress the return spring with a press.

      SST 09380-60010 (09381-06030, 09381-06040, 09381-06080) 

      NOTE: Stop pressing when the spring sheet is lowered to a position 1 to 2 mm (0.0394 to 0.0787 in.) from the snap ring groove to prevent the spring sheet from being deformed.
      Fig 55: Compressing Return Spring With Press
      G05629451Courtesy of © TOYOTA, LICENSE AGREEMENT TMS1002
    5. Using SST, install the snap ring.

      SST 09350-30020 (09350-07070) 

      NOTE: Do not expand the snap ring excessively.
    6. Set the end gap of the snap ring in the balancer as shown in the illustration (Fig 56).
      NOTE: Be sure the end gap of the snap ring is not aligned with the spring retainer claw.
      Fig 56: Identifying End Gap Of Snap Ring In Balancer
      G05629452Courtesy of © TOYOTA, LICENSE AGREEMENT TMS1002
  35. INSTALL REVERSE CLUTCH PISTON SUBASSEMBLY 
    1. Coat a new O-ring with ATF, and install it to the clutch drum.
      Fig 57: Identifying O-Ring
      G05629453Courtesy of © TOYOTA, LICENSE AGREEMENT TMS1002
    2. Coat a new O-ring with ATF, and install it to the reverse clutch piston.
      Fig 58: Identifying O-Ring
      G05629454Courtesy of © TOYOTA, LICENSE AGREEMENT TMS1002
    3. Pass the clutch drum into the reverse clutch piston with both hands.
      NOTE:
      • Be careful not to damage the O-ring.
      • Make sure to align the holes of the reverse clutch piston and clutch drum as shown in the illustration (Fig 59).
      • Make sure to align the protrusions of the reverse clutch piston and the cutout of the clutch drum.
        Fig 59: Installing Clutch Drum Into Reverse Clutch Piston
        G05629455Courtesy of © TOYOTA, LICENSE AGREEMENT TMS1002
  36. INSTALL NO. 3 CLUTCH BALANCER 
    1. Coat a new O-ring with ATF, and install it to the reverse clutch piston.
    2. Install the reverse clutch return spring and balancer onto the reverse clutch piston.
      Fig 60: Identifying O-Ring
      G05629456Courtesy of © TOYOTA, LICENSE AGREEMENT TMS1002
    3. Place SST on the clutch balancer, and compress the clutch balancer with a press.

      SST 09380-60010 (09381-06020, 09381-06030, 09381-06040, 09381-06050, 09381-06070, 09381-06080) 

      Fig 61: Compressing Clutch Balancer With Press
      G05629457Courtesy of © TOYOTA, LICENSE AGREEMENT TMS1002
      NOTE: Stop pressing when the spring sheet is lowered to a position 1 to 2 mm (0.0394 to 0.0787 in.) from the snap ring groove to prevent the spring sheet from being deformed.
    4. Using SST, install the snap ring.

      SST 09350-30020 (09350-07070) 

      NOTE: Do not expand the snap ring excessively.
    5. Set the end gap of the snap ring in the piston as shown in the illustration (Fig 62).
      NOTE: Be sure the end gap of the snap ring is not aligned with the spring retainer claw.
      Fig 62: Identifying End Gap Of Snap Ring In Piston
      G05629458Courtesy of © TOYOTA, LICENSE AGREEMENT TMS1002
  37. INSTALL DIRECT CLUTCH DISC 
    1. Place the oil pump onto the torque converter clutch, and then place the clutch drum onto the oil pump.
    2. Install the 5 plates, 5 discs and reverse clutch flange to the clutch drum.

      Install in order: 

      P-D-P-D-P-D-P-D-P-D-F 

      HINT:

      P = Plate

      D = Disc

      F = Flange

      NOTE: Before assembling new discs, soak them in ATF for at least 2 hours.
      Fig 63: Identifying Plates, Discs And Reverse Clutch Flange
      G05629459Courtesy of © TOYOTA, LICENSE AGREEMENT TMS1002
    3. Using a screwdriver, install the snap ring to the clutch drum.
    4. Using a dial indicator, measure the moving distance (A) of the clutch flange at both ends across the diameter while blowing compressed air (392 kPa, 2.0 kgf/cm2 , 57 psi) into the oil hole as shown in the illustration (Fig 64). Then choose from the 9 flange thicknesses in the table so that the measured value is within the standard value.

      Standard moving distance (A): 

      0.58 to 0.88 mm (0.0228 to 0.0346 in.) 

      Fig 64: Installing Snap Ring To Clutch Drum
      G05629460Courtesy of © TOYOTA, LICENSE AGREEMENT TMS1002
      Fig 65: Measuring Moving Distance Of Clutch Flange
      G05629461Courtesy of © TOYOTA, LICENSE AGREEMENT TMS1002

      Flange Thickness 

      FLANGE THICKNESS SPECIFICATION

      Mark Thickness
      0 3.45 to 3.55 mm (0.136 to 0.140 in.)
      1 3.55 to 3.65 mm (0.140 to 0.144 in.)
      2 3.65 to 3.75 mm (0.144 to 0.148 in.)
      3 3.75 to 3.85 mm (0.148 to 0.152 in.)
      4 3.85 to 3.95 mm (0.152 to 0.156 in.)
      5 3.95 to 4.05 mm (0.156 to 0.159 In.)
      6 4.05 to 4.15 mm (0.159 to 0.163 in.)
      7 4.15 to 4.25 mm (0.163 to 0.167 in.)
      8 4.25 to 4.35 mm (0.167 to 0.171 in.)
    5. Temporarily remove the snap ring, install the selected flange and reinstall the snap ring.
  38. SELECT REVERSE CLUTCH FLANGE 
    1. Using a screwdriver, install the snap ring to the clutch drum.
      NOTE: Make sure to install the direct clutch and reverse clutch snap rings so that their openings face opposite directions.
      Fig 66: Installing Snap Ring To Clutch Drum
      G05629462Courtesy of © TOYOTA, LICENSE AGREEMENT TMS1002
    2. Install the flange, 5 discs, 4 plates, selected flange, cushion plate and reverse clutch reaction sleeve to the clutch drum.

      Install in order: 

      F-D-P-D-P-D-P-D-P-D-S/F-C 

      HINT:

      F = Flange

      D = Disc

      P = Plate

      S/F = Selected flange

      C = Cushion plate

      Fig 67: Identifying Flange, Discs, Plates, Cushion Plate And Reverse Clutch Reaction Sleeve
      G05629463Courtesy of © TOYOTA, LICENSE AGREEMENT TMS1002
    3. Using a screwdriver, install the hole snap ring.
    4. Using a dial indicator, measure the moving distance (A minus B) of the tip of the reverse clutch piston (A) and cushion plate at both ends across the diameter (B) while blowing compressed air (392 kPa, 2.0 kgf/cm2 , 57 psi) into the oil hole as shown in the illustration (Fig 68). Then choose from the 12 flange thicknesses in the table so that the measured value is within the standard value.
      Fig 68: Installing Hole Snap Ring
      G05629464Courtesy of © TOYOTA, LICENSE AGREEMENT TMS1002
      Fig 69: Measuring Moving Distance Of Tip Of Reverse Clutch Piston And Cushion Plate
      G05629465Courtesy of © TOYOTA, LICENSE AGREEMENT TMS1002

      Standard moving distance (A minus B): 

      0.59 to 0.89 mm (0.0232 to 0.0350 in.) 

      Flange Thickness 

      FLANGE THICKNESS SPECIFICATION

      Mark Thickness
      0 2.35 to 2.45 mm (0.0925 to 0.0965 in.)
      1 2.45 to 2.55 mm (0.0965 to 0.100 in.)
      2 2.55 to 2.65 mm (0.100 to 0.104 In.)
      3 2.65 to 2.75 mm (0.104 to 0.108 in.)
      4 2.75 to 2.85 mm (0.108 to 0.112 in.)
      5 2.85 to 2.95 mm (0.112 to 0.116 in.)
      6 2.95 to 3.05 mm (0.116 to 0.120 in.)
      7 3.05 to 3.15 mm (0.120 to 0.124 in.)
      8 3.15 to 3.25 mm (0.124 to 0.128 in.)
      A 3.25 to 3.35 mm (0.128 to 0.132 In.)
      B 3.35 to 3.45 mm (0.132 to 0.136 in.)
      C 3.45 to 3.55 mm (0.136 to 0.140 in.)
    5. Remove the snap ring, reverse clutch reaction sleeve and rear clutch disc set from the clutch drum.
      Fig 70: Identifying Reverse Clutch Reaction Sleeve And Rear Clutch Disc Set
      G05629466Courtesy of © TOYOTA, LICENSE AGREEMENT TMS1002
  39. INSTALL FORWARD CLUTCH PISTON SUBASSEMBLY AND COAST CLUTCH PISTON 
    1. Coat a new O-ring with ATF, and install it to the input shaft.
      Fig 71: Identifying O-Ring
      G05629467Courtesy of © TOYOTA, LICENSE AGREEMENT TMS1002
    2. Install the forward clutch piston and coast clutch piston to the input shaft.
      Fig 72: Identifying Forward Clutch Piston And Coast Clutch Piston
      G05629468Courtesy of © TOYOTA, LICENSE AGREEMENT TMS1002
    3. Coat a new O-ring with ATF, and install it to the No. 1 clutch balancer.
      Fig 73: Identifying O-Ring
      G05629469Courtesy of © TOYOTA, LICENSE AGREEMENT TMS1002
    4. Install the forward clutch return spring and No. 1 clutch balancer to the input shaft.
      NOTE: Be careful not to damage the O-rings.
      Fig 74: Identifying No. 1 Clutch Balancer And Forward Clutch Return Spring
      G05629470Courtesy of © TOYOTA, LICENSE AGREEMENT TMS1002
    5. Place SST on the No. 1 clutch balancer, and compress the return spring with a press.

      SST 09350-30020 (09350-07040) 

      NOTE: Stop pressing when the spring sheet is lowered to a position 1 to 2 mm (0.0394 to 0.0787 in.) from the snap ring groove to prevent the spring sheet from being deformed.
      Fig 75: Placing SST On No. 1 Clutch Balancer
      G05629471Courtesy of © TOYOTA, LICENSE AGREEMENT TMS1002
    6. Using SST, install the snap ring.

      SST 09350-30020 (09350-07070) 

      NOTE: Do not expand the snap ring excessively.
    7. Set the end gap of the snap ring in the balancer as shown in the illustration (Fig 76).
      NOTE: Be sure the end gap of the snap ring is not aligned with the spring retainer claw.
      Fig 76: Identifying Snap Ring Correct And Incorrect Gap
      G05629472Courtesy of © TOYOTA, LICENSE AGREEMENT TMS1002
  40. INSTALL COAST CLUTCH DISC SET 
    1. Install the 4 plates, 4 discs and flange.

      Install in order: 

      P-D-P-D-P-D-P-D-F 

      HINT:

      P = Plate

      D = Disc

      F = Flange

      Fig 77: Identifying Plates, Discs And Flange
      G05629473Courtesy of © TOYOTA, LICENSE AGREEMENT TMS1002
      NOTE: Before assembling new discs, soak them in ATF for at least 2 hours.
    2. Temporarily install the snap ring.
      Fig 78: Installing Snap Ring
      G05629474Courtesy of © TOYOTA, LICENSE AGREEMENT TMS1002
    3. Using a dial indicator, measure the moving distance (A) of the clutch flange at both ends across the diameter while blowing compressed air (196 kPa, 2.0 kgf/cm2 , 28 psi) into the oil hole as shown in the illustration (Fig 79). Then choose from the 11 flange thicknesses in the table so that the measured value is within the standard value.

      Standard moving distance (A): 

      0.41 to 0.71 mm (0.0161 to 0.0280 in.) 

      Flange Thickness 

      FLANGE THICKNESS SPECIFICATION

      Mark Thickness
      0 2.95 to 3.0S mm (0.116 to 0.120 in.)
      1 3.05 to 3.15 mm (0.120 to 0.124 in.)
      2 3.15 to 3.25 mm (0.124 to 0.128 in.)
      3 3.25 to 3.35 mm (0.128 to 0.132 in.)
      4 3.35 to 3.45 mm (0.132 to 0.136 in.)
      5 3.45 to 3.55 mm (0.136 to 0.140 in.)
      6 3.55 to 3.65 mm (0.140 to 0.144 in.)
      7 3.65 to 3.75 mm (0.144 to 0.148 in.)
      8 3.75 to 3.85 mm (0.148 to 0.152 in.)
      A 3.85 to 3.95 mm (0.152 to 0.156 in.)
      B 3.95 to 4.05 mm (0.156 to 0.159 in.)
      Fig 79: Measuring Moving Distance (A) Of Clutch Flange
      G05629475Courtesy of © TOYOTA, LICENSE AGREEMENT TMS1002
    4. Temporarily remove the snap ring, install the selected flange and reinstall the snap ring.
  41. INSTALL NO. 4 1-WAY CLUTCH ASSEMBLY 
    1. Install the No. 2 clutch hub thrust washer to the coast clutch hub.

      HINT:

      Use a small amount of MP grease to make the thrust washer stay securely in place.

    2. Install the 1-way clutch to the coast clutch hub.
  42. INSPECT NO. 4 1-WAY CLUTCH ASSEMBLY  (See INSPECTION  )
    Fig 80: Identifying No. 4 1-Way Clutch Assembly
    G05629476Courtesy of © TOYOTA, LICENSE AGREEMENT TMS1002
  43. INSTALL COAST CLUTCH HUB SUB-ASSEMBLY WITH NO. 4 1-WAY CLUTCH ASSEMBLY 
    1. Install the 2 thrust needle roller bearings, thrust bearing race and coast clutch hub with the No. 4 1-way clutch to the input shaft.

      HINT:

      Use a small amount of MP grease to make the thrust needle roller bearings and race stay securely in place.

      Fig 81: Identifying Thrust Needle Roller Bearings And Thrust Bearing Race
      G05629477Courtesy of © TOYOTA, LICENSE AGREEMENT TMS1002

      Bearing and Race Diameter 

      BEARING AND RACE DIAMETER SPECIFICATION

      Item Inside Outside
      Bearing C 21.05 to 21.3 mm (0.829 to 0.839 in.) 39.63 to 39.88 mm (1.56 to 1.57 in.)
      Race 22.8 to 23.1 mm (0.898 to 0.909 in.) 44.5 to 44.75 mm (1.75 to 1.76 in.)
      Bearing D 39.45 to 39.7 mm (1.55 to 1.56 in.) 60.5 to 60.75 mm (2.38 to 2.39 in.)
  44. INSTALL FORWARD MULTIPLE DISC CLUTCH DISC SET 
    1. Install the cushion plate, 6 plates, 6 discs and flange to the input shaft.

      Install in order: 

      C-P-D-P-D-P-D-P-D-P-D-P-D-F 

      HINT:

      C = Cushion plate

      P = Plate

      D = Disc

      F = Flange

      NOTE: Before assembling new discs, soak them in ATF for at least 2 hours.
      Fig 82: Identifying Cushion Plate, Plates, Discs And Flange
      G05629478Courtesy of © TOYOTA, LICENSE AGREEMENT TMS1002
    2. Temporarily install the snap ring.
      Fig 83: Installing Snap Ring
      G05629479Courtesy of © TOYOTA, LICENSE AGREEMENT TMS1002
    3. Using a dial indicator, measure the moving distance (A) of the clutch flange at both ends across the diameter while blowing compressed air (196 kPa, 2.0 kgf/cm2 , 28 psi) into the oil hole as shown in the illustration (Fig 84). Then choose from the 12 flange thicknesses in the table so that the measured value is within the standard value.

      Standard moving distance (A): 

      0.85 to 1.15 mm (0.0335 to 0.0453 in.) 

      Flange Thickness 

      FLANGE THICKNESS SPECIFICATION

      Mark Thickness
      0 2.95 to 3.05 mm (0.116 to 0.120 in.)
      1 3.05 to 3.15 mm (0.120 to 0.124 in.)
      2 3.15 to 3.25 mm (0.124 to 0.128 in.)
      3 3.25 to 3.35 mm (0.128 to 0.132 in.)
      4 3.35 to 3.45 mm (0.132 to 0.136 in.)
      5 3.45 to 3.55 mm (0.136 to 0.140 in.)
      6 3.55 to 3.65 mm (0.140 to 0.144 in.)
      7 3.65 to 3.75 mm (0.144 to 0.148 in.)
      8 3.75 to 3.85 mm (0.148 to 0.152 in.)
      A 3.85 to 3.95 mm (0.152 to 0.156 in.)
      B 3.95 to 4.05 mm (0.156 to 0.159 in.)
      C 4.05 to 4.15 mm (0.159 to 0.163 in.)
      Fig 84: Measuring Moving Distance (A) Of Clutch Flange
      G05629480Courtesy of © TOYOTA, LICENSE AGREEMENT TMS1002
    4. Temporarily remove the snap ring, install the selected flange and reinstall the snap ring.
  45. INSTALL INPUT SHAFT OIL SEAL RING 
    1. Overlap the seal ring edges in the axial direction.
      NOTE:
      • Overlapping the seal ring edges in the axial direction prevents damage to the seal ring.
      • Do not overlap the seal ring edges in the radial direction, as this may damage the seal ring.
        Fig 85: Identifying Input Shaft Oil Seal Ring Installation Position
        G05629481Courtesy of © TOYOTA, LICENSE AGREEMENT TMS1002
    2. Coat 4 new oil seal rings with ATF.
    3. Squeeze the ends of the 4 oil seal rings together, and then install them to the input shaft groove.
      NOTE: Do not excessively widen the rings.

      HINT:

      After installing the oil seal rings, check that they rotate smoothly.

      Fig 86: Identifying Oil Seal Rings
      G05629482Courtesy of © TOYOTA, LICENSE AGREEMENT TMS1002
  46. INSTALL INPUT SHAFT ASSEMBLY 
    1. Install the input shaft to the clutch drum.
      Fig 87: Identifying Input Shaft Assembly
      G05629483Courtesy of © TOYOTA, LICENSE AGREEMENT TMS1002
  47. INSTALL FORWARD CLUTCH HUB SUB-ASSEMBLY 
    1. Install the No. 3 clutch hub thrust washer, forward clutch hub and thrust needle roller bearing to the clutch drum.
      NOTE: Before installing the forward clutch hub, apply ATF to the forward clutch hub bush sliding surfaces. After the installation, check that the forward clutch hub rotates smoothly.
      Fig 88: Identifying Thrust Needle Roller Bearing, Forward Clutch Hub And No.3 Clutch Hub
      G05629484Courtesy of © TOYOTA, LICENSE AGREEMENT TMS1002

      HINT:

      Use a small amount of MP grease to make the thrust needle roller bearing and thrust washer stay securely in place.

      Bearing Diameter 

      BEARING DIAMETER SPECIFICATION

      Item Inside Outside
      Bearing 46.45 to 46.7 mm (1.83 to 1.84 in.) 64.3 to 64.55 mm (2.53 to 2.54 in.)
  48. INSTALL REVERSE CLUTCH HUB SUB-ASSEMBLY 
    1. Install the reverse clutch hub to the clutch drum.
      NOTE: Before installing the reverse clutch hub, apply ATF to the reverse clutch hub bush sliding surfaces. After the installation, check that the reverse clutch rotates smoothly.
      Fig 89: Identifying Reverse Clutch Hub And Clutch Drum
      G05629485Courtesy of © TOYOTA, LICENSE AGREEMENT TMS1002
  49. INSTALL REAR CLUTCH DISC SET 
    1. Install the flange, 5 discs, 4 plates, selected flange, cushion plate and reverse clutch reaction sleeve to the clutch drum.

      Install in order: 

      F - D - P - D - P - D - P - D - P - D - S/F-C 

      HINT:

      F = Flange

      D = Disc

      P = Plate

      S/F = Selected flange

      C = Cushion plate

    2. Using a screwdriver, install the snap ring to the clutch drum.
      Fig 90: Identifying Flange, Discs, Plates, Cushion Plate And Reverse Clutch Reaction Sleeve
      G05629486Courtesy of © TOYOTA, LICENSE AGREEMENT TMS1002
  50. INSTALL NO. 2 1-WAY CLUTCH ASSEMBLY 
    1. Install the clutch drum thrust washer to the clutch drum.

      HINT:

      Use a small amount of MP grease to make the thrust washer stay securely in place.

    2. Install the 1-way clutch to the clutch drum.
  51. INSPECT NO. 2 1-WAY CLUTCH ASSEMBLY  (See INSPECTION  )
    Fig 91: Identifying No. 2 1-Way Clutch And Clutch Drum Thrust Washer
    G05629487Courtesy of © TOYOTA, LICENSE AGREEMENT TMS1002
  52. INSTALL CLUTCH DRUM AND INPUT SHAFT ASSEMBLY 
    1. Install the 2 thrust needle roller bearings.

      HINT:

      Use a small amount of MP grease to make the thrust needle roller bearings stay securely in place.

      Bearing Diameter 

      BEARING DIAMETER SPECIFICATION

      Item Inside Outside
      Bearing A 71.96 to 72.26 mm (2.83 to 2.84 in.) 85.25 to 85.6 mm (3.36 to 3.37 in.)
      Bearing B 36.45 to 36.7 mm (1.44 to 1.45 in.) 52.96 to 53.26 mm (2.09 to 2.10 in.)
      Fig 92: Identifying Thrust Needle Roller Bearings
      G05629488Courtesy of © TOYOTA, LICENSE AGREEMENT TMS1002
    2. Coat the clutch drum thrust washer with petroleum jelly and install it onto the clutch drum and input shaft assembly.
    3. Install the clutch drum and input shaft assembly to the transmission case.
      Fig 93: Installing Clutch Drum And Input Shaft Assembly To Transmission Case
      G05629489Courtesy of © TOYOTA, LICENSE AGREEMENT TMS1002
  53. INSTALL OIL PUMP ASSEMBLY 
    1. Coat a new O-ring with ATF, and install it to the oil pump.
    2. Install the 2 thrust bearing races to the front oil pump.

      Thrust Bearing Race Diameter 

      THRUST BEARING RACE DIAMETER SPECIFICATION

      Item Inside Outside
      Race A 74.26 to 74.56 mm (2.92 to 2.94 in.) 87.39 to 87.74 mm (3.44 to 3.45 in.)
      Race B 38.0 to 38.3 mm (1.50 to 1.51 in.) 53.9 to 54.1 mm (2.12 to 2.13 in.)
      Fig 94: Identifying O-Ring And Race
      G05629490Courtesy of © TOYOTA, LICENSE AGREEMENT TMS1002
    3. Pass the input shaft through the center hole of the oil pump, and align the bolt holes of the oil pump assembly with the transmission case.
    4. Hold the input shaft, and lightly press the oil pump body to slide the oil seal rings into the overdrive direct clutch drum.
      Fig 95: Locating Oil Pump Assembly Bolts
      G05629491Courtesy of © TOYOTA, LICENSE AGREEMENT TMS1002
    5. Apply seal packing to the flanges of the bolts.

      Seal packing: 

      Toyota Genuine Seal Packing 1281, Three Bond 1281 or equivalent 

      NOTE: Do not allow seal packing to contact the bolt threads.
    6. Install the 10 bolts.

      Torque: 21 N*m (214 kgf*cm, 15 ft.*lbf) 

      NOTE: During installation, do not allow oil to contact the bolts or the surface of the oil pump body.
  54. INSPECT INDIVIDUAL PISTON OPERATION  (See INSPECTION  )
  55. INSTALL MANUAL VALVE LEVER SHAFT OIL SEAL 
    1. Using SST, tap in 2 new oil seals.

      SST 09350-30020 (09350-07110) 

    2. Coat the lips of the oil seals with MP grease.
      Fig 96: Tapping Oil Seals
      G05629492Courtesy of © TOYOTA, LICENSE AGREEMENT TMS1002
  56. INSTALL MANUAL VALVE LEVER SUB-ASSEMBLY 
    1. Install a new spacer to the manual valve lever.
    2. Push the manual valve lever shaft through the transmission case, and install the manual valve lever to the shaft.
      Fig 97: Installing Spacer To Manual Valve Lever
      G05629493Courtesy of © TOYOTA, LICENSE AGREEMENT TMS1002
    3. Using a hammer, tap in a new spring pin.
      Fig 98: Tapping Spring Pin Using Hammer
      G05629494Courtesy of © TOYOTA, LICENSE AGREEMENT TMS1002
    4. Align the manual valve lever indentation with the spacer hole, and stake them together with the punch.
    5. Check that the shaft rotates smoothly.
      Fig 99: Staking Manual Valve Lever With Punch
      G05629495Courtesy of © TOYOTA, LICENSE AGREEMENT TMS1002
  57. INSTALL PARKING LOCK PAWL 
    1. Install a new E-ring to the shaft.
    2. Install the parking lock pawl, shaft and spring.
      Fig 100: Installing Parking Lock Pawl
      G05629496Courtesy of © TOYOTA, LICENSE AGREEMENT TMS1002
  58. INSTALL PARKING LOCK ROD SUB-ASSEMBLY 
    1. Connect the parking lock rod to the manual valve lever.
      Fig 101: Connecting Parking Lock Rod To Manual Valve Lever
      G05629497Courtesy of © TOYOTA, LICENSE AGREEMENT TMS1002
  59. INSTALL PARKING LOCK PAWL BRACKET 
    1. Place the parking lock pawl bracket onto the transmission case and install the 3 bolts.

      Torque: 18 N*m (184 kgf*cm, 13 ft.*lbf) 

      Fig 102: Locating Parking Lock Pawl Bracket Bolts
      G05629498Courtesy of © TOYOTA, LICENSE AGREEMENT TMS1002
    2. Move the manual valve lever to the P position, and confirm that the planetary ring gear is correctly locked by the lock pawl.
      Fig 103: Identifying Rear Planetary Ring Gear
      G05629499Courtesy of © TOYOTA, LICENSE AGREEMENT TMS1002
  60. INSTALL B-1 ACCUMULATOR VALVE 
    1. Install the 2 springs and accumulator valve to the hole.

      Spring Diameter 

      SPRING DIAMETER SPECIFICATION

      Spring Free Length Outer Diameter Color
      B-1 Inner 44.98 mm (1.77 in.)
      11.30 mm (0.445 in.)
      Natural
      B-1 Outer 46.36 mm (1.83 in.)
      17.10 mm (0.673 in.)
      Natural
      Fig 104: Identifying B-1 Accumulator Valve With Spring
      G05629500Courtesy of © TOYOTA, LICENSE AGREEMENT TMS1002
  61. INSTALL C-3 ACCUMULATOR PISTON 
    1. Coat 2 new O-rings with ATF, and install them to the piston.
    2. Install the spring and accumulator piston to the hole.

      Spring Diameter 

      SPRING DIAMETER SPECIFICATION

      Spring Free Length Outer Diameter Color
      C-3 76.65 mm (3.02 in.)
      20.1 mm (0.791 in.)
      Natural
      Fig 105: Identifying C-3 Accumulator Piston With O-Ring
      G05629501Courtesy of © TOYOTA, LICENSE AGREEMENT TMS1002
  62. INSTALL B-3 ACCUMULATOR PISTON 
    1. Coat 2 new O-rings with ATF, and install them to the piston.
    2. Install the spring and accumulator piston to the hole.

      Spring Diameter 

      SPRING DIAMETER SPECIFICATION

      Spring Free Length Outer Diameter Color
      B-3 64.50 mm (2.54 in.)
      19.5 mm (0.768 in.)
      Orange
      Fig 106: Identifying B-3 Accumulator Piston With O-Ring
      G05629502Courtesy of © TOYOTA, LICENSE AGREEMENT TMS1002
  63. INSTALL C-2 ACCUMULATOR PISTON 
    1. Coat 2 new O-rings with ATF, and install them to the piston.
    2. Install the spring and accumulator piston to the hole.

      Spring Diameter 

      SPRING DIAMETER SPECIFICATION

      Spring Free Length Outer Diameter Color
      C-2 68.0 mm (2.68 in.)
      16.1 mm (0.634 in.)
      Light green
      Fig 107: Identifying C-2 Accumulator Piston With O-Ring
      G05629503Courtesy of © TOYOTA, LICENSE AGREEMENT TMS1002
  64. INSTALL CHECK BALL BODY 
    1. Install the spring and check ball body.
      Fig 108: Identifying Check Ball Body And Spring
      G05629504Courtesy of © TOYOTA, LICENSE AGREEMENT TMS1002
  65. INSTALL BRAKE DRUM GASKET 
    1. Install 3 new brake drum gaskets.
      Fig 109: Identifying Brake Drum Gasket
      G05629505Courtesy of © TOYOTA, LICENSE AGREEMENT TMS1002
  66. INSTALL TRANSMISSION CASE GASKET 
    1. Install 3 new transmission case gaskets.
      Fig 110: Identifying Transmission Case Gasket
      G05629506Courtesy of © TOYOTA, LICENSE AGREEMENT TMS1002
  67. INSTALL TRANSMISSION VALVE BODY ASSEMBLY 
    1. Align the hole of the manual valve with the pin of the lever.
      Fig 111: Aligning Hole Of Manual Valve With Pin Of Lever
      G05629507Courtesy of © TOYOTA, LICENSE AGREEMENT TMS1002
    2. Install the 19 bolts.

      Torque: 11 N*m (112 kgf*cm, 8 ft.*lbf) 

      HINT:

      Each bolt length is indicated below.

      36 mm (1.42 in.) for bolt A

      25 mm (0.984 in.) for bolt B

      45 mm (1.77 in.) for bolt C

      50 mm (1.97 in.) for bolt D

    3. Install the detent spring and detent spring cover with the bolt.

      Torque: 10 N*m (102 kgf*cm, 7 ft.*lbf) 

      Fig 112: Identifying Bolt Torque Sequence
      G05629508Courtesy of © TOYOTA, LICENSE AGREEMENT TMS1002
  68. INSTALL TRANSMISSION WIRE 
    1. Install 2 new O-rings to the transmission wires.
      Fig 113: Identifying Transmission Wire O-Rings
      G05629509Courtesy of © TOYOTA, LICENSE AGREEMENT TMS1002
    2. Install the transmission wire harnesses.
    3. Install the bolts.

      Torque: 5.4 N*m (55 kgf*cm, 48 in.*lbf) 

      Fig 114: Locating No. 2 Transmission Wire Bolts
      G05629510Courtesy of © TOYOTA, LICENSE AGREEMENT TMS1002
    4. Connect the 9 connectors to the solenoid valves.
    5. Connect the 2 ATF temperature sensors with the 2 clamps and 2 bolts.

      Torque: for bolt A 

      10 N*m (102 kgf*cm, 7 ft.*lbf) for bolt B 

      11 N*m (112 kgf*cm, 8 ft.*lbf) 

      HINT:

      Each bolt length is indicated below.

      12 mm (0.472 in.) for bolt A

      36 mm (1.42 in.) for bolt B

      Fig 115: Locating Solenoid Valves Connectors, ATF Temperature Sensors And Bolts
      G05629511Courtesy of © TOYOTA, LICENSE AGREEMENT TMS1002
  69. INSTALL VALVE BODY OIL STRAINER ASSEMBLY 
    1. Coat a new O-ring with ATF, and install it to the oil strainer.
    2. Install the oil strainer with the 4 bolts.

      Torque: 10 N*m (102 kgf*cm, 7 ft.*lbf) 

      Fig 116: Locating Valve Body Oil Strainer Assembly Bolts
      G05629512Courtesy of © TOYOTA, LICENSE AGREEMENT TMS1002
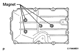
  70. INSTALL AUTOMATIC TRANSMISSION OIL PAN SUB-ASSEMBLY 
    1. Install the 4 magnets.
    2. Install a new gasket to the oil pan.
    3. Install the oil pan with the 12 bolts.

      Torque: 7.4 N*m (75 kgf*cm, 65 in.*lbf) 

      Fig 117: Identifying Transmission Oil Cleaner Magnets
      G05629513Courtesy of © TOYOTA, LICENSE AGREEMENT TMS1002
      NOTE:
      • Make sure that there is no oil or foreign matter on the gasket seal surface and oil pan contact surface.
      • Install the gasket so that there is no slack in the gasket, and make sure the entire circumference of the seal surface is level.
      • Make sure that the 9 gasket drop prevention protrusions are set on the oil pan.
      • When tightening the bolts of the oil pan, make sure that the gasket is not pinched between the gasket tightening area sleeve and the transmission seal surface.
    4. Fig 118: Identifying Correct Gasket Seal Alignment
      G05629514Courtesy of © TOYOTA, LICENSE AGREEMENT TMS1002
    5. Install the drain plug.

      Torque: 20 N*m (204 kgf*cm, 15 ft.*lbf) 

  71. INSTALL TRANSFER CASE ADAPTER RADIAL BALL BEARING 
    1. Using SST and a press, press in the bearing until it stops.

      SST 09950-60010 (09951-00650), 09950-70010 (09951-07150) 

    2. Using a screwdriver, install the snap ring.
      Fig 119: Pressing Bearing Using Press
      G05629515Courtesy of © TOYOTA, LICENSE AGREEMENT TMS1002
  72. INSTALL TRANSMISSION CASE ADAPTOR OIL SEAL 
    1. Coat the lip of a new oil seal with ATF.
    2. Using SST and a hammer, tap in the oil seal.

      Standard depth: 

      0 to 1 mm (0 to 0.0394 in.) 

      SST 09950-60010 (09951-00650), 09950-70010 (09951-07150) 

      Fig 120: Installing Transmission Case Adaptor Oil Seal
      G05629516Courtesy of © TOYOTA, LICENSE AGREEMENT TMS1002
  73. INSTALL REAR ADAPTOR TRANSFER 
    1. Clean the threads of the bolts and case with non-residue solvent.
    2. Apply seal packing to the rear adaptor transfer.

      Seal packing: 

      Toyota Genuine Seal Packing 1281, Three Bond 1281 or equivalent 

      Seal diameter: 

      1.0 to 1.5 mm (0.0394 to 0.0591 in.) 

      Fig 121: Applying Seal Packing To Rear Adaptor Transfer
      G05629517Courtesy of © TOYOTA, LICENSE AGREEMENT TMS1002
    3. Install the rear adaptor transfer with the 10 bolts.

      Torque: 34 N*m (345 kgf*cm, 25 ft.*lbf) 

      Fig 122: Locating Rear Adaptor Transfer Bolts
      G05629518Courtesy of © TOYOTA, LICENSE AGREEMENT TMS1002
  74. INSTALL AUTOMATIC TRANSMISSION HOUSING 
    1. Clean the threads of the bolts and case with non-residue solvent.
    2. Install the transmission housing with the 14 bolts.

      Torque: 34 N*m (345 kgf*cm, 25 ft.*lbf) 

      Fig 123: Locating Automatic Transmission Housing Bolts
      G05629519Courtesy of © TOYOTA, LICENSE AGREEMENT TMS1002
  75. INSTALL AUTOMATIC TRANSMISSION BREATHER TUBE 
    1. Coat a new O-ring with ATF and install it to the breather tube.
    2. Install the breather tube with the 2 bolts.

      Torque: 5.4 N*m (55 kgf*cm, 48 in.*lbf) 

      Fig 124: Locating Automatic Transmission Breather Tube Bolts
      G05629520Courtesy of © TOYOTA, LICENSE AGREEMENT TMS1002
  76. INSTALL TRANSMISSION OIL COOLER ASSEMBLY 
    1. Coat 4 new O-rings with ATF.
    2. Install the 4 O-rings, transmission oil thermostat and transmission oil cooler to the automatic transmission.
    3. Temporarily install bolt A. Install the bolts labeled B and tighten them to the specified torque. Then tighten bolt A to the specified torque.

      Torque: 21 N*m (214 kgf*cm, 15 ft.*lbf) 

      Fig 125: Identifying Bolt Tightening Sequence And O-Ring
      G05629521Courtesy of © TOYOTA, LICENSE AGREEMENT TMS1002
  77. INSTALL SPEED SENSOR 
    1. Coat 2 new O-rings with ATF, and install them to the speed sensors.
    2. Install the 2 speed sensors.
    3. Install the 2 bolts.

      Torque: 5.4 N*m (55 kgf*cm, 48 in.*lbf) 

      Fig 126: Locating Speed Sensors Bolts
      G05629522Courtesy of © TOYOTA, LICENSE AGREEMENT TMS1002
  78. INSTALL PARK/NEUTRAL POSITION SWITCH ASSEMBLY 
    1. Install the park/neutral position switch to the manual valve lever shaft, and temporarily install the adjusting bolt.
    2. Install a new lock washer and the nut.

      Torque: 6.9 N*m (70 kgf*cm, 61 in.*lbf) 

    3. Temporarily install the control shaft lever RH.
      Fig 127: Identifying Lock Washer
      G05629523Courtesy of © TOYOTA, LICENSE AGREEMENT TMS1002
    4. Turn the control shaft lever RH counterclockwise until it stops, and then turn it clockwise 2 notches to set it to the N position.
    5. Remove the control shaft lever RH.
      Fig 128: Turning Control Shaft Lever RH
      G05629524Courtesy of © TOYOTA, LICENSE AGREEMENT TMS1002
    6. Align the groove with the neutral basic line.
    7. Hold the switch in position and tighten the bolt.

      Torque: 13 N*m (133 kgf*cm, 10 ft.*lbf) 

      Fig 129: Locating Park/Neutral Position Switch Bolt
      G05629525Courtesy of © TOYOTA, LICENSE AGREEMENT TMS1002
    8. Using a screwdriver, bend the tabs of the lock washer.
      Fig 130: Bending Tabs Of Lock Washer Using Screwdriver
      G05629526Courtesy of © TOYOTA, LICENSE AGREEMENT TMS1002
  79. INSTALL TRANSMISSION CONTROL SHAFT LEVER RH 
    1. Install the control shaft lever RH with the washer and nut.

      Torque: 16 N*m (163 kgf*cm, 12 ft.*lbf) 

      Fig 131: Locating Transmission Control Shaft Lever RH Nut
      G05629527Courtesy of © TOYOTA, LICENSE AGREEMENT TMS1002