lemon-mirror:
Home >> Toyota >> 2008 >> RAV4 Base, 2.4 D, FWD >> Repair and Diagnosis >> Brakes >> Traction Control >> Brake Control >> Vehicle Stability Control System >> System Diagram

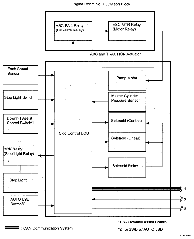
System Diagram

Fig 1: identifying Vehicle Stability Control System Diagram (1 Of 2)
G05584958Courtesy of © TOYOTA, LICENSE AGREEMENT TMS1002
Fig 2: Identifying Vehicle Stability Control System Diagram (2 Of 2)
G05584959Courtesy of © TOYOTA, LICENSE AGREEMENT TMS1002