lemon-mirror:
Home >> Toyota >> 2008 >> Sequoia Platinum, RWD >> Repair and Diagnosis >> Brakes >> Traction Control >> Brake Control/Dynamic Control Systems >> Vehicle Stability Control System >> System Diagram

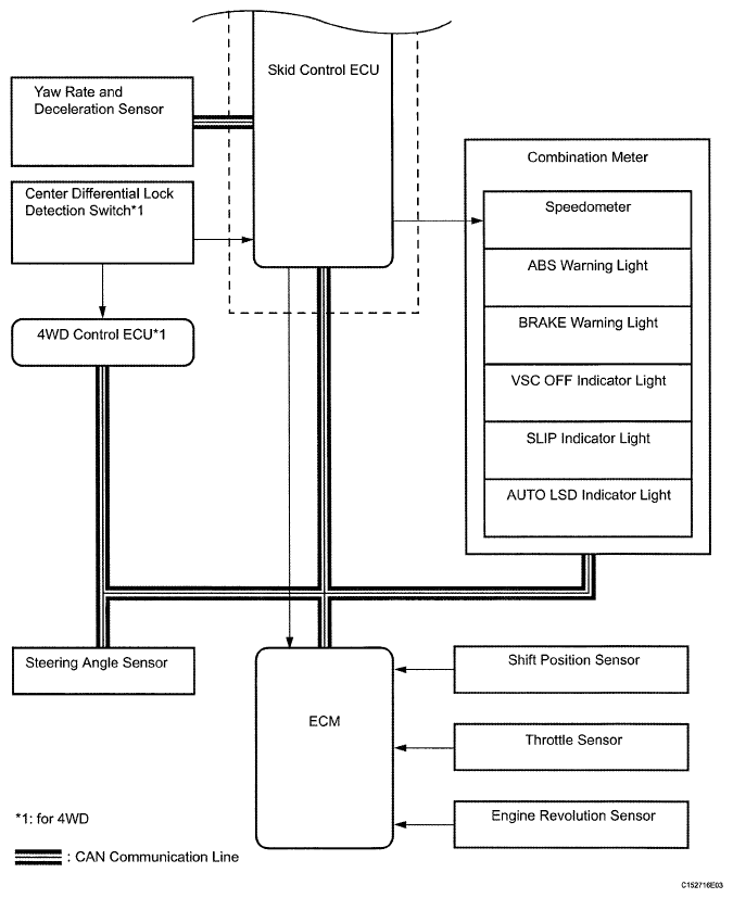
System Diagram

Fig 1: Vehicle Stability Control System Diagram (1 Of 2)
G05649465Courtesy of © TOYOTA, LICENSE AGREEMENT TMS1002
Fig 2: Vehicle Stability Control System Diagram (2 Of 2)
G05649466Courtesy of © TOYOTA, LICENSE AGREEMENT TMS1002

Communication Table 

COMMUNICATION REFERENCE

Sender Receiver Signal Line
ECM Skid control ECU
  • Throttle position signal
  • Engine revolution signal
  • Accelerator pedal position signal
  • Intake temperature sensor signal
  • Shift position signal
CAN communication
Skid control ECU ECM
  • Yaw rate and deceleration signal
  • Throttle opening angle request signal
  • VSC data signal
  • Wheel speed signal
CAN communication
Skid control ECU Combination meter
  • ABS warning light signal
  • Brake warning light signal
  • VSC OFF indicator light signal
  • SLIP indicator light signal
  • AUTO LSD indicator light signal
  • Vehicle speed signal
CAN communication
4WD control ECU Skid control ECU
  • 4WD status signal
  • L4 status signal
  • Center differential lock status signal
  • Transfer neutral status signal
CAN communication
Steering angle sensor Skid control ECU, ECM Steering angle signal CAN communication