lemon-mirror:
Home >> Toyota >> 2009 >> Land Cruiser >> Repair and Diagnosis >> Electrical >> Charging Systems >> Charging System >> System Diagram

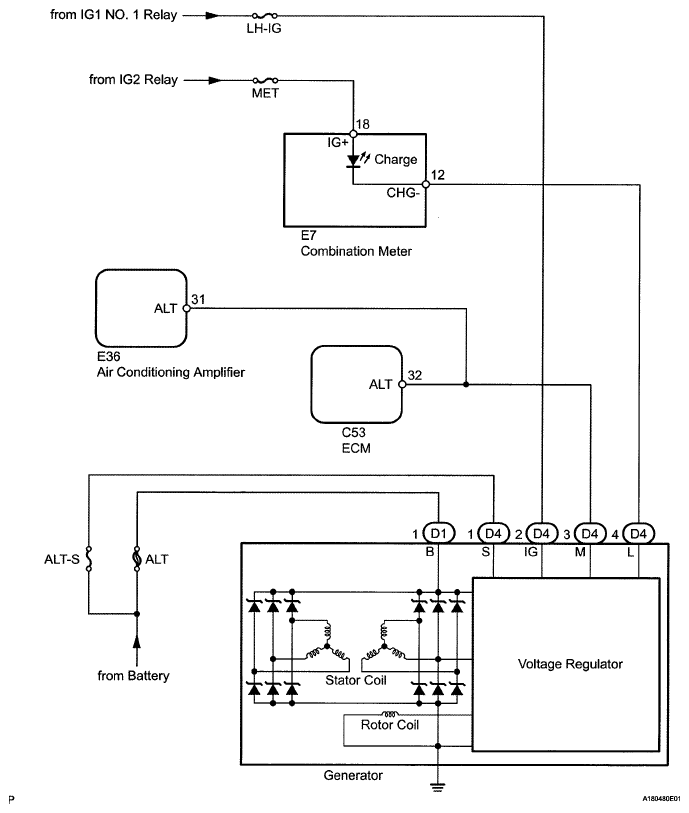
System Diagram

Fig 1: Charging System Diagram
G05639288Courtesy of © TOYOTA, LICENSE AGREEMENT TMS1002