lemon-mirror:
Home >> Toyota >> 2009 >> Land Cruiser >> Repair and Diagnosis >> General Information >> Identification >> Introduction >> Repair Instruction >> Initialization

Repair Instruction: Initialization

  1. Procedures necessary when ECU or other parts are replaced 

    Procedures necessary when ECU or other parts are replaced 

    INITIALIZATION REFERENCE

    Replacement Part Necessary Procedures Effects / Inoperative Functions When Necessary Procedures are not Performed Notes
    ECM Register VIN. DTC P0630 is output. -
    Any of shift solenoid valves Reset memory. Large shift shock. -
    Transmission wire Add and adjust the ATF level Automatic transmission assembly damaged. -
    Valve body and shift solenoid valve Add and adjust the ATF level Automatic transmission assembly damaged. -
    Perform the Reset Memory (AT initialization) Large shift shock -
    Oil cooler and oil cooler tube Add and adjust the ATF level Large shift shock. -
    Park/neutral position switch Adjust the park/neutral position switch
    1. Back-up light does not turn on.
    2. Meter indicator display malfunction.
    3. Vehicle undrivable.
    4. Shifting not possible.
    -
    Transmission floor shift assembly Adjust the shift lever position
    1. Back-up light does not turn on.
    2. Meter indicator display malfunction.
    3. Vehicle undrivable.
    4. Shifting not possible.
    -
    Automatic transmission assembly Add and adjust the ATF level Automatic transmission assembly damaged. -
    Perform the Reset Memory (AT initialization) Large shift shock. -
    Tire pressure warning ECU
    1. Register transmitter IDs.
    2. Initialize tire pressure warning system.
    • When DTC detection conditions of "transmitter ID not received" DTC is met, tire pressure warning light blinks for 1 minute, and then illuminates.
    • Tire pressure monitoring function
    -
    Tire pressure warning valve and transmitter
    1. Register transmitter IDs
    2. Initialize tire pressure warning system
    • When DTC detection conditions of "transmitter ID not received" DTC is met, tire pressure warning light blinks for 1 minute, and then illuminates
    • Tire pressure monitoring function of replaced wheel
    Even if only one wheel is replaced, IDs for all 5 wheels must be registered
    Master cylinder solenoid (Skid control ECU) Yaw rate and G sensor zero point calibration.
    • ABS warning light illumination
    • "Check VSC System" indication on the multi-information display
    -
    Yaw rate and a sensor
    • Clearing zero point calibration data.
    • Yaw rate and G sensor zero point calibration.
    • ABS warning light illumination
    • "Check VSC System" indication on the multi-information display
    -
    • Brake pedal
    • Hydraulic brake booster
    check brake pedal height
    • Brake performance problem
    • Delayed stop light illumination or continuous illumination
    -
    • Parking brake lever
    • Parking brake cable
    • Parking brake assembly
    Adjust parking brake lever travel
    • Brake drag
    • Brake performance problem
    • Delayed stop light illumination or continuous illumination
    -
    Garage door opener transmitter Registration Garage door does not operative -
    • ID code box
    • Steering lock ECU
    • ECM
    • Key
    • Certification ECU
    Registration
    • Wireless door lock operation
    • Entry operation
    • Engine starting
    • Steering unlock
    -
    No. 1 seat cushion assembly (occupant classification ECU and occupant detection sensor)
    • Zero point calibration
    • Registration
    • Sensitivity check
    • Occupant classification system
    • Passenger airbag ON/OFF indicator
    • Airbag system (Front passenger side)
    • Seat belt warning system (Front passenger side)
    -
    • Front Power window regulator motor LH
    • Front Power window regulator motor RH
    • Rear Power window regulator motor LH
    • Rear Power window regulator motor RH
    Initialize the motor
    • Jam protection function.
    • Power window control system
     
    • Sliding roof drive gear (Sliding roof ECU)
    • Sliding roof glass
    Initialize sliding roof system
    • Auto operation
    • Jam protection function
    • Sliding roof operation after engine switch off
    • Wireless door lock control function
    • Key-linked operation function (Driver side door only)
    • Entry lock switch-linked operation
    -
    Headlight assembly Adjustment Beam axis deviation -
    Fog light assembly Adjustment Beam axis deviation -
    Front bumper Adjustment Beam axis deviation -
  2. REGISTRATION RELATED TO SFI SYSTEM 
    1. DESCRIPTION

      HINT:

      This registration section consists of two parts: Read VIN and Write VIN.

      1. Read VIN: Explains the VIN reading process in a flowchart. This process allows the VIN stored in the ECM to be read in order to confirm that the two VINs, provided with the vehicle and stored in the vehicle ECM, are the same.
      2. Write VIN: Explains the VIN writing process in a flowchart. This process allows the VIN to be input into the ECM. If the ECM is changed, or the ECM VIN and vehicle VIN do not match, the VIN can be registered, or overwritten in the ECM by following this procedure.
    2. READ VIN
      1. Confirm the vehicle VIN.
      2. Connect the Techstream to the DLC3.
      3. Turn the engine switch on (IG).
      4. Turn the Techstream on.
      5. Enter the following menus: Powertrain / Engine and ECT / Utility / VIN / VIN Read.
    3. WRITE VIN
      1. Confirm the vehicle VIN.
      2. Connect the Techstream to the DLC3.
      3. Turn the engine switch on (IG).
      4. Turn the Techstream on.
      5. Enter the following menus: Powertrain / Engine and ECT / Utility / VIN / VIN Write.
  3. INITIALIZATION RELATED TO AUTOMATIC TRANSMISSION SYSTEM 
    1. RESET MEMORY
      NOTE:
      • Perform the Reset Memory (AT initialization) when replacing the automatic transmission assembly, valve body assembly or any of the shift solenoid valves.
      • The Reset Memory can be performed only with the Techstream.

      HINT:

      The ECM memorizes the control conditions of the automatic transmission assembly and engine assembly. Therefore, when the automatic transmission assembly, valve body assembly or any of the shift solenoid valves has been replaced, it is necessary to reset the memory so that the ECM can memorize the new information.

      1. Connect the Techstream to the DLC3.
      2. Turn the engine switch on (IG).
      3. Turn the Techstream on.
      4. Enter the following menus: Powertrain / Engine and ECT / Utility / Reset Memory.
        NOTE: After performing the Reset Memory, be sure to perform the Road Test described earlier.

        HINT:

        The ECM learns through the Road Test.

  4. ADJUSTMENT FOR AUTOMATIC TRANSMISSION FLUID 
    1. BEFORE FILLING TRANSMISSION
      • This transmission requires Toyota Genuine ATF WS transmission fluid.
      • After servicing the transmission, you must refill the transmission with the correct amount of fluid.
      • Keep the vehicle level while adjusting the fluid level.
      • Proceed to the "Transmission Pan Fill" procedures if you replaced the entire transmission, transmission pan, drain plug, valve body and/or torque converter.
      • Proceed to the "Transmission Fill" procedures after removing the refill plug if you replaced the transmission hose and/or output shaft oil seal.
        Fig 1: Identifying Automatic Transmission With Refill Plug And Overflow Plug
        G05154801Courtesy of © TOYOTA, LICENSE AGREEMENT TMS1002
    2. TRANSMISSION PAN FILL
      1. Remove the refill plug and overflow plug.
      2. Fill the transmission through the refill hole until fluid begins to trickle out of the overflow tube.
      3. Reinstall the overflow plug.
        Fig 2: Identifying Transmission Fluid Level
        G05154802Courtesy of © TOYOTA, LICENSE AGREEMENT TMS1002
    3. TRANSMISSION FILL
      1. Push the shaft of the thermostat and fix it in place.
        1. By using compressed air, etc., blow dust off of the thermostat cap to clean it.
          Fig 3: Pushing Shaft Of Thermostat
          G05629069Courtesy of © TOYOTA, LICENSE AGREEMENT TMS1002
        2. Using a screwdriver, push the shaft of the thermostat.

          HINT:

          • Pushed amount: 5.5 to 7.0 mm (0.217 to 0.276 in.)
          • Push the shaft until the screwdriver contacts the inside step of the cap.
        3. With the shaft of the thermostat pressed, push a pin (diameter: 1.0 to 1.8 mm (0.0394 to 0.0709 in.)) into a hole on the side of the thermostat cap. Insert the pin until it passes through the hole on the other side of the thermostat cap to fix the shaft in place.
          Fig 4: Identifying Shaft, Cap And Step
          G05154804Courtesy of © TOYOTA, LICENSE AGREEMENT TMS1002
      2. Fill the transmission with the amount of fluid listed in the table below.

        Standard Capacity 

        CAPACITY SPECIFICATION

        Repair Fill Amount
        Transmission pan and drain plug removal 2.7 liters (2.9 US qts, 2.4 lmp. qts)
        Transmission valve body removal 4.7 liters (5.0 US qts, 4.1 lmp. qts)
        Torque converter removal 6.1 liters (6.4 US qts, 5.4 lmp. qts)
      3. Reinstall the refill plug to prevent the fluid from splashing.

        HINT:

        If you cannot add the listed amount of fluid, do the following:

        1. Install the refill plug.
        2. Allow the engine to idle with the air conditioning OFF.
        3. Move the shift lever through the entire gear range to circulate fluid.
        4. Wait for 30 seconds with the engine idling.
        5. Stop the engine.
        6. Remove the refill plug and add fluid.
        7. Reinstall the refill plug.
    4. FLUID CIRCULATION
      1. Allow the engine to idle with the air conditioning OFF.
      2. Move the shift lever through the entire gear range to circulate fluid.
    5. ADJUST FLUID TEMPERATURE
      NOTE: The fluid temperature can be confirmed by checking the indicator light in the meter or by using the Techstream. When using the Techstream, it is necessary to change to temperature detection mode in order to idle the vehicle appropriately.
      1. When using the Techstream:
        1. Turn the engine switch off.
        2. Connect the Techstream to the DLC3.
        3. Turn the engine switch on (IG).
        4. Enter the following menus: Powertrain / Engine and ECT / Active Test / Connect the TC and TE1.
        5. Enter the following menus: Powertrain / Engine and ECT / Data List / A/T Oil Temperature 1.
        6. Check the ATF temperature.
          NOTE:
          • If the fluid temperature is below 48°C (118°F), proceed to the next step. (Recommended ATF temperature: 43°C (109°F) or less)
          • If the fluid temperature is 48 C (118 F) or more, turn the engine switch off and wait until the fluid temperature drops below 43°C (109°F).
        7. According to the display on the Techstream, perform the Active Test "Connect the TC and TE1".

          HINT:

          Indicator lights of the combination meter blink to output DTCs when TC and TE1 are connected.

        8. Start the engine.
          NOTE: Check that electrical systems such as the air conditioning system, audio system and lighting system are off.
      2. When not using the Techstream:

        SST 09843-18040 

        1. Using SST, connect terminals 13 (TC) and 4 (CG) of the DLC3.
        2. Start the engine.
          NOTE: Check that electrical systems such as the air conditioning system, audio system and lighting system are off.

          HINT:

          Indicator lights of the meter blink to output DTCs when terminals TC and CG are connected.

          Fig 5: Identifying DLC3 Connector Terminals
          G05154805Courtesy of © TOYOTA, LICENSE AGREEMENT TMS1002
      3. Slowly move the shift lever from P to S, then change the gears from 1st to 6th. Then return the shift lever to P.

        HINT:

        Slowly move the shift lever to circulate the fluid through each part of the transmission.

      4. Move the shift lever to D, and quickly move back and forth between N and D (once within 1.5 seconds) for at least 6 seconds. This will activate the fluid temperature detection mode.

        Standard condition: 

        Indicator light (D) remains illuminated for 2 seconds and then turns off. 

      5. When using the Techstream:
        1. Return the shift lever to P and press OFF on the Active Test display.
      6. When not using the Techstream:
        1. Return the shift lever to P and disconnect terminals 13 (TC) and 4 (CG).
      7. Allow the engine to idle until the fluid temperature reaches 43 to 48°C (109 to 118°F).
      8. The indicator (D) will come on again when the fluid temperature reaches 43°C (109°F) and will blink when it exceeds 48°C (118°F).
        Fig 6: ATF Temperature Indicator Display
        G05629072Courtesy of © TOYOTA, LICENSE AGREEMENT TMS1002

        Indicator Indication of ATF Temperature 

        INDICATOR INDICATION OF ATF TEMPERATURE CHART

        Below Proper Temperature Proper Temperature Higher than Proper Temperature
        Data List [A/T Oil Temperature 1] 43°C (109°F) or less Data List [A/T Oil Temperature 1] 43 to 48°C (109 to 118°F) Data List [A/T Oil Temperature 1] 48°C (118°F) or higher
        Indicator light (D) Turn off Indicator light (D) Turn on Indicator light (D) Blinking
        NOTE: Perform the fluid level inspection while the indicator light is on.
    6. FLUID LEVEL CHECK
      NOTE: The fluid temperature must be between 43 and 48°C (109 and 118°F) to accurately check the fluid level.
      1. Remove the overflow plug with the engine idling.
      2. Check that fluid comes out of the overflow tube. If fluid does not come out, proceed to the "Transmission Refill" procedures.

        If fluid comes out, wait until the overflow slows to a trickle and proceed to the "Complete" procedures.

    7. TRANSMISSION REFILL
      1. Remove the overflow plug.
      2. Remove the refill plug and gasket.
      3. Add ATF into the refill hole until ATF flows from the overflow tube.
      4. Wait until the overflow slows to a trickle and proceed to the "Complete" procedures.
        Fig 7: Identifying Transmission Fluid Level
        G05154802Courtesy of © TOYOTA, LICENSE AGREEMENT TMS1002
    8. COMPLETE
      1. Install a new gasket and the overflow plug.

        Torque: 20 N*m (204 kgf*cm, 15 ft.*lbf) 

      2. Stop the engine.
      3. Install a new gasket and the refill plug.

        Torque: 39 N*m (400 kgf*cm, 29 ft.*lbf) 

      4. Remove the pin.
        NOTE:
        • Make sure the shaft of the thermostat is protruding from the hole of the cap.
        • Check that there is no ATF leaking from the cap hole.
          Fig 8: Identifying Shaft And Cap
          G05154808Courtesy of © TOYOTA, LICENSE AGREEMENT TMS1002
  5. ADJUSTMENT FOR PARK/NEUTRAL POSITION SWITCH 
    1. ADJUST PARK/NEUTRAL POSITION SWITCH ASSEMBLY
      1. Loosen the bolt of the park/neutral position switch and move the shift lever to N.
      2. Align the groove with the neutral basic line.
      3. Hold the switch in the position described above and tighten the bolt.

        Torque: 13 N*m (130 kgf*cm, 10 ft.*lbf) 

      4. After the adjustment, perform the on-vehicle inspection.
        Fig 9: Locating Bolt And Groove With Neutral Basic Line
        G05154838Courtesy of © TOYOTA, LICENSE AGREEMENT TMS1002
  6. REGISTRATION RELATED TO TIRE PRESSURE WARNING SYSTEM 
    1. DESCRIPTION OF CODE REGISTRATION

      It is necessary to register the transmitter ID in the tire pressure warning ECU when replacing a tire pressure warning valve and transmitter and/or the tire pressure warning ECU:

      Prepare all transmitter ID data before starting registration.

      1. Before registration
        1. In case of tire pressure warning ECU replacement:
          • Read the registered transmitter IDs that are stored in the old ECU using the Techstream and note them down.
          • If reading the stored transmitter IDs is impossible due to malfunctions of components such as the tire pressure warning antenna and receiver, remove the tires from the wheels and check the IDs located on the tire pressure warning valve and transmitters.
        2. In case of tire pressure warning valve and transmitter replacement:
          • Take a note of the 7 digit number (transmitter ID) written on the tire pressure warning valve and transmitter.
            Fig 10: Identifying 7 Digit Number On Tire Pressure Warning Valve And Transmitter
            G04944270Courtesy of © TOYOTA, LICENSE AGREEMENT TMS1002
            NOTE: The transmitter ID is written on the tire pressure warning valve and transmitter. It will be unable to be read after installing the tire pressure warning valve and transmitter to the tire and wheel. Therefore, take a note of the transmitter ID before installing the tire pressure warning valve and transmitter.
    2. REGISTER TRANSMITTER ID (USING TECHSTREAM)
      1. Set the air pressure of all tires to the specified value(s).
      2. Turn the engine switch off.
      3. Connect the Techstream to the DLC3.
      4. Turn the engine switch on (IG) and the Techstream on.
      5. Enter the following menus: Chassis / Tire Pressure Monitor / Utility / ID Registration.
      6. Perform the procedures displayed on the Techstream.

        HINT:

        • The previously registered IDs will be cleared from the memory when the registration is completed.
        • Registration can be performed during initialization. However, the initialization will be canceled when the registration is started.
        • If this step is not completed within 300 seconds, this mode will be canceled.
      7. Confirmation of transmitter ID registration:
        1. Enter the following menus: Chassis / Tire Pressure Monitor / Data List.
        2. Read the "ID Tire Inflation Pressure" values.
        3. Confirm that the tire pressure data of all tires (including the spare tire) is displayed on the Techstream screen.
          NOTE:
          • It may take up to about 2 or 3 minutes to update the tire pressure data. If the values are not displayed after a few minutes, perform troubleshooting according to the inspection procedure for DTCs C2121/21 to C2125/25.
          • If the IDs have not been registered, DTC C2171/71 is stored in the tire pressure warning ECU after 3 minutes or more.
          • If normal pressure values are displayed, the IDs have been registered correctly.
          • If the tire pressure values are not displayed after a few minutes, the IDs may be incorrect or the system may have a malfunction.
          • The tire pressure information reception condition can also be confirmed through the multi-information display tire pressure display screen.
          • After all IDs are registered, DTC C2126/26 is stored in the tire pressure warning ECU and the tire pressure warning light blinks for 1 minute and then comes on. When the tire pressure warning ECU and receiver successfully receives information from all the transmitters whose IDs are stored in the ECU, DTC C2126/26 is cleared and the tire pressure warning light goes off.
  7. INITIALIZATION RELATED TO TIRE PRESSURE WARNING SYSTEM 
    1. DESCRIPTION OF INITIALIZATION
      1. Perform initialization in the following cases:
        • Before delivery of a new vehicle.
        • After replacement of the tire pressure warning ECU.*
        • After replacement of a tire pressure warning valve and transmitter.*
        • Specified tire pressure changes depending on the size or type of tire.
        • When changing the tire inflation pressure by changing traveling speed or load weight, etc.

          HINT:

          *: Perform initialization after the transmitter ID registration is completed.

      2. Before initialization
        1. Set the tire pressure of all tires to the specified value(s).
          NOTE: Make sure the tires are cooled down.
    2. INITIALIZATION PROCEDURE
      1. Turn the engine switch on (IG).
      2. Press and hold the tire pressure warning reset switch for 3 seconds or more so that the tire pressure warning light blinks 3 times.
        Fig 11: Blinking Pattern - Pressure Warning Light Output Pattern
        G05629752Courtesy of © TOYOTA, LICENSE AGREEMENT TMS1002
      3. Turn the engine switch off.
      4. Connect the Techstream to the DLC3.
      5. Turn the engine switch on (IG) and turn the Techstream on.
      6. Enter the following menus: Chassis / Tire Pressure Monitor / Data List.
      7. Check that the initialization has been completed.
      8. Confirm that the tire pressure data of all tires are displayed on the Techstream screen.
        NOTE:
        • The initialization is normally completed within 2 to 3 minutes.
        • If the initialization has not been completed successfully, DTC C2177/77 is stored after a vehicle speed of 8 km/h (5 mph) or more continues for 20 minutes or more.
        • While in test mode, the system will not change to initialization mode even if the tire pressure warning reset switch is pushed.
        • The initialization can be terminated by connecting terminals 13 (TC) and 4 (CG) of the DLC3.
          Fig 12: Identifying DLC3 Connector Terminals
          G05629753Courtesy of © TOYOTA, LICENSE AGREEMENT TMS1002

        Tire Pressure Monitor 

        TIRE PRESSURE MONITOR REFERENCE

        Tester Display Measurement Item/Range Normal Condition Diagnostic Note
        ID1 Tire Inflation Pressure ID1 tire inflation pressure/ min.: Absolute pressure abs / 0 kPa (0 kgf/cm2 , 0 psi), Relative pressure gauge / -100 kPa(-1.0 kgf/cm2 , -14 psi)
        max.: Absolute pressure abs / 637.5 kPa (6.5 kgf/cm2 , 92.5 psi), Relative pressure gauge / 537.5 kPa (5.4 kgf/cm2 , 78 psi)
        Actual tire inflation pressure If 0 kPa (0 kgf/cm2 , 0 psi) is displayed for the Absolute pressure abs or -100 kPa (-1.0 kgf/cm2 , -14 psi) is displayed for the relative pressure gauge, the data has not been received.*
        ID2 Tire Inflation Pressure ID2 tire inflation pressure/ min.: Absolute pressure abs / 0 kPa (0 kgf/cm2 , 0 psi), Relative pressure gauge / -100 kPa (-1.0 kgf/cm2 ,-14 psi)
        max.: Absolute pressure abs / 637.5 kPa (6.5 kgf/cm2 , 92.5 psi), Relative pressure gauge / 537.5 kPa (5.4 kgf/cm2 , 78 psi)
        Actual tire inflation pressure If 0 kPa(0 kgf/cm2 , 0 psi) is displayed for the Absolute pressure abs or -100 kPa (-1.0 kgf/cm2 , -14 psi) is displayed for the relative pressure gauge, the data has not been received.*
        ID3 Tire Inflation Pressure ID3 tire inflation pressure/ min.: Absolute pressure abs / 0 kPa (0 kgf/cm2 , 0 psi), Relative pressure gauge / -100 kPa (-1.0 kgf/cm2 ,-14 psi)
        max.: Absolute pressure abs / 637.5 kPa (6.5 kgf/cm2 , 92.5 psi), Relative pressure gauge / 537.5 kPa (5.4 kgf/cm2 , 78 psi)
        Actual tire inflation pressure If 0 kPa (0 kgf/cm2 , 0 psi) is displayed for the Absolute pressure abs or -100 kPa (-1.0 kgf/cm2 , -14 psi) is displayed for the relative pressure gauge, the data has not been received.*
        ID4 Tire Inflation Pressure ID4 tire inflation pressure/ min.: Absolute pressure abs / 0 kPa (0 kgf/cm2 , 0 psi), Relative pressure gauge / -100 kPa (-1.0 kgf/cm2 , -14 psi)
        max.: Absolute pressure abs / 637.5 kPa (6.5 kgf/cm2 , 92.5 psi), Relative pressure gauge / 537.5 kPa (5.4 kgf/cm2 , 78 psi)
        Actual tire inflation pressure If 0 kPa (0 kgf/cm2 , 0 psi) is displayed for the Absolute pressure abs or -100 kPa (-1.0 kgf/cm2 , -14 psi) is displayed for the relative pressure gauge, the data has not been received.*
        ID5 Tire Inflation Pressure ID5 tire inflation pressure/ min.: Absolute pressure abs / 0 kPa (0 kgf/cm2 , 0 psi), Relative pressure gauge / -100 kPa (-1.0 kgf/cm2 ,-14 psi)
        max.: Absolute pressure abs / 637.5 kPa (6.5 kgf/cm2 ,92.5 psi), Relative pressure gauge / 537.5 kPa (5.4 kgf/cm2 , 78 psi)
        Actual tire inflation pressure If 0 kPa (0 kgf/cm2 , 0 psi) is displayed for the Absolute pressure abs or -100 kPa (-1.0 kgf/cm2 , -14 psi) is displayed for the relative pressure gauge, the data has not been received.*
        HINT:
        • The initialization is complete when the Data List "ID Tire Inflation Pressure" display shows the correct pressures.
        • *: It may take about 2 or 3 minutes until the values are displayed. If the values are not displayed after a few minutes, perform troubleshooting according to the inspection procedure for DTCs C2121/21 to C2125/25.
    3. INITIALIZATION PROCEDURE (MULTI-INFORMATION DISPLAY)
      1. Turn the engine switch on (IG).
      2. Press and hold the tire pressure warning reset switch for 3 seconds or more so that the tire pressure warning light blinks 3 times.
        Fig 13: Blinking Pattern - Pressure Warning Light Output Pattern
        G05629752Courtesy of © TOYOTA, LICENSE AGREEMENT TMS1002

        HINT:

        • The initialization can be confirmed through the multi-information display.
          Fig 14: Multi-Information Screen Display Flow Chart
          G05629755Courtesy of © TOYOTA, LICENSE AGREEMENT TMS1002
        • The order in which the data is received is random.
        • If the signals from all the wheels are received, the initialization is complete.
        • It may take about 2 or 3 minutes until the values are displayed. If the values are not displayed after a few minutes, perform troubleshooting according to the inspection procedure for DTCs C2121/21 to C2125/25.
        NOTE:
        • If the initialization has not been completed successfully, DTC C2177/77 is stored after a vehicle speed of 8 km/h (5 mph) or more continues for 20 minutes or more.
        • The initialization can be terminated by connecting terminals 13 (TC) and 4 (CG) of the DLC3.
        • While in test mode, the system will not change to initialization mode even if the tire pressure warning reset switch is pushed.
        Fig 15: Identifying DLC3 Connector Terminals
        G05629753Courtesy of © TOYOTA, LICENSE AGREEMENT TMS1002
  8. CALIBRATION RELATED TO VEHICLE STABILITY CONTROL SYSTEM 
    1. DESCRIPTION

      After replacing the relevant VSC components, clear the sensor calibration data and perform calibration.

      SENSOR CALIBRATION DATA CHART

      Replacement/Adjustment Part Necessary Operation
      Master cylinder solenoid (Skid control ECU) Yaw rate and G sensor zero point calibration
      Yaw rate and G sensor
      1. Clearing zero point calibration data
      2. Yaw rate and G sensor zero point calibration
    2. CLEAR ZERO POINT CALIBRATION (SST CHECK WIRE)

      After replacing the yaw rate and G sensor, make sure to clear the zero point calibration data in the skid control ECU and perform zero point calibration.

      1. Turn the engine switch on (IG).
      2. Using SST, connect and disconnect terminals 12 (TS) and 4 (CG) of the DLC3 4 times or more within 8 seconds.

        SST 09843-18040 

        Fig 16: Identifying DLC3 Connector Terminals
        G05629818Courtesy of © TOYOTA, LICENSE AGREEMENT TMS1002
      3. Check that "DIAG VSC OK" is displayed on the multi-information display and check that the ABS warning light outputs the normal system code.
      4. Using a check wire, perform zero point calibration of the yaw rate and G sensor.
        Fig 17: Blinking Pattern - ABS Warning Light
        G05629819Courtesy of © TOYOTA, LICENSE AGREEMENT TMS1002
    3. PERFORM ZERO POINT CALIBRATION OF YAW RATE AND G SENSOR (SST CHECK WIRE)

      After replacing the master cylinder solenoid and/or yaw rate and G sensor, make sure to perform yaw rate and G sensor zero point calibration.

      NOTE:
      • While obtaining the zero point, do not vibrate the vehicle by tilting, moving or shaking it. Keep it stationary and do not start the engine.
      • Choose a level surface with an inclination of less than 1°.
      1. Procedures for Test Mode:

        SST 09843-18040 

        1. Turn the engine switch off.
        2. Move the shift lever to P.
          NOTE: DTC C1210/36 and C1336/98 will be stored if the shift lever is not in P.
        3. Using SST, connect terminals 12 (TS) and 4 (CG) of the DLC3.
        4. Check that the steering wheel is centered.
        5. Turn the engine switch on (IG).
        6. Keep the vehicle stationary on a level surface for 2 seconds or more.
          Fig 18: Identifying DLC3 Connector Terminals
          G05629818Courtesy of © TOYOTA, LICENSE AGREEMENT TMS1002
        7. Check that "VSC TEST MODE" is displayed on the multi-information display and check that the ABS warning light is blinking in test mode.
          NOTE: The ABS warning light stays on when obtaining the zero point.

          HINT:

          • If the ABS warning light does not blink, perform the zero point calibration again.
          • The zero point calibration is performed only once after the system enters test mode.
          • Calibration cannot be performed again until the stored data is cleared once.
            Fig 19: Blinking Pattern - ABS Warning Light In Test Mode
            G05629821Courtesy of © TOYOTA, LICENSE AGREEMENT TMS1002
    4. CLEAR ZERO POINT CALIBRATION (TECHSTREAM)

      After replacing the yaw rate and G sensor, make sure to clear the zero point calibration data in the skid control ECU and perform zero point calibration.

      1. Connect the Techstream to the DLC3.
      2. Turn the engine switch on (IG).
      3. Turn the Techstream on.
      4. Enter the following menus: Chassis / ABS/VSC/ TRAC / Utility / Reset Memory.
      5. Using the Techstream, perform zero point calibration of the yaw rate and G sensor.
    5. PERFORM ZERO POINT CALIBRATION OF YAW RATE AND G SENSOR (TECHSTREAM)

      After replacing the master cylinder solenoid and/or yaw rate and G sensor, make sure to perform yaw rate and G sensor zero point calibration.

      NOTE:
      • While obtaining the zero point, do not vibrate the vehicle by tilting, moving or shaking it. Keep it stationary and do not start the engine.
      • Choose a level surface with an inclination of less than 1°.
      1. Procedures for Test Mode:
        1. Turn the engine switch off.
        2. Move the shift lever to P.
          NOTE: DTC C1210/36 and C1336/98 will be stored if the shift lever is not in P.
        3. Check that the steering wheel is centered.
        4. Connect the Techstream to the DLC3.
        5. Turn the engine switch on (IG).
        6. Turn the Techstream on.
        7. Enter the following menus: Chassis / ABS/ VSC/TRAC / Utility / Test Mode.
        8. Keep the vehicle stationary on a level surface for 2 seconds or more.
        9. Check that "VSC TEST MODE" is displayed on the multi-information display and check that the ABS warning light is blinking in test mode.
          NOTE: The ABS warning light stays on when obtaining the zero point.

          HINT:

          • If the ABS warning light does not blink, perform the zero point calibration again.
          • The zero point calibration is performed only once after the system enters test mode.
          • Calibration cannot be performed again until the stored data is cleared once.
            Fig 20: Blinking Pattern - ABS Warning Light In Test Mode
            G05629821Courtesy of © TOYOTA, LICENSE AGREEMENT TMS1002
  9. ADJUSTMENT FOR BREAK PEDAL 
    1. CHECK BRAKE PEDAL HEIGHT
      1. Check the brake pedal height.

        Standard Pedal Height from Tibia Pad: 

        147.1 to 157.1 mm (5.80 to 6.18 in.) 

        NOTE: Do not adjust the pedal height. Doing so by changing the push rod length will structurally change the pedal ratio. If the pedal height is incorrect, adjust the rod operating adapter length.
        Fig 21: Identifying Brake Pedal Height
        G05638927Courtesy of © TOYOTA, LICENSE AGREEMENT TMS1002
      2. Adjust the rod operating adapter length.
        1. Remove the clip and clevis pin.
        2. Loosen the clevis lock nut.
        3. Adjust the rod operating adapter length by turning the pedal push rod clevis.

          Standard Rod Operating Adapter Length "A": 

          201.7 to 202.7 mm (7.94 to 7.98 in.) 

        4. Tighten the clevis lock nut.
        5. Set the master cylinder push rod clevis in place, insert the push rod pin from the outside of the vehicle and then install a new clip.

          If the pedal height is incorrect even if the rod operating adapter is adjusted, check that there is no damage in the brake pedal, brake pedal lever, brake pedal support and dash panel.

          • Even if there is damage, there is no problem if the reserve distance is within the standard value.
          • If necessary, replace any damaged parts.

          Torque: 26 N*m (260 kgf*cm, 19 ft.*lbf) 

          Fig 22: Identifying Clevis Lock Nut And Rod Adapter Length
          G05638928Courtesy of © TOYOTA, LICENSE AGREEMENT TMS1002
    2. CHECK AND ADJUST STOP LIGHT SWITCH ASSEMBLY

      HINT:

      If the pedal height is incorrect, check and adjust the stop light switch clearance.

      1. Disconnect the stop light switch assembly connector from the stop light switch assembly.
      2. Turn the stop light switch assembly counterclockwise and remove the stop light switch assembly.
      3. Insert the stop light switch assembly until the body hits the brake pedal bracket.
        NOTE: When inserting the stop light switch assembly, support the pedal from behind so that the pedal is not pushed in.
      4. Turn the stop light switch assembly a quarter turn clockwise to install it.

        HINT:

        Turning the stop light switch assembly counterclockwise loosens the switch.

        Fig 23: Identifying Stop Light Switch Clearance
        G05638929Courtesy of © TOYOTA, LICENSE AGREEMENT TMS1002
      5. Connect the stop light switch connector to the stop light switch assembly.
      6. Check the protrusion of the rod.

        Standard Rod Protrusion: 

        1.5 to 2.5 mm (0.0591 to 0.0984 in.) 

      7. After adjusting the pedal height, check the pedal free play.
    3. CHECK PEDAL FREE PLAY
      1. Push in the pedal until the beginning of the resistance is felt. Measure the distance as shown in the illustration.

        Standard Pedal Free Play: 

        1 to 6 mm (0.0394 to 0.236 in.) 

        Fig 24: Checking Pedal Free Play Distance
        G05638930Courtesy of © TOYOTA, LICENSE AGREEMENT TMS1002
    4. CHECK PEDAL RESERVE DISTANCE
      1. Release the parking brake lever.

        With the engine running, depress the pedal and measure the pedal reserve distance as shown in the illustration.

        Standard Pedal Reserve Distance from Tibia Pad at 490 N (50 kgf, 110.2 lbf): 

        More than 67 mm (2.64 in.) 

        If incorrect, troubleshoot the brake system.

  10. ADJUSTMENT FOR PARKING BREAK SYSTEM 
    1. INSPECT PARKING BRAKE LEVER TRAVEL
      1. Fully pull the parking brake lever to engage the parking brake.
        Fig 25: Checking Pedal Reserve Distance
        G04949843Courtesy of © TOYOTA, LICENSE AGREEMENT TMS1002
      2. Release the lever to disengage the parking brake.
      3. Slowly pull the parking brake lever all the way, and count the number of clicks

        Standard Parking Brake Lever Travel when Pulled with a Force of 200 N (20 kgf, 45 lbf): 

        5 to 7 clicks 

        If the parking brake lever travel is not as specified, adjust the parking brake shoe clearance and parking brake lever travel.

    2. REMOVE REAR WHEEL
    3. ADJUST PARKING BRAKE LEVER TRAVEL
      1. Remove the console cup holder box sub-assembly.
      2. Completely release the parking brake lever.
      3. Loosen the adjusting nut to completely release the parking brake cable.
      4. Temporarily install the hub nuts.
      5. Remove the hole plug.
        Fig 26: Locating Hub Nuts
        G05639053Courtesy of © TOYOTA, LICENSE AGREEMENT TMS1002
      6. Insert an adjustment tool into the adjustment hole of the disc. Rotate the adjustment wheel in the "X" direction until the shoes are locked. Then rotate the adjustment wheel in the "Y" direction 8 notches.
      7. Check that the disc can be rotated lightly. If not, rotate the adjustment wheel in the "Y" direction and check again.
      8. Install the hole plug.
      9. Remove the hub nuts.
        Fig 27: Adjusting Hole Of Disc
        G05160041Courtesy of © TOYOTA, LICENSE AGREEMENT TMS1002
      10. Turn the adjusting nut until the parking brake lever travel becomes correct.

        Standard Parking Brake Lever Travel when Pulled with a Force of 200 N (20 kgf, 45 lbf): 

        5 to 7 clicks 

      11. Operate the parking brake lever 3 to 4 times, and check the parking brake lever travel.

        Standard Parking Brake Lever Travel when Pulled with a Force of 200 N (20 kgf, 45 lbf): 

        5 to 7 clicks 

        Fig 28: Locating Hub Nuts
        G05639053Courtesy of © TOYOTA, LICENSE AGREEMENT TMS1002
      12. Check whether the parking brake drags or not.
      13. When operating the parking brake lever, check that the brake warning light comes on.

        Standard Condition: 

        The brake warning light always illuminates at the first click. 

      14. Install the console cup holder box sub-assembly.
    4. INSTALL REAR WHEEL

      Torque: 131 N*m (1,336 kgf*cm, 97 ft.*lbf) 

  11. ADJUSTMENT FOR STEERING SYSTEM 
    1. STEERING OFF CENTER ADJUSTMENT PROCEDURE

      HINT:

      This is the adjustment procedure for when the steering is off center.

      1. Check if the steering wheel is off center.
        1. Apply masking tape to the top center of the steering wheel and steering column upper cover.
        2. Drive the vehicle in a straight line for 100 m (328 ft.) at a constant speed of 56 km/h (35 mph), and hold the steering wheel to maintain the course.
          Fig 29: Identifying Masking Tape To Steering Wheel And Steering Column Upper Cover
          G05630067Courtesy of © TOYOTA, LICENSE AGREEMENT TMS1002
        3. Draw a line on the masking tape as shown in the illustration.
        4. Turn the steering wheel to the center position.

          HINT:

          Look at the upper surface of the steering wheel, steering spoke and SRS airbag line to find the center position.

          Fig 30: Identifying Steering Wheel Center Position
          G05630068Courtesy of © TOYOTA, LICENSE AGREEMENT TMS1002
        5. Draw a new line on the masking tape on the steering wheel as shown in the illustration.
        6. Measure the distance between the 2 lines on the masking tape on the steering wheel.
        7. Convert the measured distance to steering angle.

          HINT:

          • Measured distance of 1 mm (0.0394 in.) = Steering angle of approximately 1°.
          • Make a note of the steering angle.
            Fig 31: Identifying Distance Between Lines On Masking Tape On Steering Wheel
            G05630069Courtesy of © TOYOTA, LICENSE AGREEMENT TMS1002
      2. Adjust the steering angle.
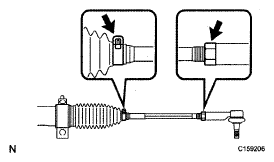
        1. Put matchmarks on the RH and LH tie rod ends and rack ends where it can be easily seen.
        2. Using a paper gauge, measure the distance from the RH and LH tie rod ends to the rack end screws.

          HINT:

          • Measure both the RH and LH sides.
          • Make a note of the measured values.
            Fig 32: Identifying Matchmarks On Tie Rod Ends And Rack Ends
            G05630070Courtesy of © TOYOTA, LICENSE AGREEMENT TMS1002
        3. Remove the RH and LH boot clips from the rack boots.
        4. Loosen the RH and LH lock nuts.
        5. Turn the RH and LH rack ends by the same amount (but in different directions) according to the steering angle.

          HINT:

          One 360° turn of the rack end (1.5 mm (0.0591 in.) horizontal movement) equals 11° of steering angle.

          Fig 33: Locating Tie Rod Lock Nuts
          G05160049Courtesy of © TOYOTA, LICENSE AGREEMENT TMS1002
        6. Tighten the RH and LH lock nuts to the specified torque.
          NOTE: Make sure that the difference in length between the RH and LH tie rod ends and rack end screws is within 1.5 mm (0.0591 in.).
        7. Install the RH and LH boot clips.

          Torque: 82 N*m (836 kgf*cm, 60 ft.*lbf) 

  12. REGISTRATION RELATED TO GARAGE DOOR OPENER SYSTEM 
    1. REGISTER TRANSMITTER CODE

      HINT:

      • The vehicle garage door opener records transmitter codes for systems such as garage doors, gates, entry gates, door locks, home lighting systems, security systems or other transmitter code based systems.
      • The garage door opener is built into the map light assembly. If replacing the map light assembly transmitter, codes for any systems previously registered in the garage door opener must be reregistered.
      1. Register systems in the garage door opener registration mode.
        CAUTION: Do not perform transmitter code registration for a system if people or objects are near the system. When registering transmitter codes for a system, injury or damage can occur because the system may open, close, unlock or otherwise operate.
        NOTE:
        • Before transmitter code registration, confirm that all the electrical systems (headlight, blower motor, rear defogger, etc.) are turned off and that no key is in the vehicle.
        • The garage door opener cannot be used with systems that: 1) were manufactured before April 1,1982, or 2) do not meet Federal Standards (for example, garage doors without a jam protection function).

        HINT:

        • 3 transmitter codes can be registered with the garage door opener, one transmitter code for each of the 3 garage door opener switches.
        • Disconnecting the battery will not clear the transmitter codes registered with the garage door opener.
        1. Select a garage door opener switch for transmitter code registration.
        2. Press and hold the selected switch. The garage door opener will enter registration mode after a brief pause.

          HINT:

          After entering registration mode, the LED flashes at a frequency of 1 Hz.

          Fig 34: Identifying These Switches
          G05639272Courtesy of © TOYOTA, LICENSE AGREEMENT TMS1002
        3. After the garage door opener has entered registration mode, continue holding the selected garage door opener switch and bring the original transmitter of the system to be registered within 1 inch of the garage door opener switches. Then, without releasing the selected garage door opener switch, press and hold the original transmitter switch.
        4. If the transmitter code registration was successful, the LED of the garage door opener flashes at a frequency of 5.6 Hz, and the registration completes. If no malfunction occurs, release both the garage door opener switch and the original transmitter switch.
          Fig 35: Pressing And Hold Original Transmitter Switch
          G05639273Courtesy of © TOYOTA, LICENSE AGREEMENT TMS1002
          Fig 36: Blinking Pattern - Timing Chart
          G05639274Courtesy of © TOYOTA, LICENSE AGREEMENT TMS1002
      2. Overwrite previously registered systems in the garage door opener registration mode.
        1. Select a garage door opener switch that will be overwritten with a new transmitter code.
        2. Press and hold the selected switch. After approximately 20 seconds, the garage door opener will enter registration mode.

          HINT:

          Before entering registration mode, the LED is on. After entering registration mode, the LED flashes at a frequency of 1 Hz.

          Fig 37: Identifying These Switches
          G05637353Courtesy of © TOYOTA, LICENSE AGREEMENT TMS1002
        3. After the garage door opener has entered registration mode, continue holding the selected garage door opener switch and bring the original transmitter of the system to be registered within 1 inch of the garage door opener switches. Then, without releasing the selected garage door opener switch, press and hold the original transmitter switch.
        4. If the transmitter code registration was successful, the LED of the garage door opener flashes at a frequency of 5.6 Hz, and the overwriting completes. If no malfunction occurs, release both the garage door opener switch and the original transmitter switch.
          Fig 38: Pressing And Hold Original Transmitter Switch
          G05639273Courtesy of © TOYOTA, LICENSE AGREEMENT TMS1002

          HINT:

          • If transmitter code registration fails: 1) the original transmitter battery may be low or need to be replaced, or 2) the system you are trying to register may not be compatible with the garage door opener.
          • The signals of some transmitters stop after 1 to 2 seconds. For these types of transmitters: 1) press and hold one of the garage door opener switches, and 2) press and release (cycle) the transmitter switch every 2 seconds. Check if the transmitter code was successfully registered.
          • After entering the garage door opener registration mode, transmitter code registration must be completed within 55 seconds. If 55 seconds elapse, the garage door opener will enter low power mode (refer to step  4 "low power mode" below).
            Fig 39: Blinking Pattern - Timing Chart
            G05639277Courtesy of © TOYOTA, LICENSE AGREEMENT TMS1002
      3. Clear transmitter codes in the garage door opener clear mode.

        HINT:

        All 3 registered transmitter codes will be cleared. No option exists for only erasing one transmitter code.

        1. Press and hold the left and right switches at both ends of the garage door opener for 10 seconds. The LED will flash at a frequency of 5.6 Hz, and clearing is completed. Releasing the switches will end clear mode.

          HINT:

          • If the switches are released within 10 seconds after the transmitter codes have been cleared, the garage door opener will enter registration mode.
            Fig 40: Identifying Left And Right Switches
            G05639278Courtesy of © TOYOTA, LICENSE AGREEMENT TMS1002
          • If the switches are held for 10 seconds or more after the transmitter codes have been cleared, default codes will be set to the switches of the garage door opener. Using these default codes, operation of the garage door opener can be checked using a tester.
            Fig 41: Blinking Pattern - Timing Chart
            G05639279Courtesy of © TOYOTA, LICENSE AGREEMENT TMS1002
      4. Low power mode:
        1. If the garage door opener switch is held for 75 seconds or more, the garage door opener will enter low power mode to economize on power consumption. When the garage door opener has entered low power mode, the LED turns off.
  13. REGISTRATION RELATED TO ENTRY AND START 
    1. DESCRIPTION OF CODE REGISTRATION

      HINT:

      • The engine immobilizer function ID code is the same as the recognition code for the smart key system and wireless transmitter. Registering an ID code enables the smart key system, wireless door lock control function and engine immobilizer function to be operated.
      • Code registration is needed when the certification ECU (smart key ECU assembly), ID code box (immobilizer code ECU), steering lock ECU, ECM or key is replaced with a new one.
      • This vehicle does not have a key slot. Therefore, touch the logo of the key to the engine switch to register the key, as shown in the illustration.
      Fig 42: Identifying Engine Switch
      G05630932Courtesy of © TOYOTA, LICENSE AGREEMENT TMS1002
    2. KEY REGISTRATION PROCEDURES WHEN ADDING OR REPLACING KEY OR WHEN KEY IS LOST

      HINT:

      • The following procedures require the use of the Techstream:

        - New key ID registration -

      • A Maximum of 7 keys can be registered
      KEY REGISTRATION PROCEDURES WHEN ADDING OR REPLACING KEY OR WHEN KEY IS LOST

      - Registration Procedure Condition Procedure Refer To
      Registering an additional key Customer must bring at least 1 key 1. Register additional keys as necessary (additional key ID registration) PROCEDURE "C"
      -Replacing a key-
      -Making a lost key unable-
      HINT:
      After key ID erasure, any remaining keys that are not registered at this time cannot be used. Therefore, after key ID erasure, register all remaining keys
      Customer must bring at least 1 key 1. Using remaining key, clear all registered keys except one (key ID erasure) PROCEDURE "D"
      2. Register additional keys as necessary (additional key ID registration) PROCEDURE "C"
      All keys are lost - 1. Reset all keys (all keys ID erasure (key code reset)) PROCEDURE "E"
      2. Register all keys (new key ID registration) PROCEDURE "A"
    3. PART REPLACEMENT AND KEY REGISTRATION PROCEDURES
      1. If a malfunctioning ECU is discovered through troubleshooting of the smart key system, use the ECU replacement and key registration procedures in the table below.

        HINT:

        • The following procedures require the use of the Techstream:

          - New key ID registtration -

        • Maximum of 7 keys can be registered
        2009 RGISTRATION PROCEDURES REFERENCE CHART

        Malfunctioning ECU Condition Procedure Refer to
        Certification ECU (smart key ECU assembly) Customer has brought all keys 1. Replace certification ECU (smart key ECU assembly) -
        2. Reregister all keys (new key ID registration) PROCEDURE "B"
        Some keys are lost Key ID codes can be registered and cleared 1. Clear key codes (key ID erasure) PROCEDURE "D"
        2. Perform additional key registration procedure (additional key ID registration)
        If some keys are not registered during above steps, they will be disabled because they cannot be registered later.
        PROCEDURE "C"
        3. Replace certification ECU (smart key ECU assembly) -
        4. Reregister all keys (new key ID registration) PROCEDURE "B"
        Key ID codes cannot be either registered or cleared 1. Replace certification ECU (smart key ECU assembly) -
        2. Replace ID code box (immobiliser code ECU) -
        3. Register all keys (new key ID registration)
        If key codes cannot be cleared or additional keys cannot be registered due to a malfunction in certification ECU (smart key ECU assembly), replace ID code box (immobiliser code ECU) and certification ECU (smart key ECU assembly). If some keys are not registered during above steps, they will be disabled because they cannot be registered later.
        PROCEDURE "A"
        4. ECU communication ID registration PROCEDURE "G"
        All keys are lost 1. Replace certification ECU (smart key ECU assembly) -
        2. Replace ID code box (immobiliser code ECU) -
        3. Register all keys (new key ID registration) PROCEDURE "A"
        4. ECU communication ID registration PROCEDURE "G"
        ID code box (immobiliser code ECU) Customer has brought at least 1 key 1. Replace ID code box (immobiliser code ECU) -
        2. Register recognition codes in ECUs (ECU code registration) PROCEDURE "F"
        3. ECU communication ID registration PROCEDURE "G"
        All keys are lost 1. Replace certification ECU (smart key ECU assembly) -
        2. Replace ID code box (immobiliser code ECU) -
        3. Register all keys (new key ID registration) PROCEDURE "A"
        4. ECU communication ID registration PROCEDURE "G"
        Steering lock ECU Customer has brought at least 1 key 1. Replace steering lock ECU -
        2. Register recognition codes in ECUs (ECU code registration) PROCEDURE "F"
        All keys are lost 1. Replace certification ECU (smart key ECU assembly) -
        2. Replace ID code box (immobiliser code ECU) -
        3. Replace steering lock ECU -
        4. Register all keys (new key ID registration) PROCEDURE "A"
        5. ECU communication ID registration PROCEDURE "G"
        Main body ECU No condition required - -
        ECM No condition required 1. Replace ECM -
        2. ECU communication ID registration
        Only perform procedure above when replacing with used ECM.
        PROCEDURE "H"
    4. KEY REGISTRATION PROCEDURES
      1. PROCEDURE "A"

        New key ID registration (when replacing certification ECU (smart key ECU assembly) and ID code box (immobiliser code ECU), or certification ECU (smart key ECU assembly), ID code box (immobiliser code ECU) and steering lock ECU), or when performing all keys ID erasure (key code reset):

        KEY REGISTRATION PROCEDURES REFERENCE CHART

        Process Procedure
        1. Start of registration
        1. Connect the Techstream to DLC3
        2. Turn the engine switch on (IG)

          HINT:

          The engine switch cannot be turned on (IG) more than 10 times. To continue the key registration procedure with the engine switch off, after connecting the Techstream, turn the Techstream on while turning the driver side door courtesy light switch on and off repeatedly at intervals of 1.5 seconds.

        3. Turn the Techstream on
        4. Enter the following menus: Smart Key / Utility / Key Code Registration
        2. Confirmation of ECU code Perform operation according to prompts on the Techstream screen
        HINT:
        Mode is automatically selected by the Techstream (new registration mode or add mode).
        3. Verification of unregistered key*
        1. Touch logo of unregistered key to engine switch
        2. Confirm that wireless door lock buzzer sounds once (short beep)
        3. Place unregistered key on front passenger side seat
        4. Confirm that wireless door lock buzzer sounds once (short beep)
        4. Registration of ID code Perform operation according to prompts on the Techstream screen
        5. End of registration Finish new key ID code registration
        HINT:
        *: Repeat this process for each key which is to be registered to the vehicle. Finish the procedure for each key within 30 seconds. If the procedure for any of the keys has not been finished within the specified time, perform the registration from process 1 again. Make sure that only 1 key is in the cabin during registration. If 2 or more keys are in the cabin simultaneously, the electric waves will interfere with each other, preventing normal registration.
      2. PROCEDURE "B"

        New key ID registration (when replacing certification ECU (smart key ECU assembly)):

        KEY REGISTRATION PROCEDURES REFERENCE CHART

        Process Procedure
        1. Start of registration
        1. Connect the Techstream to DLC3
        2. Turn the engine switch on (IG)

          HINT:

          The engine switch cannot be turned on (IG) more than 10 times. To continue the key registration procedure with the engine switch off, after connecting the Techstream, turn the Techstream on while turning the driver side door courtesy light switch on and off repeatedly at intervals of 1.5 seconds.

        3. Turn the Techstream on
        4. Enter the following menus: Smart Key / Utility / Key Code Registration
        2. Confirmation of ECU code Perform operation according to prompts on the Techstream screen
        HINT:
        Mode is automatically selected by the Techstream (new registration mode or add mode).
        3. Confirmation of all registered keys*1
        1. Touch logo of registered key to engine switch
        2. Confirm that wireless door lock buzzer sounds once (short beep)
        4. Confirmation of ECU code Perform operation according to prompts on the Techstream screen
        5. Verification of unregistered key*2
        1. Touch logo of unregistered key to engine switch
        2. Confirm that wireless door lock buzzer sounds once (short beep)
        3. Place unregistered key on front passenger side seat
        4. Confirm that wireless door lock buzzer sounds once (short beep)
        6. Registration of ID code Perform operation according to prompts on the Techstream screen
        7. End of registration Finish new key ID code registration
        HINT:
        • *1: Repeat this process for each key registered to the vehicle. Finish the procedure for each key within 30 seconds. If the procedure for any of the keys has not been finished within the specified time, perform the registration from process 1 again. When performing the key confirmation procedure for a key, the security indicator light comes on and remains on until all the keys are confirmed.
        • *2: Repeat this process for each key which is to be registered to the vehicle. Finish the procedure for each key within 30 seconds. If the procedure for any of the keys has not been finished within the specified time, perform the registration from process 1 again. Make sure that only 1 key is in the cabin during registration. If 2 or more keys are in the cabin simultaneously, the electric waves will interfere with each other, preventing normal registration.
      3. PROCEDURE "C"

        Additional key ID registration:

        KEY REGISTRATION PROCEDURES REFERENCE CHART

        Process Procedure
        1. Start of registration
        1. Connect the Techstream to DLC3
        2. Turn the engine switch on (1G)

          HINT:

          The engine switch cannot be turned on (IG) more than 10 times. To continue the key registration procedure with the engine switch off, after connecting the Techstream, turn the Techstream on while turning the driver side door courtesy light switch on and off repeatedly at intervals of 1.5 seconds.

        3. Turn the Techstream on
        4. Enter the following menus: Smart Key / Utility / Key Code Registration
        2. Confirmation of registered key*1
        1. Perform operation according to prompts on the Techstream screen
        2. Touch logo of registered key to engine switch
        3. Confirm that wireless door lock buzzer sounds once (short beep)
        3. Confirmation of ECU code Perform operation according to prompts on the Techstream screen
        4. Verification of unregistered key*2
        1. Touch logo of unregistered key to engine switch
        2. Confirm that wireless door lock buzzer sounds once (short beep)
        3. Place unregistered key on front passenger side seat
        4. Confirm that wireless door lock buzzer sounds once (short beep)
        5. Registration of ID code Perform operation according to prompts on the Techstream screen
        6. End of registration Finish key ID code registration
        HINT:
        • *1: Perform this process for one of the keys registered to the vehicle. Finish the procedure within 30 seconds. If the procedure has not been finished within the specified time, perform the registration from process 1 again.
        • *2: Repeat this process for each key which is to be registered to the vehicle. Finish the procedure for each key within 30 seconds. If the procedure for any of the keys has not been finished within the specified time, perform the registration from process 1 again. Make sure that only 1 key is in the cabin during registration. If 2 or more keys are in the cabin simultaneously, the electric waves will interfere with each other, preventing normal registration.
      4. PROCEDURE "D"

        Key ID erasure (clear all registered key codes except one):

        KEY REGISTRATION PROCEDURES REFERENCE CHART

        Process Procedure
        1. Start of erasure
        1. Connect the Techstream to DLC3
        2. Turn the engine switch on (IG)

          HINT:

          The engine switch cannot be turned on (IG) more than 10 times. To continue the key ID erasure procedure with the engine switch off, after connecting the Techstream, turn the Techstream on while turning the driver side door courtesy light switch on and off repeatedly at intervals of 1.5 seconds.

        3. Turn the Techstream on
        4. Enter the following menus: Smart Key / Utility / Key Code Erasure
        2. Confirmation of registered key*
        1. Perform operation according to prompts on the Techstream screen
        2. Touch logo of registered key to engine switch
        3. Confirm that wireless door lock buzzer sounds once (short beep)
        3. Erasure of ID code Perform operation according to prompts on the Techstream screen
        4. End of erasure Finish key ID code erasure
        HINT:
        *: Perform this process for one of the keys registered to the vehicle. Finish the procedure within 30 seconds. If the procedure has not been finished within the specified time, perform the erasure from process 1 again.
      5. PROCEDURE "E"

        All keys ID erasure:

        KEY REGISTRATION PROCEDURES REFERENCE CHART

        Process Procedure
        1. Start of erasure
        1. Connect the Techstream to DLC3
        2. Turn the engine switch on (IG)

          HINT:

          The engine switch cannot be turned on (IG) more than 10 times. To continue the all keys ID erasure procedure with the engine switch off, after connecting the Techstream, turn the Techstream on while turning the driver side door courtesy light switch on and off repeatedly at intervals of 1.5 seconds.

        3. Turn the Techstream on
        4. Enter the following menus: Smart Key / Utility / Key Code Reset
        5. Read "Seed Number" sent from TIS according to the Techstream screen
        2. Confirmation of registered key* Touch logo of registered key to engine switch
        3. Erasure of ID code Perform operation according to prompts on the Techstream screen
        4. End of erasure Finish key ID code erasure
        HINT:
        *: Perform this process for one of the keys registered to the vehicle. Finish the procedure within 30 seconds. If the procedure has not been finished within the specified time, perform the erasure from process 1 again.
      6. PROCEDURE "F"

        ECU code registration:

        KEY REGISTRATION PROCEDURES REFERENCE CHART

        Process Procedure
        1. Start of registration
        1. Connect the Techstream to DLC3
        2. Turn the engine switch on (IG)

          HINT:

          The engine switch cannot be turned on (IG) more than 10 times. To continue the ECU code registration procedure with the engine switch off, after connecting the Techstream, turn the Techstream on while turning the driver side door courtesy light switch on and off repeatedly at intervals of 1.5 seconds.

        3. Turn the Techstream on
        4. Enter the following menus: Smart Key / Utility / ECU Communication ID Registration / ID code box (immobilizer code ECU) and Steering Lock
        5. Read "Seed Number" sent from TIS according to the Techstream screen
        2. Confirmation of registered key*
        1. Touch logo of registered key to engine switch
        2. Confirm that wireless door lock buzzer sounds once (short beep)
        3. Erasure of ECU code Perform operation according to prompts on the Techstream screen
        4. End of registration Finish ECU code registration
        HINT:
        *: Perform this process for one of the keys registered to the vehicle. Finish the procedure within 30 seconds. If the procedure has not been finished within the specified time, perform the registration from process 1 again.
      7. PROCEDURE "G"

        ECU communication ID registration:

        NOTE:
        • The ECU communication ID should be registered when the ID code box (immobilizer code ECU), steering lock ECU or ECM is replaced in order to match the ECU communication ID.
        • The engine cannot be started unless ECU communication ID is registered.
        • After the registration, pressing the engine switch may not start the engine on the first try. If so, press the engine switch again.
        • After the engine is started, clear DTC B2799 (code for ECM immobilizer communication error) using either of the following methods:
          • Use the Techstream.
          • Disconnect the cable from the negative (-) battery terminal for 30 seconds.
            Fig 43: Identifying DLC3 Connector Terminals
            G05631028Courtesy of © TOYOTA, LICENSE AGREEMENT TMS1002

        SST 09843-18040 

        1. Using SST, connect terminals 13 (TC) and 4 (CG) of the DLC3.
        2. Turn the engine switch on (IG) (do not start the engine) and leave it as is for 30 minutes.
        3. Turn the engine switch off and disconnect terminals 13 (TC) and 4 (CG).
        4. Check that the engine starts and stays on for more than 3 seconds.
      8. PROCEDURE "H"

        ECU communication ID re-registration:

        NOTE: The ECU communication ID should be registered when the ECM is replaced in order to match the ECU communication ID.
        SECURITY INDICATOR LIGHT CONDITION CHART

        Procedure Time Security Indicator Light Condition
        1. Start - OFF
        2. While holding registered key, turn the engine switch on (IG) with brake pedal depressed
        3. Check that engine starts and stays on for more than 3 seconds
        4. End
  14. INITIALIZATION RELATED TO OCCUPANT CLASSIFICATION SYSTEM 
    1. REGISTRATION
      NOTE:
      • If any DTCs related to the occupant classification ECU are output, troubleshoot those DTCs by referring to the Diagnostic Trouble Code Chart.
      • When ECU data saving or loading operations cannot be performed, replace the No. 1 seat cushion (occupant classification ECU and occupant detection sensor).

      HINT:

      • When the No. 1 seat cushion (occupant classification ECU) is replaced, the previous ECU data must be saved in the Techstream and loaded into the new ECU by following the flowchart below.
      • Until the data from the previous ECU are loaded into the new occupant classification ECU, these data are not cleared even when the Techstream is turned off.
      1. Connect the Techstream to the DLC3.
      2. Turn the engine switch on (IG).
      3. Store the occupant classification ECU data in the Techstream by following the prompts on the Techstream screen.

        HINT:

        If the ECU data cannot be stored in the Techstream, replace the No. 1 seat cushion (occupant classification ECU and occupant detection sensor).

      4. Turn the engine switch on (IG).
      5. Disconnect the cable from the negative (-) battery terminal, and wait for at least 90 seconds.
      6. Replace the No. 1 seat cushion (occupant classification ECU).
      7. Connect the cable to the negative (-) battery terminal.
      8. Turn the engine switch on (IG).
      9. Load the data from the previous ECU stored in the Techstream into the newly installed ECU by following the prompts on the Techstream screen.
      10. Turn the engine switch off.
      11. Turn the engine switch on (IG).
      12. Clear the DTCs stored in the memory.

        HINT:

        If DTCs are not cleared at this time, past DTCs will remain.

    2. ZERO POINT CALIBRATION
      NOTE: Make sure that the front passenger seat is not occupied before performing the operation.

      HINT:

      Perform zero point calibration if any of the following conditions is met:

      • The No. 1 seat cushion (occupant classification ECU) is replaced.
      • The passenger airbag ON/OFF indicator indicates OFF when the front passenger seat is not occupied.
      • The vehicle is brought to the workshop for repair due to an accident or a collision.
      1. Zero point calibration procedures
        1. Check that all of the following conditions are met:
          • The vehicle is parked on a level surface.
          • No objects are placed on the front passenger seat.
          • The front passenger seat belt buckle switch is off.
        2. Adjust the seat position according to the table below.
          SEAT POSITION REFERENCE

          Adjustment Item Position
          Slide Direction Rear most position
          Reclining Angle Upright position
          Front vertical Height Upper most position
          Lifter Height Lower most position
        3. Connect the Techstream to the DLC3.
        4. Turn the engine switch on (IG).
        5. Perform zero point calibration by following the prompts on the Techstream screen.

          HINT:

          • Refer to the Techstream operator's manual for further details.
          • If the zero point calibration is performed when the calibration conditions are not satisfied, DTC B1797 is output.
          • If the zero point calibration has failed, DTC B1797 is output.
          • If After Exchange is selected before the previous ECU data are stored in the Techstream, the display screen returns to System Select: Body Electrical / Occupant Detection.

            OK: 

            "Zero Point Calibration is complete" is displayed. 

            ITEM REFERENCE

            Item Procedure
            DTC Check for DTCs and perform troubleshooting
            Write error Replace No. 1 seat cushion (occupant classification ECU and occupant detection sensor)
            Temperature Check value of Thermistor temperature output in Data List
            Pressure Check value of Filtered pressure sensor output in Data List
            Crash counter -
    3. SENSITIVITY CHECK
      1. Sensitivity check procedures
        1. Turn the engine switch off.
        2. Place a weight of 20 kg (44.0 lb) on the front passenger seat.
          NOTE:
          • Do not allow the weight to come into contact with the seatback when placing it on the seat cushion.
          • Place the weight in the area shown in the illustration.
            Fig 44: Identifying Front Passenger Seat
            G04947418Courtesy of © TOYOTA, LICENSE AGREEMENT TMS1002
        3. Turn the engine switch on (IG), and wait for at least 6 seconds.
        4. Check that the passenger airbag ON/OFF indicator indicates OFF.

          OK: 

          Passenger airbag ON/OFF indicator indicates off. 

        5. Add a weight of 30 kg (66.1 lb) to the front passenger seat (total 50 kg (110.2 lb)).
          NOTE: Do not allow the weight to come into contact with the seatback when placing it on the seat cushion.
        6. Check that the passenger airbag ON/OFF indicator indicates ON.

          OK: 

          Passenger airbag ON/OFF indicator indicates ON. 

  15. INITIALIZATION RELATED TO POWER WINDOW CONTROL SYSTEM 
    1. INITIALIZE POWER WINDOW CONTROL SYSTEM (POWER WINDOW REGULATOR MOTOR (ALL DOORS))
      CAUTION: When the power window regulator motor is reinstalled or replaced, the power window control system must be initialized. Functions such as the auto up/down, jam protection and key-off do not operate if the initialization is not performed.

      HINT:

      When the battery is replaced, it is not necessary to initialize the power window regulator motor.

      NOTE:
      • When the power window regulator motor is replaced, DTC B2313 is output. Clear the DTC after the initialization.
      • When performing initialization, do not perform any other procedures.
      • After a door glass or a door glass run has been replaced, the jam protection function may operate unexpectedly when the auto up function is used, due to detection of a value different from the operation learned value of the door glass movement speed. In such cases, the auto up function can be resumed by repeating the following operation at least 5 times:
        1. Open the power window by fully pushing down the power window switch.
        2. Close the power window by fully pulling up the power window switch and holding it at the auto up position.
      • If the initialization is not completed properly, the LIN communication system may have a malfunction.
      1. Initialization procedures when replacing the power window regulator motor with a new one:
        1. Connect the battery and turn the engine switch on (IG) (at this time, the LED on the power window switch blinks to indicate that it is ready for initialization).
        2. Fully open the window by fully pushing the power window switch, and hold the switch for 1 second or more after the window is fully opened.
        3. Fully close the power window by fully pulling the power window switch, and hold the switch for 1 second or more after the window is fully closed to reset the glass position. The LED on the power window switch stops blinking and illuminates to indicate that the initialization is complete.
      2. Initialization procedures when removing/ installing the power window regulator motor:
        1. Connect the battery and turn the engine switch on (IG).
        2. Fully close the power window by fully pulling the power window switch, and hold the switch for 6 seconds or more after the window is fully closed (if the power window does not move or stops halfway even when the switch is fully pulled, release the switch and fully pull it again).
        3. Fully open the window by pushing down the power window switch, and hold the switch for 1 second or more after the window is fully opened.
        4. Release the power window switch. Then fully push and hold the switch for 4 seconds or more.
        5. Fully close the power window by fully pulling the power window switch, and hold the switch for 1 second or more after the window is fully closed to reset the glass position and complete the initialization.
      3. Initialization procedures when the power window does not fully open:
        1. Connect the battery and turn the engine switch on (IG).
        2. Fully close the power window by fully pulling the power window switch, and hold the switch for 6 seconds or more after the window is fully closed (if the power window does not move or stops halfway even when the switch is fully pulled, release the switch and fully pull it again).
        3. Fully open the window by pushing down the power window switch, and hold the switch for 1 second or more after the window is fully opened.
        4. Release the power window switch. Then fully push and hold the switch 4 seconds or more.
        5. Fully close the power window by fully pulling the power window switch, and hold the switch 1 second, or more after the window is fully closed to reset the glass position and complete the initialization.
  16. INITIALIZATION RELATED TO SLIDING ROOF SYSTEM 
    1. INITIALIZE SLIDING ROOF DRIVE GEAR
      NOTE:
      • When the sliding roof glass is replaced or removed and installed, or the drive gear assembly is replaced, the sliding roof drive gear requires initialization (pulse sensor initial position setting), as the glass position cannot be determined. If initialization is not performed, the auto slide open and close/tilt up and down function may not operate, or the sliding roof may move in reverse or become misaligned.
      • During initialization, do not apply a physical shock, such as opening/closing a door or driving the vehicle at 5 km/h (3.10 mph) or more, to the vehicle and do not perform the following electrical operations:
        1. Cranking the engine
        2. Turning the engine switch from on (IG) to off
        3. Operating the power window switches
        4. Operating the window defogger switch
        5. Operating the blower switch
        6. Locking/Unlocking the door
        7. Operating the headlight dimmer switch

      HINT:

      When the cable is disconnected and reconnected to the negative (-) battery terminal or the drive gear connector is disconnected and reconnected, the sliding roof drive gear (pulse sensor initial position setting) initialization is not necessary.

      1. Perform initialization according to the table below.
        CONDITION OF SLIDING ROOF

        Condition of Sliding Roof Proceed to
        Auto slide open and close/tilt up and down function does not operate Procedure A
        Sliding roof moves in reverse direction during tilt down operation Procedure B
        Sliding roof moves in reverse direction during slide close operation Procedure C
        1. Procedure A
          1. Turn the engine switch on (IG).
          2. Open the sliding roof to the fully tilt up position.
          3. Press and hold the UP switch to perform the following operations: tilt up → approximately 10 second pause → tilt down → slide open → slide close.
            NOTE: Make sure not to release the switch during the initialization. If the switch is released, perform the initialization again.
          4. Continue to hold the switch for 1 second or more after the sliding roof stops in the fully closed position, and then release it.
          5. The initialization is completed.
        2. Procedure B
          1. Turn the engine switch on (IG).
          2. Press the UP switch until the sliding roof stops.

            HINT:

            If the glass becomes misaligned or does not fully tilt up, perform the following operations:

            1. Operate the CLOSE switch until the sliding roof stops moving.
            2. Operate the UP switch until the sliding roof stops moving, then proceed to the next step.
          3. Release the switch.
          4. Press and hold the UP switch to perform the following operations: tilt up → approximately 10 second pause → tilt down → slide open → slide close.
            NOTE: Make sure not to release the switch during the initialization. If the switch is released, perform the initialization again.
          5. Continue to hold the switch for 1 second or more after the sliding roof stops in the fully closed position, and then release it.
          6. The initialization is completed.
        3. Procedure C
          1. Turn the engine switch on (IG).
          2. Press and hold the CLOSE switch to perform the following operations: slide close → move in reverse direction → 10 second pause → slide close → tilt up → tilt down → slide open → slide close.
            NOTE: Make sure not to release the switch during the initialization. If the switch is released, perform the initialization again.
          3. Continue to hold the switch for 1 second or more after the sliding roof stops in the fully closed position, and then release it.
          4. Check if the auto function is operative.
  17. ADJUSTMENT FOR HEADLIGHT ASSEMBLY 
    1. VEHICLE PREPARATION FOR HEADLIGHT AIMING ADJUSTMENT
      1. Prepare the vehicle:
        • Ensure there is no damage to the body around the headlights.
        • Fill the fuel tank.
        • Make sure that the oil is filled to the specified level.
        • Make sure that the coolant is filled to the specified level.
        • Inflate the tires to the appropriate pressure.
        • Unload the trunk and vehicle, ensuring that the spare tire, tools, and jack are also removed.
        • Have a person of average weight (68 kg, 150 lb) sit in the driver seat.
        • Vehicles with height adjustable suspension should have the vehicle height set to the lowest setting prior to adjusting the headlight aim.
        • Vehicles with manually adjustable headlights should be adjusted to "0".
    2. PREPARATION FOR HEADLIGHT AIMING (Using a screen)
      1. Prepare the vehicle:
        • Place the vehicle in a location that is dark enough to clearly observe the cutoff line. The cutoff line is a distinct line, below which light from the headlights can be observed and above which it cannot.
        • Place the vehicle at a 90° angle to the wall.
          Fig 45: Identifying Headlight Beam Distance
          G05637127Courtesy of © TOYOTA, LICENSE AGREEMENT TMS1002
        • Create a 7.62 m (25.0 ft.) distance between the vehicle (headlight bulb center) and the wall.
        • Make sure that the vehicle is on a level surface.
        • Bounce the vehicle up and down to settle the suspension.
        NOTE: A distance of 7.62 m (25.0 ft.) between the vehicle (headlight bulb center) and the wall is necessary for proper aim adjustment. If unavailable, secure a distance of exactly 3 m (9.84 ft.) for the check and adjustment. (The target zone will change with the distance, so follow the instructions in the illustration).
      2. Prepare a piece of thick white paper approximately 2 m (6.56 ft.) (height) x 4 m (13.1 ft.) (width) to use as a screen.
      3. Draw a vertical line down the center of the screen (V line).
      4. Set the screen as shown in the illustration.
        Fig 46: Aligning V Line On Screen With Center Of Vehicle
        G05637128Courtesy of © TOYOTA, LICENSE AGREEMENT TMS1002

        HINT:

        • Stand the screen perpendicular to the ground.
        • Align the V line on the screen with the center of the vehicle.
      5. Draw base lines (H, V LH, and V RH Lines) on the screen as shown in the illustration.

        HINT:

        • The base lines differ for "low beam inspection" and "high beam inspection".
        • Mark the headlight bulb center marks on the screen. If the center mark cannot be observed on the headlight, use the center of the headlight bulb or the name of the manufacturer marked on the headlight as the center mark.
          Fig 47: Identifying Base Lines On Screen (H, V LH, And V RH Lines)
          G04944813Courtesy of © TOYOTA, LICENSE AGREEMENT TMS1002
        1. H Line (Headlight):

          Draw a horizontal line across the screen so that it passes through the center marks. The H line should be at the same height as the headlight bulb center marks of the low beam headlights.

        2. V LH Line, V RH Line (Center mark position of the left-hand (LH) and right-hand (RH) headlights):
    3. HEADLIGHT AIMING INSPECTION
      1. Cover the headlight or disconnect the connector of the headlight on the opposite side to prevent light from the headlight that is not being inspected from affecting the headlight aiming.
        NOTE: Do not keep the headlight covered for more than 3 minutes. The headlight lens is made of synthetic resin, which may melt or be damaged due to excessive heat.

        HINT:

        When checking the aim of the high beam headlight, cover the low beam headlight or disconnect the connector.

      2. Start the engine.
        Fig 48: Identifying Headlight Beam Distance
        G05637127Courtesy of © TOYOTA, LICENSE AGREEMENT TMS1002
      3. Turn on the headlight and check if the cutoff line matches the preferred cutoff line in the following illustration.
        Fig 49: Identifying Headlight Beam Distance
        G05637365Courtesy of © TOYOTA, LICENSE AGREEMENT TMS1002

        HINT:

        • Since the low beam and high beam headlight on each side have separate reflectors, it is necessary to check and adjust the aim separately for both.
        • If the alignment distance is 7.62 m (25.0 ft.): The low beam cutoff line should be within 79.5 mm (3.13 in.) above or below the H line as well as 79.5 mm (3.13 in.) left or right of the V line.
        • If the alignment distance is 3 m (9.84 ft.): The low beam cutoff line should be within 71.5 mm (2.81 in.) above or below the H line as well as 71.5 mm (2.81 in.) left or right of the V line.
        • If the alignment distance is 7.62 m (25.0 ft.): The high beam center of intensity should be within 79.5 mm (3.13 in.) above or below the H line as well as 79.5 mm (3.13 in.) left or right of the V line.
        • If the alignment distance is 3.0 m (9.84 ft.): The high beam center of intensity should be within 71.5 mm (2.81 in.) above or below the H line as well as 71.5 mm (2.81 in.) left or right of the V line.
    4. HEADLIGHT AIMING ADJUSTMENT
      1. Adjust the aim vertically:

        Adjust the aim of each headlight to the specified range by turning each aiming screw with a screwdriver.

        NOTE: The final turn of the aiming screw should be made in the clockwise direction. If the screw is tightened excessively, loosen it and then retighten it, so that the final turn of the screw is in the clockwise direction.

        HINT:

        • The low beam and high beam headlight are a unit. Adjusting the aim on the low beam to the correct position should also result in the high beam adjustment being correct.
        • If it is not possible to correctly adjust headlight aim, check the bulb, headlight unit, and headlight unit reflector installation.
        • The headlight aim moves up when turning the aiming screw clockwise, and moves down when turning the aiming screw counterclockwise.
          Fig 50: Identifying Headlight Aiming Screw
          G05637132Courtesy of © TOYOTA, LICENSE AGREEMENT TMS1002
  18. ADJUSTMENT FOR FOG LIGHT ASSEMBLY 

    HINT:

    It is possible that a bulb is incorrectly installed, affecting fog light aim. Bulb installation should be considered prior to performing the adjustment procedure.

    1. VEHICLE PREPARATION FOR FOG LIGHT AIMING ADJUSTMENT
      1. Prepare the vehicle:
        • Ensure there is no damage or deformation to the body around the fog lights.
        • Fill the fuel tank.
        • Make sure that the oil is filled to the specified level.
        • Make sure that the coolant is filled to the specified level.
        • Inflate the tires to the appropriate pressure.
        • Unload the trunk and vehicle, ensuring that the spare tire, tools, and jack are also removed.
        • Have a person of average weight (68 kg, 150 lb) sit in the driver seat.
        • Vehicles with height adjustable suspension should have the vehicle height set to the lowest setting prior to adjusting the fog light aim.
    2. PREPARATION FOR FOG LIGHT AIMING
      1. Prepare the vehicle:
        • Place the vehicle in a location that is dark enough to clearly observe the cutoff line. The cutoff line is a distinct line, below which light from the fog lights can be observed and above which it cannot.
        • Place the vehicle at a 90° angle to the wall.
        • Create a 7.62 m (25.0 ft.) distance between the vehicle (fog light bulb center) and the wall.
        • Make sure that the vehicle is on a level surface.
        • Bounce the vehicle up and down to settle the suspension.
          Fig 51: Identifying Headlight Beam Distance
          G05637146Courtesy of © TOYOTA, LICENSE AGREEMENT TMS1002
        NOTE: A distance of 7.62 m (25.0 ft.) between the vehicle (fog light bulb center) and the wall is necessary for proper aim adjustment. If unavailable, secure a distance of exactly 3 m (9.84 ft.) for the check and adjustment. (The target zone will change with the distance, so follow the instructions in the illustration).
      2. Prepare a piece of thick white paper approximately 2.0 m (6.56 ft.) (height) x 4.0 m (13.1 ft.) (width) to use as a screen.
      3. Draw a vertical line down the center of the screen (V line).
      4. Set the screen as shown in the illustration.
        Fig 52: Aligning V Line On Screen With Center Of Vehicle
        G05637147Courtesy of © TOYOTA, LICENSE AGREEMENT TMS1002

        HINT:

        • Stand the screen perpendicular to the ground.
        • Align the V line on the screen with the center of the vehicle.
      5. Draw base lines (H, V LH, and V RH lines) on the screen as shown in the illustration.

        HINT:

        Mark the fog light bulb center marks on the screen. If the center mark cannot be observed on the fog light, use the center of the fog light bulb or the name of the manufacturer marked on the fog light as the center mark.

        1. H line (Fog light height):

          Draw a horizontal line across the screen so that it passes through the center marks. The H line should be at the same height as the fog light bulb center marks of the fog lights.

          Fig 53: Identifying Base Lines On Screen (H, V LH, And V RH Lines)
          G05637369Courtesy of © TOYOTA, LICENSE AGREEMENT TMS1002
        2. V LH Line, V RH Line (Center mark position of left-hand (LH) and right-hand (RH) fog lights):

          Draw two vertical lines so that they intersect the H line at each center mark.

    3. INSPECT FOG LIGHT AIMING
      1. Cover the fog light or disconnect the connector of the fog light on the opposite side to prevent light from the fog light that is not being inspected from affecting the fog light aiming inspection.
        NOTE: Do not keep the fog light covered for more than 3 minutes. The fog light lens is made of synthetic resin, which may melt or be damaged due to excessive heat.
      2. Start the engine.
      3. Turn on the fog light and check if the cutoff line falls within the specified area in the following illustration.
        Fig 54: Identifying Fog Light Aiming Aligning Distance
        G05637149Courtesy of © TOYOTA, LICENSE AGREEMENT TMS1002
    4. ADJUST FOG LIGHT AIMING
      1. Adjust the aim vertically:

        Adjust the aim of each fog light to the specified range by turning the aiming screw with a screwdriver.

        NOTE: The final turn of the aiming screw should be made in the clockwise direction. If the screw is tightened excessively, loosen it and then retighten it, so that the final turn of the screw is in the clockwise direction.

        HINT:

        If it is not possible to correctly adjust fog light aim, check the bulb, fog light unit, and fog light unit reflector installation.

        Fig 55: Adjusting Fog Light Aiming Screw
        G05637150Courtesy of © TOYOTA, LICENSE AGREEMENT TMS1002