lemon-mirror:
Home >> Toyota >> 2009 >> Land Cruiser >> Repair and Diagnosis >> Transmission >> Transfer Case -JF2A >> Transfer Assembly >> Reassembly

Transfer Assembly: Reassembly

HINT:

Coat all of the sliding and rotating surfaces with gear oil before reassembly.

  1. INSTALL REAR TRANSFER OUTPUT SHAFT 
    1. Install a new needle roller bearing.
      Fig 1: Identifying Needle Roller Bearing From Output Shaft
      G05629658Courtesy of © TOYOTA, LICENSE AGREEMENT TMS1002
    2. Using SST and a press, press in a new bearing.

      SST 09527-10011 

      NOTE: Set the snap ring groove of the bearing to the front side.
      Fig 2: Pressing Bearing
      G05629669Courtesy of © TOYOTA, LICENSE AGREEMENT TMS1002
  2. INSTALL TRANSFER DRIVE SPROCKET BEARING 
    1. Install the bearing to the output shaft.
    Fig 3: Identifying Transfer Drive Sprocket Bearing
    G05629656Courtesy of © TOYOTA, LICENSE AGREEMENT TMS1002
  3. INSTALL TRANSFER DRIVE SPROCKET SUBASSEMBLY 
    1. Install the drive sprocket to the output shaft.
    Fig 4: Identifying Drive Sprocket From Output Shaft
    G05629655Courtesy of © TOYOTA, LICENSE AGREEMENT TMS1002
  4. INSTALL TRANSFER OUTPUT SHAFT SPACER 
    1. Install the straight pin to the output shaft.
      Fig 5: Identifying Straight Pin
      G05629654Courtesy of © TOYOTA, LICENSE AGREEMENT TMS1002
    2. Align the straight pin with the straight pin groove of the output shaft spacer, and slide on the output shaft spacer.
      Fig 6: Identifying Straight Pin Groove Of Output Shaft Spacer
      G05629673Courtesy of © TOYOTA, LICENSE AGREEMENT TMS1002
    3. Using a screwdriver and hammer, tap on the snap ring.
    Fig 7: Identifying Snap Ring
    G05629674Courtesy of © TOYOTA, LICENSE AGREEMENT TMS1002
  5. INSPECT TRANSFER DRIVE SPROCKET SUBASSEMBLY 
    1. Using a feeler gauge, measure the drive sprocket thrust clearance.

      Standard Clearance: 

      0.10 to 0.47 mm (0.00394 to 0.0185 in.) 

      Maximum Clearance: 

      0.47 mm (0.0185 in.) 

      If the clearance is more than the maximum, replace the drive sprocket sub-assembly.

      Fig 8: Measuring Drive Sprocket Thrust Clearance
      G05629675Courtesy of © TOYOTA, LICENSE AGREEMENT TMS1002
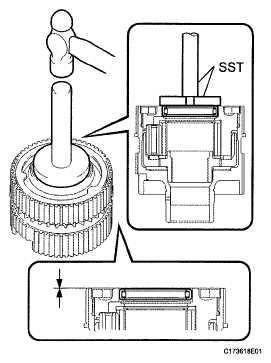
  6. INSTALL CENTER DIFFERENTIAL CASE 
    1. Using SST and a hammer, tap in a new needle roller bearing until its surface is 0 to 0.5 mm (0 to 0.0197 in.) from the center differential case upper surface.

      SST 09950-60020 (09951-00710), 09950-70010 (09951-07100) 

      NOTE:
      • Be careful not to damage the center differential case.
      • Install the bearing so that the mark is on the outside.
      Fig 9: Tapping Needle Roller Bearing Until Surface
      G05629676Courtesy of © TOYOTA, LICENSE AGREEMENT TMS1002
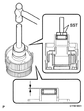
    2. Using SST and a hammer, tap in a new needle roller bearing until its surface is 1.5 to 2.0 mm (0.0591 to 0.0787 in.) from the center differential case upper surface.

      SST 09950-60010 (09951-00460), 09950-70010 (09951-07100) 

      NOTE:
      • Be careful not to damage the center differential case.
      • Install the bearing so that the mark is on the outside.
      Fig 10: Tapping Needle Roller Bearing Until Surface
      G05629677Courtesy of © TOYOTA, LICENSE AGREEMENT TMS1002
    3. Install the synchromesh shifting key spring and No. 2 synchromesh shifting keys as shown in the illustration (Fig 11).
      Fig 11: Identifying Synchromesh Shifting Keys
      G05629678Courtesy of © TOYOTA, LICENSE AGREEMENT TMS1002
    4. Using a snap ring expander, install the snap ring.
      Fig 12: Removing Snap Ring
      G05629648Courtesy of © TOYOTA, LICENSE AGREEMENT TMS1002
    5. Install the center differential case to the output shaft.
    Fig 13: Identifying Center Differential Case From Output Shaft
    G05629647Courtesy of © TOYOTA, LICENSE AGREEMENT TMS1002
  7. INSTALL NO. 1 TRANSFER OUTPUT SHAFT SPACER 
    1. Install the straight pin to the output shaft.
      Fig 14: Identifying Straight Pin
      G05629646Courtesy of © TOYOTA, LICENSE AGREEMENT TMS1002
    2. Install a new seal ring to the output shaft spacer.
      Fig 15: Identifying Seal Ring From Output Shaft Spacer
      G05629645Courtesy of © TOYOTA, LICENSE AGREEMENT TMS1002
    3. Align the pin with the straight pin groove of the output shaft spacer, and slide on the output shaft spacer.
      Fig 16: Identifying Straight Pin Groove Of Output Shaft Spacer
      G05629683Courtesy of © TOYOTA, LICENSE AGREEMENT TMS1002
    4. Using a screwdriver and hammer, tap on the snap
    Fig 17: Identifying Snap Ring
    G05629684Courtesy of © TOYOTA, LICENSE AGREEMENT TMS1002
  8. INSTALL TRANSFER INPUT SHAFT PLUG 
    1. Install the 2 output shaft washers to the output shaft.
    Fig 18: Identifying Transfer Output Shaft Washer
    G05629642Courtesy of © TOYOTA, LICENSE AGREEMENT TMS1002
  9. INSTALL TRANSFER INPUT SHAFT PLUG 
    1. Using SST and a hammer, tap in a new input shaft plug until its surface is 1.0 to 1.8 mm (0.0394 to 0.0709 in.) from the input shaft upper surface.

      SST 09950-60010 (09951-00410), 09950-70010 (09951-07150) 

      NOTE: Be careful not to damage or deform the input shaft plug when tapping it.
      Fig 19: Tapping Input Shaft
      G05629686Courtesy of © TOYOTA, LICENSE AGREEMENT TMS1002
  10. INSTALL TRANSFER INPUT SHAFT BIMETAL FORMED BUSH 
    1. Using SST and a hammer, tap in a new bush until its surface is 5.5 to 5.9 mm (0.217 to 0.232 in.) from the input shaft upper surface.

      SST 09950-70010 (09951-07150), 09950-60010 (09951-00610) 

      NOTE: Be careful not to damage the input shaft.
      Fig 20: Tapping Bush Until Surface
      G05629687Courtesy of © TOYOTA, LICENSE AGREEMENT TMS1002
  11. INSTALL TRANSFER INPUT SHAFT BEARING 
    1. Install the low planetary gear bearing and low planetary gear to the input shaft.
      NOTE:
      • Make sure the low planetary gear bearing is installed in the correct direction.
      • Install the low planetary gear bearing so that its temper color side faces the low planetary gear.
      Fig 21: Identifying Temper Color Side
      G05629688Courtesy of © TOYOTA, LICENSE AGREEMENT TMS1002
    2. Install the low planetary gear bearing and a new input shaft bearing to the input shaft.
      NOTE:
      • Make sure the input shaft bearing is installed in the correct direction.
      • Make sure the low planetary gear bearing is installed in the correct direction.
      • Install the low planetary gear bearing so that its temper color side faces the low planetary gear.
      Fig 22: Identifying Temper Color Side
      G05629689Courtesy of © TOYOTA, LICENSE AGREEMENT TMS1002
    3. Using SST and a press, press in the bearing.

      SST 09513-36040, 09515-21010 

      NOTE: After press-fitting the bearing to the input shaft, check that the bearing moves smoothly.
      Fig 23: Pressing Bearing With SST
      G05629690Courtesy of © TOYOTA, LICENSE AGREEMENT TMS1002
    4. Select a snap ring that allows for minimum axial play and install it to the shaft.

      Standard Snap Ring Thickness 

      SNAP RING THICKNESS SPECIFICATION

      Mark Specified Condition
      C 2.13 to 2.18 mm (0.0839 to 0.0858 in.)
      D 2.18 to 2.23 mm (0.0858 to 0.0878 in.)
      E 2.23 to 2.28 mm (0.0878 to 0.0898 in.)
      F 2.28 to 2.33 mm (0.0898 to 0.0917 in.)
      G 2.33 to 2.38 mm (0.0917 to 0.0937 in.)
      H 2.38 to 2.43 mm (0.0937 to 0.0957 in.)
      J 2.43 to 2.48 mm (0.0957 to 0.0976 in.)
      Fig 24: Identifying Snap Ring
      G05629691Courtesy of © TOYOTA, LICENSE AGREEMENT TMS1002
    5. Using a snap ring expander, install the snap ring.
    NOTE: Make sure that the snap ring is firmly installed to the groove.
  12. INSTALL NO. 1 TRANSFER INPUT SHAFT SEAL RING 
    1. Apply transfer oil to a new seal ring.
    2. Install the seal ring to the input shaft.
    Fig 25: Identifying Seal Ring From Input Shaft
    G05629637Courtesy of © TOYOTA, LICENSE AGREEMENT TMS1002
  13. INSTALL TRANSFER DRIVEN SPROCKET BEARING 
    1. Install a new bearing to the front transfer case in the direction shown in the illustration (Fig 26).
      NOTE: Make sure the bearing is installed in the correct direction.
      Fig 26: Identifying Transfer Driven Sprocket Bearing
      G05159019Courtesy of © TOYOTA, LICENSE AGREEMENT TMS1002
    2. Using a screwdriver, install the snap ring.
      Fig 27: Identifying Snap Ring
      G05629635Courtesy of © TOYOTA, LICENSE AGREEMENT TMS1002
  14. INSTALL TRANSFER LOW PLANETARY RING GEAR 
    1. Using a snap ring expander, install the snap ring to the front transfer case.
      Fig 28: Identifying Snap Ring From Front Transfer Case
      G05629634Courtesy of © TOYOTA, LICENSE AGREEMENT TMS1002
    2. Install the low planetary ring gear to the front transfer case.
      NOTE: Make sure to install the low planetary ring gear in the correct direction.
      Fig 29: Identifying Low Planetary Ring Gear
      G05629696Courtesy of © TOYOTA, LICENSE AGREEMENT TMS1002
    3. Using a screwdriver, install the snap ring.
      NOTE: Make sure that the snap ring is firmly installed to the groove.
      Fig 30: Identifying Snap Ring
      G05629633Courtesy of © TOYOTA, LICENSE AGREEMENT TMS1002
  15. INSTALL INPUT SHAFT ASSEMBLY 
    1. While expanding the snap ring, install the input shaft to the front transfer case.
    2. Apply adhesive to the threads of the 2 case plugs.

      Adhesive: 

      Toyota Genuine Adhesive 1344, Three Bond 1344 or equivalent 

      NOTE: Install the plugs within 3 minutes of application.
      Fig 31: Expanding Snap Ring
      G05629632Courtesy of © TOYOTA, LICENSE AGREEMENT TMS1002
    3. Using a 14 mm hexagon wrench, install the 2 case plugs.

      Torque: 37 N*m (377 kgf*cm, 27 ft.*lbf) 

      Fig 32: Locating Front Transfer Case Plugs
      G05158977Courtesy of © TOYOTA, LICENSE AGREEMENT TMS1002
  16. INSTALL TRANSFER CASE MAGNET 
    1. Install the magnet to the oil separator.
  17. INSTALL TRANSFER OIL SEPARATOR SUBASSEMBLY 
    1. Install a new O-ring to the oil separator.
      Fig 33: Locating Magnet From Oil Separator
      G05629630Courtesy of © TOYOTA, LICENSE AGREEMENT TMS1002
    2. Install the oil separator with the 3 bolts.

      Torque: 18 N*m (178 kgf*cm, 13 ft.*lbf) 

      Fig 34: Locating Oil Separator Bolts
      G05629629Courtesy of © TOYOTA, LICENSE AGREEMENT TMS1002
  18. INSTALL SIDE GEAR SHAFT HOLDER BEARING 
    1. Using SST and a hammer, tap in a new bearing to the rear transfer case.

      SST 09950-60010 (09951-00590), 09950-70010 (09951-07100) 

      Fig 35: Tapping Bearing To Rear Transfer Case
      G05629702Courtesy of © TOYOTA, LICENSE AGREEMENT TMS1002
    2. Using a screwdriver, install the snap ring.
    Fig 36: Identifying Snap Ring
    G05158974Courtesy of © TOYOTA, LICENSE AGREEMENT TMS1002
  19. INSTALL FRONT DRIVE CLUTCH SLEEVE 
    1. Apply gear oil to the connecting areas of the clutch sleeve and center differential case.
    2. Install the clutch sleeve onto the output shaft.
    NOTE: Make sure that the clutch sleeve is installed facing the correct direction.
    Fig 37: Identifying Front Drive Clutch Sleeve
    G05629704Courtesy of © TOYOTA, LICENSE AGREEMENT TMS1002
  20. INSTALL REAR TRANSFER OUTPUT SHAFT ASSEMBLY 
    1. Install the snap ring to the rear transfer case.
      Fig 38: Identifying Snap Ring From Rear Transfer Case
      G05629625Courtesy of © TOYOTA, LICENSE AGREEMENT TMS1002
    2. Install the output shaft, drive chain and driven sprocket.
      NOTE: Do not drop the output shaft washers.
      Fig 39: Identifying Drive Chain And Driven Sprocket
      G05629706Courtesy of © TOYOTA, LICENSE AGREEMENT TMS1002
    3. Using a snap ring expander, install the snap ring to the output shaft.
    NOTE: Make sure that the snap ring is firmly installed to the groove.
    Fig 40: Expanding Snap Ring
    G05629623Courtesy of © TOYOTA, LICENSE AGREEMENT TMS1002
  21. INSTALL TRANSFER SHIFT ACTUATOR ASSEMBLY 
    1. Install a new O-ring to the shift actuator.
      Fig 41: Identifying O-Ring From Shift Actuator
      G05629622Courtesy of © TOYOTA, LICENSE AGREEMENT TMS1002
    2. Set the No. 1 gear shift fork to the front drive clutch sleeve.
    3. Set the washer and straight pin to the rear transfer case.
      Fig 42: Identifying Shift Actuator, Gear Shift Fork, Washer, And Straight Pin From Rear Transfer Case
      G05629621Courtesy of © TOYOTA, LICENSE AGREEMENT TMS1002
    4. Install the shift actuator to the rear transfer case with the 3 bolts.

      Torque: 20 N*m (204 kgf*cm, 15 ft.*lbf) 

      Fig 43: Locating Transfer Shift Actuator Assembly Bolts
      G05629620Courtesy of © TOYOTA, LICENSE AGREEMENT TMS1002
    5. Install the No. 1 gear Shift fork to the shift actuator with the bolt.

    Torque: 24 N*m (245 kgf*cm, 18 ft.*lbf) 

    Fig 44: Locating Gear Shift Fork Bolt
    G05629619Courtesy of © TOYOTA, LICENSE AGREEMENT TMS1002
  22. INSTALL NO. 2 TRANSFER GEAR SHIFT FORK 
    1. Set the No. 2 gear shift fork together with the high and low clutch sleeve to the shift actuator.
      Fig 45: Identifying Transfer Gear Shift Fork
      G05629712Courtesy of © TOYOTA, LICENSE AGREEMENT TMS1002
    2. Install the No. 2 gear shift fork to the shift actuator with the bolt.

      Torque: 24 N*m (245 kgf*cm, 18 ft.*lbf) 

      Fig 46: Locating Gear Shift Fork Bolt
      G05629618Courtesy of © TOYOTA, LICENSE AGREEMENT TMS1002
    3. Using a screwdriver and hammer, tap the 4 shift fork shaft snap rings to the shift fork shaft.
    Fig 47: Locating Snap Rings To Shift Fork Shaft
    G05629714Courtesy of © TOYOTA, LICENSE AGREEMENT TMS1002
  23. INSTALL FRONT TRANSFER OUTPUT SHAFT NEEDLE ROLLER BEARING 
    1. Install the needle roller bearing and spacer to the output shaft.
    Fig 48: Identifying Needle Roller Bearing And Spacer From Output Shaft
    G05629616Courtesy of © TOYOTA, LICENSE AGREEMENT TMS1002
  24. INSTALL NO. 1 SYNCHRONIZER RING 
    1. Align the protrusion of the synchronizer ring with the notch on the differential case and install it.
    Fig 49: Identifying Synchronizer Ring
    G05629716Courtesy of © TOYOTA, LICENSE AGREEMENT TMS1002
  25. INSTALL REAR TRANSFER CASE ASSEMBLY 
    1. Apply seal packing to the rear transfer case as shown in the illustration (Fig 50).

      Seal Packing: 

      Toyota Genuine Seal Packing 1281, Three Bond 1281 or equivalent 

      Fig 50: Identifying Seal Packing To Rear Transfer Case
      G05629717Courtesy of © TOYOTA, LICENSE AGREEMENT TMS1002
      NOTE: If the removed rear transfer case will be reused: After removing the rear transfer case, be sure to perform the following before reinstalling it: 1) using a knife, cut off any old FIPG material on the rear transfer case contact surface, 2) clean off any remaining old FIPG material from the rear transfer case contact surface, and 3) reapply seal packing to the rear transfer case.
    2. Install the rear transfer case with the 14 bolts.

      Torque: 28 N*m (286 kgf*cm, 21 ft.*lbf) 

      NOTE: Tighten the bolts within 10 minutes of applying the seal packing. The seal packing will dry very quickly.
      Fig 51: Locating Rear Transfer Case Assembly Bolts
      G05629615Courtesy of © TOYOTA, LICENSE AGREEMENT TMS1002
  26. INSTALL TRANSFER CASE PLUG 
    1. Apply adhesive to the threads of the plug.

      Adhesive: 

      Toyota Genuine Adhesive 1344, Three Bond 1344 or equivalent 

      NOTE: Install the plug within 3 minutes of application.
    2. Using a 6 mm hexagon wrench, install the plug.

      Torque: 39 N*m (400 kgf*cm, 29 ft.*lbf) 

      Fig 52: Locating Transfer Case Plug
      G05629719Courtesy of © TOYOTA, LICENSE AGREEMENT TMS1002
  27. INSTALL NO. 1 TRANSFER CASE PLUG 
    1. Install the pin and compression spring to the front transfer case.
    2. Apply adhesive to the threads of the plug.

      Adhesive: 

      Toyota Genuine Adhesive 1344, Three Bond 1344 or equivalent 

      NOTE: Install the plug within 3 minutes of application.
    3. Install the plug.

      Torque: 19 N*m (190 kgf*cm, 14 ft.*lbf) 

      Fig 53: Identifying Transfer Case Plug
      G05629613Courtesy of © TOYOTA, LICENSE AGREEMENT TMS1002
  28. INSTALL TRANSFER CASE REAR OIL SEAL  (See REPLACEMENT  )
  29. INSTALL REAR OUTPUT SHAFT COMPANION FLANGE SUB-ASSEMBLY 
    1. Install the companion flange onto the output shaft.
    2. Using SST to hold the companion flange, install a new O-ring and companion flange lock nut.

      SST 09330-00021 

      Torque: 127 N*m (1299 kgf*cm, 94 ft.*lbf) 

      Fig 54: Removing Lock Nut
      G05629611Courtesy of © TOYOTA, LICENSE AGREEMENT TMS1002
    3. Using a chisel and hammer, stake the companion flange lock nut.
  30. INSTALL TRANSFER CASE FRONT OIL SEAL  (See REPLACEMENT  )
  31. INSTALL FRONT OUTPUT SHAFT COMPANION FLANGE SUB-ASSEMBLY 
    1. Install the companion flange onto the drive sprocket.
      Fig 55: Identifying Correct And Incorrect Companion Flange Lock Nut
      G05629722Courtesy of © TOYOTA, LICENSE AGREEMENT TMS1002
    2. Using SST to hold the companion flange, install a new O-ring and companion flange lock nut.

      SST 09330-00021 

      Torque: 127 N*m (1299 kgf*cm, 94 ft.*lbf) 

      Fig 56: Removing Companion Flange Lock Nut
      G05629608Courtesy of © TOYOTA, LICENSE AGREEMENT TMS1002
    3. Using a chisel and hammer, stake the companion flange lock nut.
    Fig 57: Identifying Correct And Incorrect Companion Flange Lock Nut
    G05629722Courtesy of © TOYOTA, LICENSE AGREEMENT TMS1002
  32. INSTALL TRANSFER OIL PUMP PLATE OIL SEAL 
    1. Using SST and a hammer, tap in a new oil seal until its surface is flush with the oil pump plate upper surface.

    SST 09950-60020 (09951-00680), 09950-70010 (09951-07100) 

    NOTE: Be careful not to damage the oil pump plate.
    Fig 58: Tapping Oil Seal To Oil Pump Plate Upper Surface
    G05629725Courtesy of © TOYOTA, LICENSE AGREEMENT TMS1002
  33. INSTALL TRANSFER CASE PLUG 
    1. Install the relief valve seat, ball and compression spring to the oil pump plate.
    2. Apply adhesive to the threads of the plug.

      Adhesive: 

      Toyota Genuine Adhesive 1344, Three Bond 1344 or equivalent 

      NOTE: Install the plug within 3 minutes of application.
    3. Using a 10 mm hexagon wrench, install the plug.

    Torque: 29 N*m (300 kgf*cm, 22 ft.*lbf) 

    Fig 59: Locating Transfer Case Plug
    G05629605Courtesy of © TOYOTA, LICENSE AGREEMENT TMS1002
  34. INSTALL TRANSFER CASE STRAIGHT PIN 
    1. Install the 2 straight pins to the input shaft.
  35. INSTALL TRANSFER OIL PUMP PLATE 
    1. Apply transfer oil to a new O-ring, the drive rotor, driven rotor and a new transfer oil seal ring.
      Fig 60: Identifying Transfer Case Straight Pin
      G05158957Courtesy of © TOYOTA, LICENSE AGREEMENT TMS1002
    2. Install the drive rotor to the input shaft.
      Fig 61: Identifying Oil Pump Drive Rotor
      G05629603Courtesy of © TOYOTA, LICENSE AGREEMENT TMS1002
    3. Install the transfer oil seal ring to the input shaft.
    4. Install the O-ring to the oil pump plate.
      Fig 62: Locating Transfer Oil Seal Ring
      G05629602Courtesy of © TOYOTA, LICENSE AGREEMENT TMS1002
    5. Install the oil pump plate and driven rotor to the front transfer case with the 4 bolts.

    Torque: 12 N*m (117 kgf*cm, 9 ft.*lbf) 

    Fig 63: Identifying Oil Pump Plate Bolt
    G05629730Courtesy of © TOYOTA, LICENSE AGREEMENT TMS1002
  36. INSTALL PROPELLER SHAFT HEAT INSULATOR BRACKET SUB-ASSEMBLY 
    1. Install the bracket to the rear transfer case with the bolt.

    Torque: 20 N*m (204 kgf*cm, 15 ft.*lbf) 

    Fig 64: Locating Propeller Shaft Heat Insulator Bracket Bolt
    G05629600Courtesy of © TOYOTA, LICENSE AGREEMENT TMS1002