lemon-mirror:
Home >> Toyota >> 2009 >> Matrix XRS, Automatic >> Repair and Diagnosis >> Engine Performance >> Engine Control System (2AZ-FE) >> Ignition System >> System Diagram

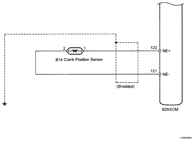
System Diagram

Fig 1: Ignition System Diagram (1 Of 2)
G06040269Courtesy of © TOYOTA, LICENSE AGREEMENT TMS1002
Fig 2: Ignition System Diagram (2 Of 2)
G06040270Courtesy of © TOYOTA, LICENSE AGREEMENT TMS1002