lemon-mirror:
Home >> Toyota >> 2009 >> Prius Base >> Repair and Diagnosis >> Brakes >> Traction Control >> Brake Control >> Brake Actuator >> Replacement

Brake Actuator: Replacement

NOTE: Be sure to replace the actuator and the resistor together. If they are not replaced together, motor noise may be increased.
  1. REPLACE BRAKE ACTUATOR ASSEMBLY 
    1. Remove the windshield wiper motor and link (See REMOVAL ) .

      HINT:

      Refer to the procedures from the removal of the front wiper arm LH/RH up until the removal of the windshield wiper motor and link assembly.

    2. Perform the accumulator pressure "ZERO DOWN" operation.
      NOTE: Carry out the accumulator "ZERO DOWN" operation and lower the internal pressure before removing the brake actuator.
      1. Move the shift lever to the P position. Apply the parking brake and connect the Techstream to the DLC3.
      2. Turn the power switch ON (IG).
      3. Turn on the Techstream. Enter the following menus: Chassis / ABS/VSC/ TRC / Utility / Electronically Controlled Brake system Utility / Zero Down.
        NOTE: Keep the fluid inside the reservoir above the "LOW" level by replenishing.

        HINT:

        • Accumulator pressure is released and accumulated repeatedly, which circulates the fluid inside the accumulator when performing this procedure.
        • The pump motor rotates and the accumulator is pressurized every time turning the power switch from OFF to ON (IG).
      4. Turn the power switch OFF.
    3. Set the brake control (ELECTRONICALLY CONTROLLED BRAKE SYSTEM) off.
      NOTE:
      • Prohibit the brake control (ELECTRONICALLY CONTROLLED BRAKE SYSTEM) before air bleeding.
      • Be sure to remove the No. 1 and No. 2 motor relays first, then the brake actuator.
      1. With the power switch OFF to prohibit brake control, remove the No. 1 and No. 2 motor relays.
        NOTE: If the pump motor operates while there is air remaining inside the brake actuator hose, the air will enter the actuator, resulting in difficulty in air bleeding.
        Fig 1: Identifying Motor Relays
        G05189345Courtesy of © TOYOTA, LICENSE AGREEMENT TMS1002
    4. Remove the outer front cowl top panel (See REMOVAL ) .
    5. Remove the inverter with converter (See REMOVAL ) .

      HINT:

      Refer to the procedures from the removal of the engine under cover LH up until the removal of the inverter with converter.

    6. Drain brake fluid.
      NOTE: Wash brake fluid off immediately if it adheres to any painted surface.
    7. Separate the water pump with motor and bracket.
      1. Disconnect the connector.
      2. Remove the 2 bolts and disconnect the water pump from the gusset.
        Fig 2: Removing Bolts And Disconnecting Water Pump From Gusset
        G05189346Courtesy of © TOYOTA, LICENSE AGREEMENT TMS1002
      3. Remove the 2 clamps, bolt and heater hose bracket from the gusset.
        Fig 3: Installing Heater Hose Bracket To Gusset With Clamps And Bolt
        G05189347Courtesy of © TOYOTA, LICENSE AGREEMENT TMS1002
    8. Remove the brake actuator with bracket.
      1. Release the lock and disconnect the brake actuator connector.
      2. Remove the clip and disconnect the No. 2 brake actuator hose from the brake actuator.
        Fig 4: Disconnecting Brake Actuator Connector
        G05189348Courtesy of © TOYOTA, LICENSE AGREEMENT TMS1002
      3. Using SST, disconnect the No. 5 front brake tube from the brake actuator and front brake flexible hose.

        SST 09023-00101 

      4. Remove the bolt and No. 5 front brake tube from the bracket of the brake actuator.
        Fig 5: Connecting No. 5 Front Brake Tube
        G05189349Courtesy of © TOYOTA, LICENSE AGREEMENT TMS1002
      5. Using SST, disconnect the No. 1 front brake tube.

        SST 09023-00101 

      6. Remove the bolt and No. 1 front brake tube from the bracket of the brake actuator.
        Fig 6: Disconnecting No. 1 Front Brake Tube
        G05189350Courtesy of © TOYOTA, LICENSE AGREEMENT TMS1002
      7. Remove the 3 nuts and brake actuator tubes from the brake stroke simulator cylinder and brake actuator.
        Fig 7: Removing Nuts And Brake Actuator Tubes
        G05189351Courtesy of © TOYOTA, LICENSE AGREEMENT TMS1002
      8. Remove the bolt from the brake actuator.
      9. Using SST, remove the 4 brake tubes from the brake stroke simulator cylinder and brake actuator.

        SST 09023-00101 

        Fig 8: Installing Brake Tubes To Brake Stroke Simulator Cylinder And Brake Actuator
        G05189352Courtesy of © TOYOTA, LICENSE AGREEMENT TMS1002
      10. Remove the bolt, 2 nuts and brake actuator with gusset.
        Fig 9: Installing Brake Actuator With Gusset With Bolt And Nuts
        G05189353Courtesy of © TOYOTA, LICENSE AGREEMENT TMS1002
    9. Remove the brake actuator.
      1. Remove the 2 bolts and brake actuator damper.
        Fig 10: Removing Bolts And Brake Actuator Damper
        G05189354Courtesy of © TOYOTA, LICENSE AGREEMENT TMS1002
      2. Remove the bolt, nut and bracket from the brake actuator.
        Fig 11: Removing Bolt, Nut And Bracket From Brake Actuator
        G05189355Courtesy of © TOYOTA, LICENSE AGREEMENT TMS1002
      3. Remove the 2 nuts, bolt and brake actuator from the gusset.
        Fig 12: Locating Brake Actuator, Gusset, Bolt And Nut
        G05189356Courtesy of © TOYOTA, LICENSE AGREEMENT TMS1002
      4. Remove the bolt and No. 2 brake actuator bracket from the brake actuator.
        Fig 13: Removing Bolt And No. 2 Brake Actuator Bracket
        G05189357Courtesy of © TOYOTA, LICENSE AGREEMENT TMS1002
    10. Install the brake actuator.
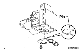
      1. Aligning the positioning pin, install the No. 2 brake actuator bracket to the brake actuator with the bolt.

        Torque: 18 N*m (184 kgf*cm, 13 ft.*lbf) 

        Fig 14: Installing No. 2 Brake Actuator Bracket
        G05189358Courtesy of © TOYOTA, LICENSE AGREEMENT TMS1002
      2. Aligning the positioning pin, install the brake actuator to the gusset with the 2 nuts and bolt.

        Torque: 7.5 N*m (76 kgf*cm, 66 in.*lbf) 

        NOTE: Tighten the nuts and bolt in the order shown in the illustration.
        Fig 15: Installing Brake Actuator To Gusset With Nuts And Bolt
        G05189359Courtesy of © TOYOTA, LICENSE AGREEMENT TMS1002
      3. Install the bracket to the brake actuator with the bolt and nut.

        Torque: 18 N*m (184 kgf*cm, 13 ft.*lbf) 

        NOTE: Tighten the nut and bolt in the order shown in the illustration.
        Fig 16: Installing Bracket To Brake Actuator With Bolt And Nut
        G05189360Courtesy of © TOYOTA, LICENSE AGREEMENT TMS1002
      4. Install the brake actuator damper to the brake actuator with the 2 bolts.

        Torque: 18 N*m (184 kgf*cm, 13 ft.*lbf) 

        NOTE: Tighten the bolts in the order shown in the illustration.
        Fig 17: Installing Brake Actuator Damper To Brake Actuator With Bolts
        G05189361Courtesy of © TOYOTA, LICENSE AGREEMENT TMS1002
    11. Install the brake actuator with bracket.
      1. Install the brake actuator with gusset with the bolt and 2 nuts.

        Torque: 20 N*m (200 kgf*cm, 15 ft.*lbf) 

        Fig 18: Installing Brake Actuator With Gusset With Bolt And Nuts
        G05189353Courtesy of © TOYOTA, LICENSE AGREEMENT TMS1002
      2. Using SST, install the 4 brake tubes to the brake stroke simulator cylinder and brake actuator.

        SST 09023-00101 

        Torque: 15 N*m (155 kgf*cm, 11 ft.*lbf) 

      3. Set the brake tube with the clamp bracket bolt.

        Torque: 5.0 N*m (51 kgf*cm, 44 in.*lbf) 

        Fig 19: Installing Brake Tubes To Brake Stroke Simulator Cylinder And Brake Actuator
        G05189352Courtesy of © TOYOTA, LICENSE AGREEMENT TMS1002
      4. Install the brake actuator tube with the 2 nuts.

        Torque: 8.5 N*m (87 kgf*cm, 75 in.*lbf) 

        Fig 20: Installing Brake Actuator Tube With Nuts
        G05189364Courtesy of © TOYOTA, LICENSE AGREEMENT TMS1002
      5. Set the brake actuator tube with the nut.

        Torque: 8.5 N*m (87 kgf*cm, 75 in.*lbf) 

        NOTE: Press the brake actuator tube so that there is no clearance between the bracket and the actuator tube as shown in the illustration, and tighten the nut.
        Fig 21: Installing Brake Actuator Tube With Nut
        G05189365Courtesy of © TOYOTA, LICENSE AGREEMENT TMS1002
      6. Using SST, install the No. 1 front brake tube to the brake actuator and 2-way.

        SST 09023-00101 

        Torque: 15 N*m (155 kgf*cm, 11 ft.*lbf) 

      7. Install the No. 1 front brake tube to the bracket of the brake actuator with the bolt.

        Torque: 5.0 N*m (51 kgf*cm, 44 in.*lbf) 

        Fig 22: Disconnecting No. 1 Front Brake Tube
        G05189350Courtesy of © TOYOTA, LICENSE AGREEMENT TMS1002
      8. Using SST, connect the No. 5 front brake tube.

        SST 09023-00101 

        Torque: 15 N*m (155 kgf*cm, 11 ft.*lbf) 

      9. Install the bracket of the No. 5 front brake tube with the bolt.

        Torque: 5.0 N*m (51 kgf*cm, 44 in.*lbf) 

        Fig 23: Connecting No. 5 Front Brake Tube
        G05189349Courtesy of © TOYOTA, LICENSE AGREEMENT TMS1002
      10. Connect the brake actuator connector and fix it with the lock.
      11. Install the No. 2 brake actuator hose to the brake actuator with the clip.
        Fig 24: Connecting Brake Actuator Connector
        G05189368Courtesy of © TOYOTA, LICENSE AGREEMENT TMS1002
    12. Connect the water pump with motor and bracket.
      1. Install the heater hose bracket to the gusset with the 2 clamps and bolt.
        Fig 25: Installing Heater Hose Bracket To Gusset With Clamps And Bolt
        G05189347Courtesy of © TOYOTA, LICENSE AGREEMENT TMS1002
      2. Install the heater water pump with the 2 bolts.
        NOTE: Tighten bolt A and then bolt B.
      3. Connect the heater water pump connector.
    13. Install the inverter with converter (See INSTALLATION ) .

      HINT:

      Refer to the procedures from the installation of the inverter with converter up until the installation of the engine under cover LH.

      Fig 26: Connecting Heater Water Pump Connector
      G05189370Courtesy of © TOYOTA, LICENSE AGREEMENT TMS1002
    14. Install the outer front cowl top panel (See INSTALLATION ) .
    15. Install the windshield wiper motor and link (See INSTALLATION ) .

      HINT:

      Refer to the procedures from the installation of the windshield wiper motor and link assembly up until the installation of the front wiper arm LH/RH.

  2. REPLACE BRAKE ACTUATOR RESISTOR 
    1. Remove the instrument panel (See REMOVAL ) .

      HINT:

      Refer to the procedures from the removal of the No. 1 instrument panel register assembly up until the removal of the instrument panel sub-assembly.

    2. Remove the brake actuator resistor.
      1. Remove the nut.
      2. Disconnect the connector and remove the resistor.
        Fig 27: Installing Brake Actuator Resistor With Nut
        G05189371Courtesy of © TOYOTA, LICENSE AGREEMENT TMS1002
    3. Install the brake actuator resistor.
      1. Connect the connector and install the resistor.
      2. Install the nut.

        Torque: 5.0 N*m (51 kgf*cm, 44 in.*lbf) 

    4. Install the instrument panel (See INSTALLATION ) .

      HINT:

      Refer to the procedures from the installation of the instrument panel sub-assembly up until the installation of the No. 1 instrument panel register assembly.

      Fig 28: Installing Brake Actuator Resistor With Nut
      G05189371Courtesy of © TOYOTA, LICENSE AGREEMENT TMS1002
  3. FILL RESERVOIR WITH BRAKE FLUID (See  BLEEDING  )  
  4. BLEED AIR FROM BRAKE ACTUATOR (See  BLEEDING  )  
  5. CHECK FOR BRAKE FLUID LEAKAGE 
  6. CHECK FLUID LEVEL IN RESERVOIR 
  7. CHECK AND CLEAR DTC 
    1. Check and clear the DTC (see DTC CHECK / CLEAR  ).
  8. PERFORM INITIALIZATION 
    1. Perform initialization (see INITIALIZATION ).
    NOTE: Certain systems need to be initialized after disconnecting and reconnecting the cable from the negative (-) battery terminal.
  9. PERFORM SYSTEM INITIALIZATION 
    1. Perform the brake system initialization (see INITIALIZATION  ).
  10. PERFORM ACTIVE TEST 
    1. Perform the Active Test (see DATA LIST / ACTIVE TEST  ).