lemon-mirror:
Home >> Toyota >> 2009 >> Prius Base >> Repair and Diagnosis >> Brakes >> Traction Control >> Brake Control >> Electronically Controlled Brake System >> Brake Warning Light Circuit >> Inspection Procedure

Inspection Procedure

NOTE: When replacing the skid control ECU, perform initialization of linear solenoid valve and calibration (see INITIALIZATION  ).
  1. CHECK BRAKE FLUID LEVEL IN RESERVOIR 
    1. Check that the brake fluid level is sufficient.

      HINT:

      • If the fluid level drops, check for a fluid leak, and repair if found.
      • If no leaks exist, add and adjust fluid and then check that the trouble code is not output again.

      OK: 

      Brake fluid level is proper. 

    NG: ADD BRAKE FLUID 

    OK: Go to next step 

  2. CHECK DTC FOR ABS 
    1. Check if the DTCs are recorded (see DTC CHECK / CLEAR  ).

    OK: REPAIR CIRCUIT INDICATED BY OUTPUT CODE 

    NG: Go to next step 

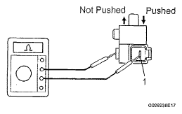
  3. INSPECT PARKING BRAKE SWITCH ASSEMBLY 
    1. Remove the parking brake switch connector.
    2. Measure the resistance of the switch.

      Standard resistance 

      STANDARD RESISTANCE REFERENCE CHART

      Tester Connection Switch Condition Specified Condition
      P2-1 - Ground part Not pushed Below 1 Ω
      P2-1 - Ground part Pushed 10 kΩ or higher

    NG: REPLACE PARKING BRAKE SWITCH ASSEMBLY 

    Fig 1: Measuring Resistance Of Switch
    G05189319Courtesy of © TOYOTA, LICENSE AGREEMENT TMS1002

    OK: Go to next step 

  4. CHECK WIRE HARNESS (SKID CONTROL ECU - PARKING BRAKE SWITCH) 
    1. Disconnect the S9 ECU connector.
    2. Disconnect the P2 switch connector.
    3. Measure the resistance of the wire harness side connectors.

      Standard resistance 

      STANDARD RESISTANCE REFERENCE CHART

      Tester Connection Specified Condition
      S9-14 (PKB) - P2-1 (PKB) Below 1 Ω
      S9-14 (PKB) - Body ground 10 kΩ or higher

    NG: REPAIR OR REPLACE HARNESS AND CONNECTOR 

    Fig 2: Disconnecting S8 ECU Connector
    G05189320Courtesy of © TOYOTA, LICENSE AGREEMENT TMS1002

    OK: Go to next step 

  5. INSPECT BRAKE FLUID LEVEL WARNING SWITCH 
    1. Remove the reservoir tank cap and strainer.
    2. Disconnect the brake fluid level warning switch connector.
    3. Measure the resistance of the switch.

      Standard resistance 

      STANDARD RESISTANCE REFERENCE CHART

      Tester Connection Fluid Level Specified Condition
      B1-1 - B1-2 Proper 1.8 to 2.16 kΩ
      B1-1 - B1-2 Below minimum level 10 kΩ or higher

    NG: REPLACE BRAKE FLUID LEVEL WARNING SWITCH 

    Fig 3: Inspecting Brake Fluid Level Warning Switch
    G05189237Courtesy of © TOYOTA, LICENSE AGREEMENT TMS1002

    OK: Go to next step 

  6. INSPECT SKID CONTROL ECU CONNECTOR 
    1. Check the skid control ECU connector's connecting condition.

      OK: 

      The connector should be securely connected. 

    NG: CONNECT CONNECTOR TO ECU CORRECTLY 

    OK: Go to next step 

  7. PERFORM ACTIVE TEST BY TECHSTREAM (BRAKE WARNING LIGHT) 
    1. Select the ACTIVE TEST, generate a control command, and then check that the brake warning light operates.

      ABS / VSC / TRAC: 

      SKID CONTROL ECU DIAGNOSTIC CHART

      Item Test Details Diagnostic Note
      BRAKE WARN LIGHT Turns BRAKE warning light ON / OFF Observe combination meter

      OK: 

      The brake warning light turns on or off. 

    NG: REPAIR OR REPLACE COMBINATION METER ASSEMBLY 

    OK: REPLACE SKID CONTROL ECU