lemon-mirror:
Home >> Toyota >> 2009 >> RAV4 Base, 2.5 F, FWD >> Repair and Diagnosis >> Brakes >> Traction Control >> Brake Control >> Vehicle Stability Control System >> System Description

System Description

  1. SYSTEM DESCRIPTION 

    HINT:

    The skid control ECU is built into the brake actuator.

    1. ABS (Anti-lock Brake System):

      The ABS helps prevent the wheels from locking when the brakes are applied firmly or when braking on a slippery surface.

      Fig 1: ABS (Anti-Lock Brake System) Communication Diagram
      G06003230Courtesy of © TOYOTA, LICENSE AGREEMENT TMS1002
      1. Operation description:

        The skid control ECU detects wheel lock conditions by receiving vehicle speed signals from each speed sensor, and sends control signals to the pump motor and solenoid valve to prevent wheels from locking by controlling the brake fluid pressure of each wheel cylinder. The ABS warning light comes on when the ABS system malfunctions.

    2. EBD (Electronic Brake Force Distribution):

      The EBD control utilizes the ABS to create the proper brake force distribution between the front and rear wheels in accordance with the driving conditions and vehicle load. In addition, when the brakes are applied while cornering, it also controls the braking forces of the right and left wheels, helping to maintain vehicle stability.

      Fig 2: EBD (Electronic Brake Force Distribution) Communication Diagram
      G06003231Courtesy of © TOYOTA, LICENSE AGREEMENT TMS1002
      1. Operation description:

        The skid control ECU receives speed signals from each speed sensor to detect the slip conditions of the wheels and sends control signals to the solenoid.

        The solenoid valve controls the brake fluid pressure of each wheel cylinder and divides the control power properly between the front and rear wheels and the right and left wheels.

        The BRAKE warning light comes on to indicate malfunctions in the EBD system.

    3. BA (Brake Assist):

      The primary purpose of the brake assist system is to provide auxiliary brake force to assist drivers who cannot generate a large enough brake force during emergency braking, thus helping to maximize the braking performance of the vehicle.

      Fig 3: BA (Brake Assist) Communication Diagram
      G06003232Courtesy of © TOYOTA, LICENSE AGREEMENT TMS1002
      1. Operation description:

        The skid control ECU receives speed signals from each speed sensor and the fluid pressure signal from the master cylinder pressure sensor to determine whether brake assist is necessary. If brake assist is deemed necessary, the skid control ECU sends control signals to the pump motor and solenoid. The pump and the solenoid valve then control the pressure applied to each wheel cylinder. The ABS warning light comes on to indicate malfunctions in the BA (brake assist) system.

        w/ Booster Failure Compensation: The BRAKE warning light and ABS warning light come on to indicate malfunctions in the BA system.

    4. TRAC (Traction Control):

      The TRAC system helps prevent the drive wheels from slipping if the driver presses down on the accelerator pedal excessively when starting off or accelerating on a slippery surface.

      Fig 4: TRAC (Traction Control) Communication Diagram
      G06003233Courtesy of © TOYOTA, LICENSE AGREEMENT TMS1002
      1. Operation description:

        The skid control ECU detects the vehicle slip condition by receiving signals from each speed sensor and the ECM via CAN communication system. The skid control ECU controls engine torque with the ECM via CAN communication system and brake fluid pressure through the pump and solenoid valve. The slip indicator light blinks when the system is operating.

        The slip indicator light comes on when the TRAC system malfunctions.

        for 4WD: Momentarily pressing the VSC OFF switch stops traction control operation.

    5. VSC (Vehicle Stability Control):

      The VSC system helps prevent the vehicle from slipping sideways when front or rear wheel skidding occurs while cornering.

      Fig 5: VSC (Vehicle Stability Control) Communication Diagram
      G06003234Courtesy of © TOYOTA, LICENSE AGREEMENT TMS1002
      1. Operation description:

        The skid control ECU determines the vehicle condition by receiving signals from each speed sensor, the yaw rate and deceleration sensor and steering angle sensor. The skid control ECU controls engine torque with the ECM via CAN communication system and brake fluid pressure through the pump and solenoid valve. The slip indicator light blinks and the skid control buzzer sounds when the system is operating.

        The slip indicator light comes on when the VSC system malfunctions.

        Pushing the VSC OFF switch for 3 seconds or more stops VSC operation and the VSC OFF indicator light comes on.

    6. Downhill Assist Control:

      When the downhill assist control switch is pressed with the shift lever in L or R and the accelerator and brake pedals not depressed, downhill assist control is activated. When activated, 4-wheel hydraulic pressure control occurs in order to maintain a constant low vehicle speed without causing the wheels to become locked. Thus, the vehicle can descend a steep hill in a stable manner.

      HINT:

      • Depressing the accelerator and brake pedal cancels control of the downhill assist control.
      • Downhill assist control begins operating when driving down on a slope at a speed of 25 km/h (16 mph) or less with the engine brake applied.
      Fig 6: Downhill Assist Control Communication Diagram
      G06003235Courtesy of © TOYOTA, LICENSE AGREEMENT TMS1002
      1. Operation description:

        The slip indicator light blinks and the downhill assist control indicator light comes on when the system is in operation.

        The slip indicator light comes on and downhill assist control indicator light blinks to indicate a malfunction in downhill assist control.

    7. Hill-start assist control:

      When the vehicle starts off on a steep hill, hill-start assist control performs 4-wheel hydraulic pressure control to prevent the vehicle from rolling backwards.

      Within 2 seconds after the control starts, fluid pressure is gradually released and control is completed.

      HINT:

      • Depressing the brake pedal cancels the hill-start assist control.
      • Hill-start assist control does not operate when the shift lever is in P, or when the vehicle is running and the parking brake lever is pulled or the accelerator pedal is depressed.
      Fig 7: Hill-Start Assist Control Communication Diagram
      G06003236Courtesy of © TOYOTA, LICENSE AGREEMENT TMS1002
      1. Operation description:

        When the system is operating, the following occurs: 1) the slip indicator light blinks; and 2) when hill-start assist control operation starts, the skid control buzzer sounds once; when hill-start assist control operation ends, the skid control buzzer sounds twice.

        The slip indicator light comes on when the hill-start assist control is malfunctioning.

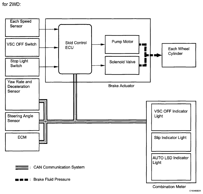
    8. AUTO LSD (Auto Limited Slip Differential) for 2WD:

      The AUTO LSD achieves the equivalent functions of an LSD (Limited Slip Differential) through the use of a traction control system. When the driver momentarily presses the VSC OFF switch, this system achieves the LSD effect by regulating the hydraulic pressure that acts on the drive wheels and controlling the engine output in accordance with the amount of pedal effort applied on the accelerator. The AUTO LSD operates with the VSC OFF switch on and the accelerator pedal depressed.

      AUTO LSD restrains brake pressure and reduces differential movement, thus transmitting the drive torque to the other drive wheel to ensure stability under the following conditions:

      • Wheels run off the road.
      • Drive wheels spin in place when starting on a slope with one wheel on snow/ice.

        HINT:

        Depressing the brake pedal cancels control of the AUTO LSD system.

      Fig 8: AUTO LSD (Auto Limited Slip Differential) For 2WD Communication Diagram
      G06003237Courtesy of © TOYOTA, LICENSE AGREEMENT TMS1002
      1. Operation description:

        The skid control ECU determines that the vehicle is in a state in which the AUTO LSD can operate by using various sensors and switches to detect the operating conditions of the VSC OFF switch, shift position, accelerator pedal, and brake pedal. When the vehicle is in a state in which the AUTO LSD can operate, the skid control ECU performs hydraulic pressure control of the wheel cylinder at the wheel with the faster wheel speed so that the wheel speeds of the right and left drive wheels will become equal. The slip indicator light blinks and the AUTO LSD indicator light comes on when the system is operating. The slip indicator light come on when the AUTO LSD system malfunctions.

  2. COOPERATIVE CONTROL FUNCTION 
    1. Description
      1. Braking when Surface Resistance Differs

        Between Left and Right Wheels

        If the driver suddenly applies the brakes on a road surface with a considerable difference in friction coefficient between the right and left wheels, the difference in the brake force between the right and left wheels will cause the vehicle posture to become unstable and create a yaw movement. In this state, the skid control ECU controls the VSC to stabilize the vehicle posture. At the same time, it performs cooperative control with the EPS to provide steering torque assist, which facilitates the steering maneuvers of the driver to stabilize the vehicle posture.

      2. Accelerating when Surface Resistance Differs

        Between Left and Right Wheels

        If the driver suddenly starts off or accelerates on a road surface with a considerable difference in friction coefficient between the right and left wheels, the slippage of a drive wheel will cause the vehicle posture to become unstable and negatively affect its acceleration performance. In this state, the skid control ECU causes the TRAC to control the hydraulic brake of the slipping drive wheel, and requests the ECM to perform engine output control. At the same time, it performs cooperative control with the EPS to provide steering torque assist, which facilitates the steering maneuvers of the driver to stabilize the vehicle posture.

      3. Front Wheel Skid Tendency

        When the skid control ECU determines that there is a front wheel skid tendency, it controls the VSC to dampen the front wheel skid. At the same time, it performs cooperative control with the EPS to provide steering torque assist, which facilitates the steering maneuvers of the driver to stabilize the vehicle posture. To prevent excessive steering maneuvers, it provides a steering torque assist. This assist increases the resistance to counter the driver steering effort, if the driver turns the steering wheel excessively.

      4. Rear Wheel Skid Tendency

        When the skid control ECU determines that there is a rear wheel skid tendency, it controls the VSC to dampen the rear wheel skid. At the same time, it performs cooperative control with the EPS to provide steering torque assist, which facilitates the driver steering maneuvers in the direction to correct the rear wheel skid.

      5. Acceleration During Cornering

        A sudden acceleration of the vehicle during cornering may cause a drive wheel to freewheel, which could cause the front wheels or rear wheels to skid. If the skid control ECU determines that there is freewheeling of a drive wheel, a front wheel skid tendency, or a rear wheel skid tendency, it performs cooperative control with the 4WD system to optimally control the drive torque distribution to the front and rear wheels. Furthermore, it controls the TRAC and the VSC as needed to ensure driving stability and acceleration performance.

    2. Operation

      The operation of the solenoid valves under the cooperative control is the same as the TRAC or VSC operation.

  3. ABS WITH EBD, BA, TRAC AND VSC OPERATION 
    1. The skid control ECU calculates vehicle stability tendency based on the signals from the 4 wheel speed sensors, the yaw rate and deceleration sensor and the steering angle sensor. In addition, it evaluates the results of the calculations to determine whether any control actions (control of the engine output torque by electronic throttle control and of the brake fluid pressure by the brake actuator) should be implemented.
    2. The slip indicator light blinks and the skid control buzzer sounds to inform the driver that the VSC system is operating. The slip indicator light also blinks when traction control is operating, and the operation being performed is displayed.
  4. FAIL-SAFE FUNCTION 
    1. When a failure occurs in the ABS with BA system, the ABS warning light and slip indicator light come on and the operations of the system are prohibited. When a failure occurs in the TRAC and VSC systems, the slip indicator light comes on and the operations of the system are prohibited. In addition to this, when a failure which disables the EBD operation occurs, the BRAKE warning light and ABS warning light come on and the EBD operation is prohibited.
    2. If control is prohibited due to a malfunction during operation, control is disabled gradually to avoid sudden vehicle instability.
  5. INITIAL CHECK 
    1. When the vehicle speed first reaches approximately 6 km/h (4 mph) or more after the ignition switch is turned to ON, each solenoid valve and the motor of the brake actuator are sequentially activated to perform electrical checks. During the initial check, the operating sound of the solenoid valve and motor can be heard from the engine compartment, but this does not indicate a malfunction.
  6. SERVICE MODE 
    1. VSC operation can be disabled by operating the Techstream.

      HINT:

      Refer to the Techstream operator manual for further details.

  7. FUNCTION OF COMPONENTS 
    FUNCTION OF COMPONENTS CHART

    Component Function
    Speed Sensor (Semiconductor Type) Detects the wheel speed and sends the signal to skid control ECU.
    Skid Control ECU (Housed in brake actuator)
    • Processes the signals from each sensor to control the ABS, EBD, BA, TRAC, and VSC.
    • Sends and receives control signals to and from the ECM, yaw rate and deceleration sensor, steering angle sensor, etc. via CAN communication system.
    Brake actuator
    • Consists of the master cylinder cut solenoid valve, holding solenoid valve, pressure reduction solenoid valve, pump motor, and reservoir, and adjusts the brake fluid pressure applied to each wheel cylinder.
    • Houses the skid control ECU.
    Solenoid Relay
    • Supplies power to each solenoid.
    • Housed in the skid control ECU.
    Motor Relay (VSC MTR Relay)
    • Supplies power to the pump motor.
    • Housed in the skid control ECU.
    Fail-safe Relay (VSC FAIL Relay)
    • Cuts off power to the motor when the pump motor circuit malfunctions.
    • Housed in the skid control ECU.
    Steering Angle Sensor
    • Detects the steering extent and direction and sends signals to the skid control ECU via CAN communication system.
    • Has a magnetic resistance element which detects the rotation of the magnet housed in the detection gear in order to detect the changes in magnetic resistance and the steering amount and direction.
    Yaw Rate and Deceleration Sensor
    • Yaw rate sensor detects the vehicle angular velocity (yaw rate) in the vertical direction based on the extent and direction of the deflection of the piezoelectric ceramics.
    • Deceleration sensor measures the capacity of the condenser that changes the distance between the electrodes depending on G force, which occurs when the vehicle is accelerated, and converts the measured value into electrical signals.
    • Sends signals to the skid control ECU via CAN communication system.
    Master Cylinder Pressure Sensor
    • Detects the brake fluid pressure in the master cylinder.
    • Housed in the brake actuator.
    ECM Controls the engine output when TRAC and VSC are operating with the skid control ECU via CAN communication system.
    Downhill Assist Control Switch*1 Allows the driver to turn downhill assist control ON and OFF.
    VSC OFF Switch for 2WD: Pressing this switch turns on AUTO LSD and pressing and holding this switch turns off TRAC and VSC.
    for 4WD: Pressing this switch turns off TRAC and pressing and holding this switch turns off TRAC and VSC.
    Combination Meter ABS Warning Light
    • Illuminates to inform the driver that a malfunction in the ABS or EBD has occurred.
    • Blinks to indicate DTCs that relate to the ABS.
    VSC OFF Indicator Light Illuminates to inform the driver when VSC OFF mode is entered using the VSC OFF switch.
    BRAKE Warning Light
    • Illuminates to inform the driver that the parking brake is ON when the system is normal, and when the brake fluid has decreased.
    • Illuminates to inform the driver that a malfunction in the EBD has occurred.
    Slip Indicator Light
    • Blinks to inform the driver that TRAC, VSC, downhill assist control and hill-start assist control are operating.
    • Illuminates to inform the driver that a malfunction has occurred in the ABS, BA, TRAC or VSC system.
    • Blinks to indicate DTCs that relate to the VSC.
    AUTO LSD Indicator Light*2 Illuminates to inform the driver when AUTO LSD operation is possible.
    TRAC OFF Indicator Light*3 Illuminates to inform the driver when the vehicle is in TRAC OFF mode.
    Downhill Assist Control Indicator Light*1 Illuminates to inform the driver when downhill assist control operation is possible.
    Skid Control Buzzer
    • Intermittently sounds to inform the driver that the VSC is operating.
    • Housed in the combination meter.
    HINT:
    *1: w/ Downhill Assist Control
    *2: for 2WD
    *3: for 4WD