lemon-mirror:
Home >> Toyota >> 2009 >> Sienna CE >> Repair and Diagnosis >> Transmission >> Transfer Case >> Transfer Unit >> Inspection

Transfer Unit: Inspection

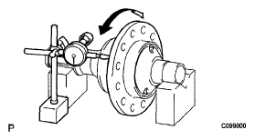
  1. INSPECT PRELOAD 
    1. Using SST(s) and a torque wrench, check the initial torque within the backlash range.

      SST 09326-20011 

      Torque: 0.9 to 1.4 N*m (9 to 14 kgf*cm, 8.0 to 12.4 in.*lbf) 

      HINT:

      Use a torque wrench with a fulcrum length of 160 mm (6.30 in.).

    2. Fig 1: Checking Driven Pinion Preload
      G05241055Courtesy of © TOYOTA, LICENSE AGREEMENT TMS1002
    3. Using SST(s) and a torque wrench, check the initial torque while the driven pinion is in contact with the ring gear face.

      SST 09326-20011 

      Torque: Preload 

      +0.15 to 0.30 N*m (+1.6 to 3.1 kgf*cm, +1.3 to 2.7 in.*lbf) 

      HINT:

      Use a torque wrench with a fulcrum length of 160 mm (6.30 in.).

  2. INSPECT DIFFERENTIAL RING GEAR BACKLASH 
    1. Set the dial gauge perpendicular to the tooth face of the ring gear, fix the driven pinion and inspect the backlash while moving the gear.

      Backlash: 

      0.10 to 0.15 mm (0.0039 to 0.0059 in.) 

      NOTE: Inspect it at 3 points or more on the gear's periphery.
      Fig 2: Inspecting Differential Ring Gear Backlash
      G05241056Courtesy of © TOYOTA, LICENSE AGREEMENT TMS1002
  3. INSPECT TOOTH CONTACT BETWEEN RING GEAR AND DRIVE PINION 
    1. Apply red lead primer thinly and uniformly to both faces of the ring gear and rotate several times.
      NOTE: Inspect the tooth contact on the ring gear at 4 places or more.
      Fig 3: Inspecting Red Lead Primer On Ring Gear
      G05241057Courtesy of © TOYOTA, LICENSE AGREEMENT TMS1002
  4. INSPECT RUNOUT OF TRANSFER RING GEAR MOUNTING CASE 
    1. Using a dial gauge check the transfer ring gear mounting case runout.

      Maximum runout: 

      0.03 mm (0.0012 in.) 

      Fig 4: Inspecting Transfer Ring Gear Mounting Case Runout
      G05241058Courtesy of © TOYOTA, LICENSE AGREEMENT TMS1002