lemon-mirror:
Home >> Toyota >> 2009 >> Yaris Base, 2D Hatchback, Automatic >> Repair and Diagnosis >> Engine Performance >> Engine Ignition System >> Ignition System >> System Diagram

System Diagram

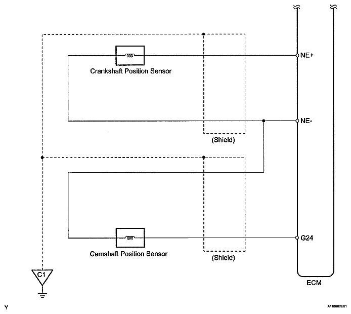
Fig 1: Identifying Ignition System Diagram (1 Of 2)
G04829324Courtesy of © TOYOTA, LICENSE AGREEMENT TMS1002
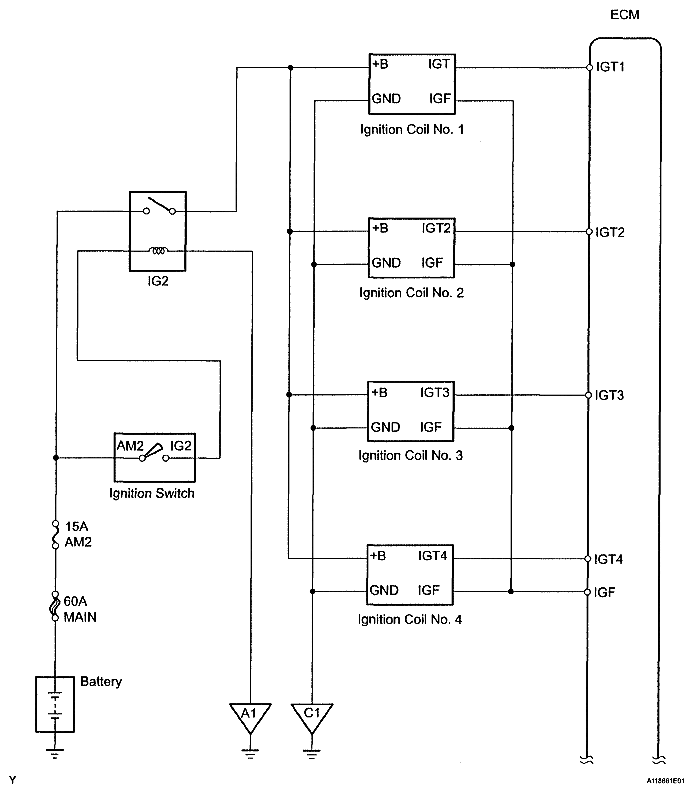
Fig 2: Identifying Ignition System Diagram (2 Of 2)
G04829325Courtesy of © TOYOTA, LICENSE AGREEMENT TMS1002