lemon-mirror:
Home >> Toyota >> 2010 >> FJ Cruiser RWD >> Repair and Diagnosis >> Engine Performance >> Engine Control Systems >> Engine Control System (Service Information) >> Camshaft Oil Control Valve >> Inspection >> Inspection

Camshaft Oil Control Valve: Inspection: Inspection

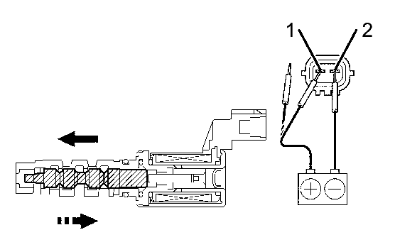
  1. INSPECT CAMSHAFT TIMING OIL CONTROL VALVE ASSEMBLY 
    1. Measure the resistance according to the value(s) in the table below.

      Standard Resistance

      Tester Connection Condition Specified Condition
      1 - 2 20°C (68°F) 6.9 to 7.9 Ω

      If the result is not as specified, replace the oil control valve assembly.

    2. Connect the positive (+) lead of the battery to terminal 1 and the negative (-) lead to terminal 2, and check the movement of the valve.
      Fig 1: Identifying Positive (+) Lead Of The Battery To Terminal 1 & Negative (-) Lead To Terminal 2
      GTY182455Courtesy of © TOYOTA, LICENSE AGREEMENT TMS1002

      OK

      Tester Connection Condition Specified Condition
      1 - 2 Battery positive (+) voltage is applied Valve moves in direction of left arrow shown in the illustration
      Battery positive (+) voltage is cut off Valve moves in direction of right arrow shown in the illustration

      If the result is not as specified, replace the oil control valve assembly.

      If the valve cannot return properly because of foreign matter, a small pressure leak in the advanced direction may occur and a DTC may be output.