lemon-mirror:
Home >> Toyota >> 2011 >> 4Runner Limited, RWD >> Repair and Diagnosis >> Engine Performance >> System >> Engine Control System (1GR-FE) (Diagnostics - Introduction) >> SFI System >> Precaution >> Precaution

SFI System: Precaution: Precaution

  1. IGNITION SWITCH EXPRESSION 

    HINT: 

    The type of ignition switch used on this model differs according to the specifications of the vehicle. The expressions listed in the table below are used in this service information.

    Expression Ignition Switch (position) Engine Switch (condition)
    Ignition Switch off Off Off
    Ignition Switch ON ON On (IG)
    Ignition Switch ACC ACC On (ACC)
    Engine Start START Start
  2. INITIALIZATION 
    NOTE:
    • Perform Reset Memory (A/T initialization) for 4WD when replacing the automatic transaxle assembly, engine assembly or ECM, refer to INITIALIZATION .
    • Perform Reset Memory (A/T initialization) for 2WD when replacing the automatic transaxle assembly, engine assembly or ECM, refer to INITIALIZATION .
    • Perform Registration (VIN registration) when replacing the ECM, refer to REGISTRATION .

    HINT: 

    Initialization cannot be completed only by disconnecting and reconnecting the battery cable.

  3. USING TECHSTREAM 
    WARNING:

    Observe the following items for safety reasons:

    • Read the Techstream instruction books before using the Techstream.
    • Make sure that the Techstream cable is not caught on the pedals, shift lever or steering wheel when driving with the Techstream connected to the vehicle.
    • When driving the vehicle for testing purposes while using the Techstream, two persons are required. One person drives the vehicle and the other operates the Techstream.
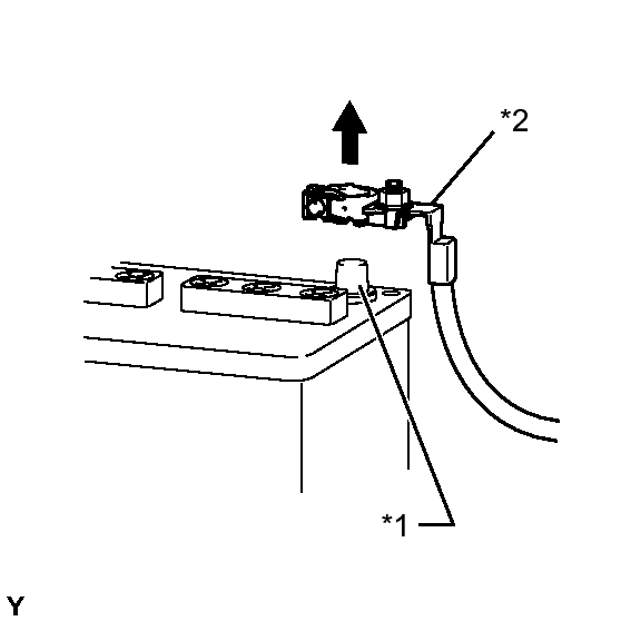
  4. DISCONNECT AND RECONNECT CABLE OF NEGATIVE BATTERY TERMINAL 
    Fig 1: Identifying Negative Battery Terminal
    GTY215514Courtesy of © TOYOTA, LICENSE AGREEMENT TMS1002
    1. Before performing electrical work, disconnect the cable from the negative (-) battery terminal in order to prevent short circuits and burnouts.
      TEXT IN ILLUSTRATION

      *1 Negative (-) Battery Terminal
      *2 Cable
    2. Before disconnecting and reconnecting the battery cable, turn the ignition switch off and the headlight dimmer switch off. Then loosen the terminal nut completely. Do not damage the cable or terminal.
    3. When the battery cable is disconnected, the clock and radio settings and stored DTCs are cleared. Therefore, before disconnecting the battery cable, make a note of the settings.