lemon-mirror:
Home >> Toyota >> 2012 >> Prius Two >> Repair and Diagnosis >> Engine Performance >> Fuel Delivery >> Fuel System (Except Plug-In) (Service Information) >> Fuel Injector >> Inspection >> Inspection

Fuel Injector: Inspection: Inspection

  1. INSPECT FUEL INJECTOR ASSEMBLY 
    1. Check the resistance.
      Fig 1: Identifying Fuel Injector Assembly Resistance
      GTY212527Courtesy of © TOYOTA, LICENSE AGREEMENT TMS1002
      1. Using an ohmmeter, measure the resistance according to the value(s) in the table below.

        Standard Resistance

        Tester Connection Condition Specified Condition
        1 - 2 20°C (68°F) 11.6 to 12.4 Ω

        If the result is not as specified, replace the injector assembly.

    2. Check the operation.

      Inspect the injector injection volume.

      WARNING:

      Perform the inspection in a well-ventilated area.

      Do not perform the inspection near a naked flame.

      1. Connect SST (fuel tube connector) to SST (hose) with SST (hose band), and then connect them to the fuel pipe (vehicle side).
        Fig 2: Identifying Fuel Pipe Components
        GTY316324Courtesy of © TOYOTA, LICENSE AGREEMENT TMS1002
        TEXT IN ILLUSTRATION

        *1 SST
        (Hose)
        *2 SST
        (Hose Band)
        *3 SST
        (Fuel Tube Connector)
        *4 Fuel Pipe (Vehicle Side)
        • SST: 09268-31014 
          • 09268-41500
          • 09268-41700
          • 95336-08070
        NOTE:

        Ensure that the SST connector O-rings are not damaged and are free of foreign objects as they are used to seal the connections between the fuel tube connector and pipe.

      2. Install a new O-ring onto the fuel injector assembly.
      3. Connect SST (adapter and hose) to the injector assembly, and hold the injector assembly and union with SST (clamp).
        Fig 3: Identifying Hose, Fuel Pipe, SST And Retainer
        GTY320166Courtesy of © TOYOTA, LICENSE AGREEMENT TMS1002
        TEXT IN ILLUSTRATION

        *1 SST
        (Hose)
        *2 SST
        (Hose Band)
        *3 SST
        (Adapter)
        *4 O-ring
        *5 SST
        (Clamp)
        *6 Vinyl Tube
        • SST: 09268-31014 
          • 09268-41110
          • 09268-41300
          • 09268-41700
          • 95336-08070
        WARNING:

        Install a suitable vinyl tube onto the injector assembly to prevent gasoline from spraying.

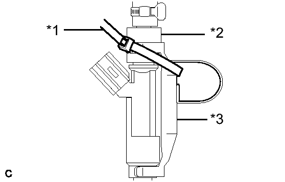
      4. Tie SST (clamp and adapter) together with SST (tie band) as shown in the illustration.
        Fig 4: Tying SST (Clamp And Adapter) Together With SST (Tie Band)
        GTY319450Courtesy of © TOYOTA, LICENSE AGREEMENT TMS1002
        TEXT IN ILLUSTRATION

        *1 SST
        (Tie Band)
        *2 SST
        (Adapter)
        *3 SST
        (Clamp)
        • SST: 09268-31014 
          • 09268-41110
          • 09268-41300
          • 09268-41800
      5. Set the injector assembly in a graduated cylinder.
      6. Operate the fuel pump. Refer to ON-VEHICLE INSPECTION - Step 1 .
      7. Connect SST (wire) to the injector assembly and the battery for 15 seconds, and measure the injection volume with the graduated cylinder. Test each injector 2 or 3 times.
        Fig 5: Connecting SST To Injector Assembly And Battery
        GTY315304Courtesy of © TOYOTA, LICENSE AGREEMENT TMS1002
        TEXT IN ILLUSTRATION

        *1 SST
        (Wire)
        *a Connect
        • SST: 09842-30080 
        NOTE:

        Always switch the voltage on and off at the battery side, not the injector side.

        Standard Injection Volume

        Tester Connection Condition Specified Condition
        Positive terminal - Ground terminal Per 15 seconds 60 to 73 cc (3.7 to 4.5 cu.in.)

        Difference between each injector

        13 cc (0.8 cu.in.) or less

        If the injection volume is not as specified, replace the injector assembly.

    3. Inspect for leaks.
      Fig 6: Inspecting For Leaks
      GTY226359Courtesy of © TOYOTA, LICENSE AGREEMENT TMS1002
      1. In the condition above, disconnect the test probes of SST (wire) from the battery and check the fuel leaks from the injector.

        Standard fuel drop

        1 drop or less every 25 minutes

        If the injection volume is not as specified, replace the injector assembly.