lemon-mirror:
Home >> Toyota >> 2012 >> Prius Two >> Repair and Diagnosis >> Engine Performance >> System >> Engine Control System (Except Plug-In) (Service Information) >> Camshaft Oil Control Valve >> Inspection >> Inspection

Camshaft Oil Control Valve: Inspection: Inspection

  1. INSPECT CAMSHAFT TIMING OIL CONTROL VALVE ASSEMBLY 
    1. Measure the resistance according to the value(s) in the table below.
      Fig 1: Inspecting Camshaft Timing Oil Control Valve Assembly
      GTY194732Courtesy of © TOYOTA, LICENSE AGREEMENT TMS1002

      Standard Resistance

      Tester Connection Condition Specified Condition
      1 - 2 20°C (68°F) 6.9 to 7.9 Ω

      If the result is not as specified, replace the oil control valve assembly.

    2. Check the operation.
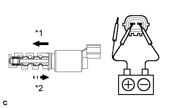
      1. Connect a positive (+) battery lead to terminal 1 and a negative (-) lead to terminal 2, and check the movement of the valve.
        Fig 2: Identifying Movement Of Valve When Applied & When Not Applied
        GTY213847Courtesy of © TOYOTA, LICENSE AGREEMENT TMS1002
        TEXT IN ILLUSTRATION

        *1 When Applied
        *2 When Cut Off
        NOTE:

        Confirm that the valve moves freely and does not stick in any position.

        If necessary, replace the camshaft timing oil control valve assembly.

        HINT: 

        Accumulation of foreign matter can cause minor pressure leaks. Minor pressure leaks will cause the camshaft to advance or retard, and this will cause a DTC to be set.