lemon-mirror:
Home >> Volkswagen >> 1998 >> Jetta TDI, Automatic >> Repair and Diagnosis >> Engine Performance >> Vacuum Diagrams >> Introduction >> PASSAT >> Notes

Vacuum Diagrams: Introduction: PASSAT: Notes

Fig 1: Vacuum Diagram EVAP System (1.8L Turbo)
G98A11403Courtesy of VOLKSWAGEN UNITED STATES, INC.
Fig 2: Vacuum Diagram Secondary Air Injection System (1.8L Turbo)
G00318459Courtesy of VOLKSWAGEN UNITED STATES, INC.
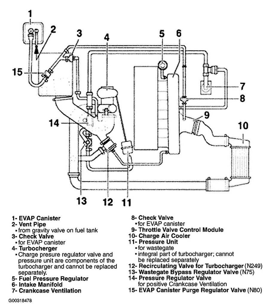
Fig 3: Vacuum Diagram Turbo System (1.8L Turbo)
G00318478Courtesy of VOLKSWAGEN UNITED STATES, INC.
Fig 4: Vacuum Diagram Connections, Upper View (2.8L V6)
G00318485Courtesy of VOLKSWAGEN UNITED STATES, INC.
Fig 5: Vacuum Diagram Connections, Rear View (2.8L V6)
G00318486Courtesy of VOLKSWAGEN UNITED STATES, INC.
Fig 6: Vacuum Diagram EVAP System (2.8L V6)
G98F11408Courtesy of VOLKSWAGEN UNITED STATES, INC.
Fig 7: Vacuum Diagram Intake Manifold Change-Over System (2.8L V6)
G00318487Courtesy of VOLKSWAGEN UNITED STATES, INC.
Fig 8: Vacuum Diagram Secondary Air Injection System (2.8L V6)
G99F50836Courtesy of VOLKSWAGEN UNITED STATES, INC.