lemon-mirror:
Home >> Volvo >> 1983 >> 760 Base >> Repair and Diagnosis >> Engine Performance >> Ignition System >> Ignition System - Electronic >> Description

Ignition System - Electronic: Description

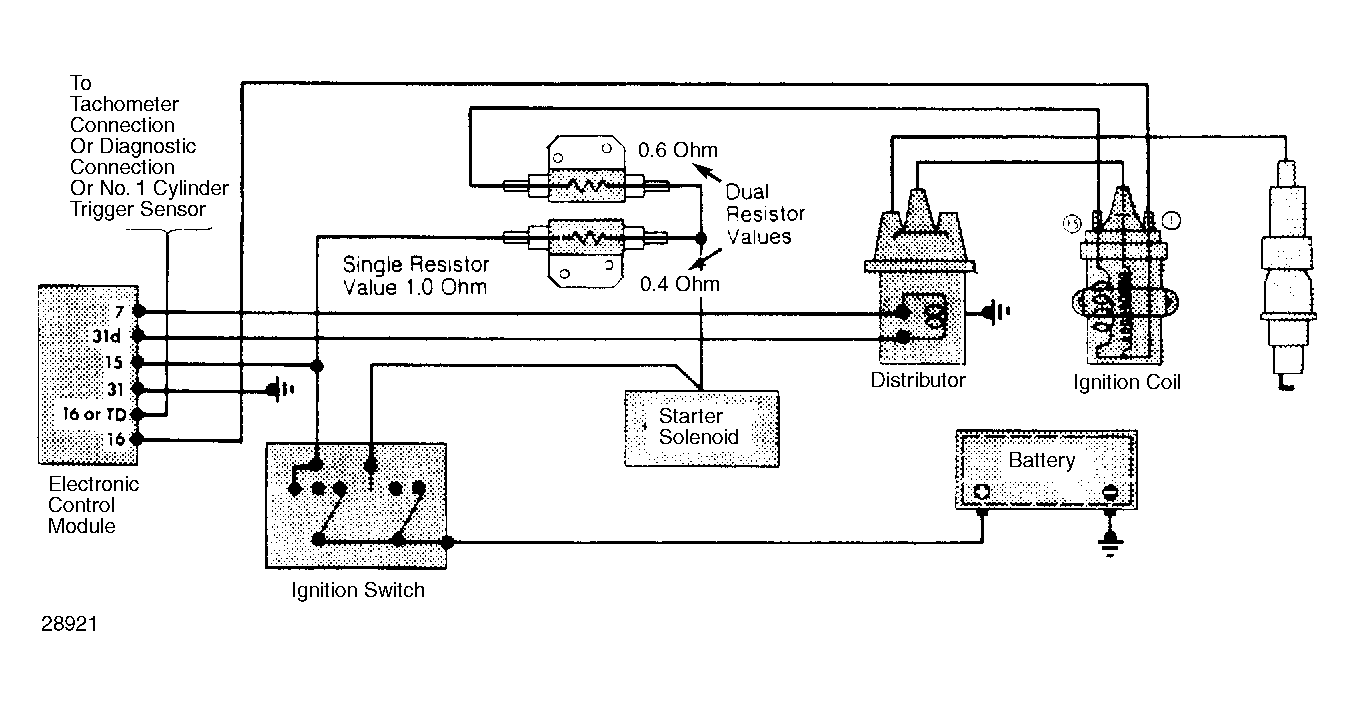
The Bosch electronic ignition system consists of a control module, a breakerless distributor, a single or dual resistor, a high output ignition coil, an ignition switch, and battery.

Some models may use a resistor wire rather than resistors, See Figure . Standard centrifugal and vacuum advance/retard mechanisms are used.

The distributor contains a rotating trigger wheel and a stationary magnetic pick-up coil (unless it is repositioned by vacuum diaphragm).