lemon-mirror:
Home >> Volvo >> 1990 >> 760 GLE, AW71 >> Repair and Diagnosis >> Engine Performance >> System >> Engine Controls - Basic Testing >> Ignition System >> Ignition Check (BOSCH EZ115K B280F Engine)

Ignition Check (BOSCH EZ115K B280F Engine)

NOTE: ECU terminal identifications are marked on the unit or connector.
  1. Ensure ground connections from ignition ECU and power stage to inlet manifold ground are okay. If ground connections are good, disconnect spark plug wire from spark plug. Attach a test spark plug to the disconnected spark plug wire and ground spark plug. Crank engine and monitor spark.
  2. A strong Blue-White spark indicates an engine or fuel system malfunction. If no spark or a weak spark is present, reconnect spark plug wire to spark plug. Disconnect coil wire from distributor cap and install test spark plug. Crank engine and monitor spark. If no spark or weak spark is present, the coil or ignition system primary circuit is defective.
  3. If a strong Blue-White spark is present, check ignition rotor, distributor housing and spark plug wires. Replace components as necessary. If all the previous steps show no defective components, go to next step.
  4. Remove air cleaner assembly. Ensure ignition is off and disconnect power stage connector. See Fig 1 . Remove connector dust cover. Connect multimeter negative (-) lead to ground and positive (+) lead to connector pin No. 4. Turn ignition on and note voltage reading. Voltage should be approximately 12 volts.
    Fig 1: Bosch Power Stage Location & Connector Identification
    G62485Courtesy of VOLVO CARS OF NORTH AMERICA.
  5. Leave multimeter connected and crank starter motor. Voltage should be approximately 10.5 volts. If voltage is too low, check battery and charging system. If voltage is not present, check Blue wire from ignition ECU to ignition coil and power stage. Repair or replace as necessary.
  6. Check continuity of power stage ground with multimeter connected to power stage connector pin No. 2 and ground. Continuity should be present. Check ignition coil resistance with multimeter connected to power stage connector pins No. 1 and No. 4. Resistance should be 0.6-1.0 ohm. If resistance is less than 0.6 ohm, check wires for short circuit.
  7. If wires are okay but resistance is still not 0.6-1.0 ohm, connect multimeter to ignition coil terminals No. 1 and No. 15. See Fig 2 . If resistance is not 0.6-1.0 ohm, install a new ignition coil. If resistance is 0.6-1.0 ohm, check continuity of wires between ignition coil and power stage connector pins No. 1 and No. 4. Repair or replace as necessary.
    Fig 2: Bosch Ignition Coil Terminal Identification
    G62486Courtesy of VOLVO CARS OF NORTH AMERICA.
  8. Check shield (ground) wire between ignition ECU and power stage. See Fig 1 . Shield wire should be connected to power stage connector pin No. 3. Repair if necessary. Ensure power stage is receiving signal from ignition ECU. Disconnect wires from ignition coil terminal No. 1. Connect multimeter positive (+) lead to stage connector pin No. 5 and negative (-) lead to ground.
  9. Crank starter motor and monitor voltage reading. Voltage should pulsate between 0 and 2 volts. If voltage is within specifications, install a new power stage and recheck circuit. If a very low voltage is present and/or is irregular, check wiring between ignition ECU and crankshaft position sensor. Repair or replace as necessary.
  10. Turn ignition off. Reconnect disconnected components. Ensure all connectors are secure and properly connected. With ignition off, remove panel from lower left dashboard and disconnect ignition ECU connector. Remove dust cover from connector. Ensure all pin connection sleeves are at the same height.
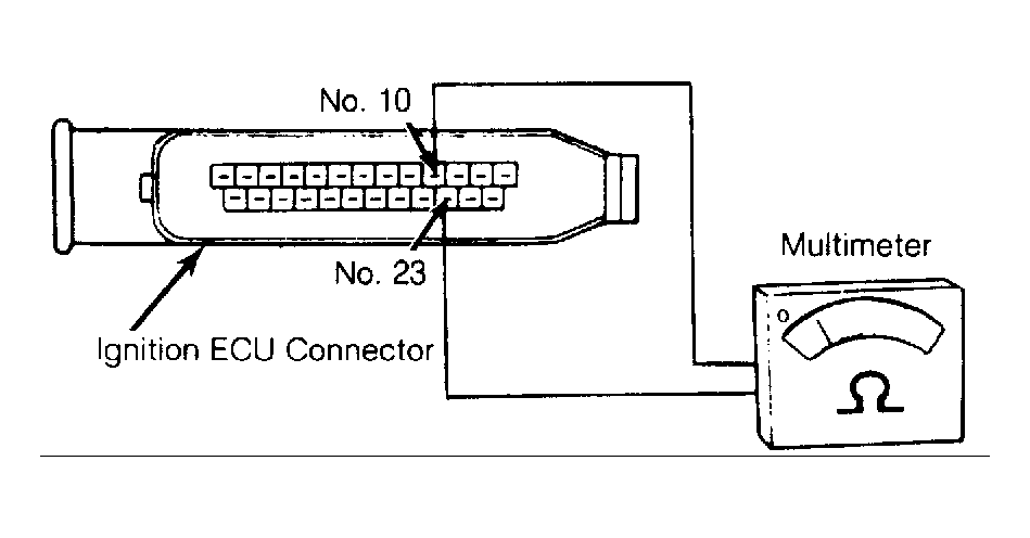
  11. Attach voltmeter positive (+) lead to ignition ECU connector terminal No. 6 and negative (-) lead to ground. Turn ignition on. Voltage should be approximately 12 volts. Check resistance of engine RPM position sensor by connecting ohmmeter leads to ignition ECU connector terminals No. 10 and No. 23. See Fig 3 . Resistance should be 500-600 ohms. Ensure shield (ground) wire is connected to ECU connector terminal No. 11.
    Fig 3: Checking RPM Position Sensor
    G62487Courtesy of VOLVO CARS OF NORTH AMERICA.
  12. Turn ignition off. If no defects are found after performing all of the previous steps, or if engine still malfunctions after repairs, install a new ignition ECU. Recheck system as necessary.