lemon-mirror:
Home >> Volvo >> 1990 >> 760 GLE, AW71 >> Repair and Diagnosis >> Engine Performance >> System >> Engine Controls - System/Component Tests >> Electronic Control Unit (Ignition) >> Power Circuit Checks

Power Circuit Checks

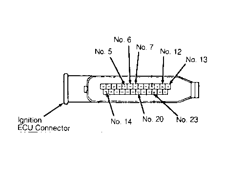
  1. On all models except 760 GLE, connect a voltmeter between ground and ECU connector pin No. 5 and then to pin No. 6. See Fig 1 .
    Fig 1: Identifying Electronic Control Unit Terminals (Ignition)
    G121548Courtesy of VOLVO CARS OF NORTH AMERICA.
  2. On 760 GLE, connect voltmeter to ECU connector pin No. 8 (Yellow wire) and ground.
  3. On all models, turn ignition switch to ON position. Voltmeter should read 11-12 volts (depending on battery voltage).
  4. On all models except 760 GLE, if voltage is not present, check wire from ECU connector to in-line fuse located on left shock tower.
  5. On all models, if no voltage or low voltage is indicated, check for an open between ignition ECU and fuel injection ECU, or there may be a problem with fuel injection ECU.


  1. Connect voltmeter leads between ECU connector pin No. 6 (Blue wire) and ground. See Figure . Turn ignition switch to ON position.
  2. Voltmeter should read 12 volts. If no voltage is indicated, check wiring. See appropriate wiring diagrams in WIRING DIAGRAMS article.