lemon-mirror:
Home >> Volvo >> 1994 >> 850 Base, 4D Sedan, Automatic >> Repair and Diagnosis >> Engine Performance >> System >> Engine Controls - System/Component Tests >> Computerized Engine Controls >> Electronic Control Unit - Ignition (940) >> Ground Circuit Checks

Ground Circuit Checks

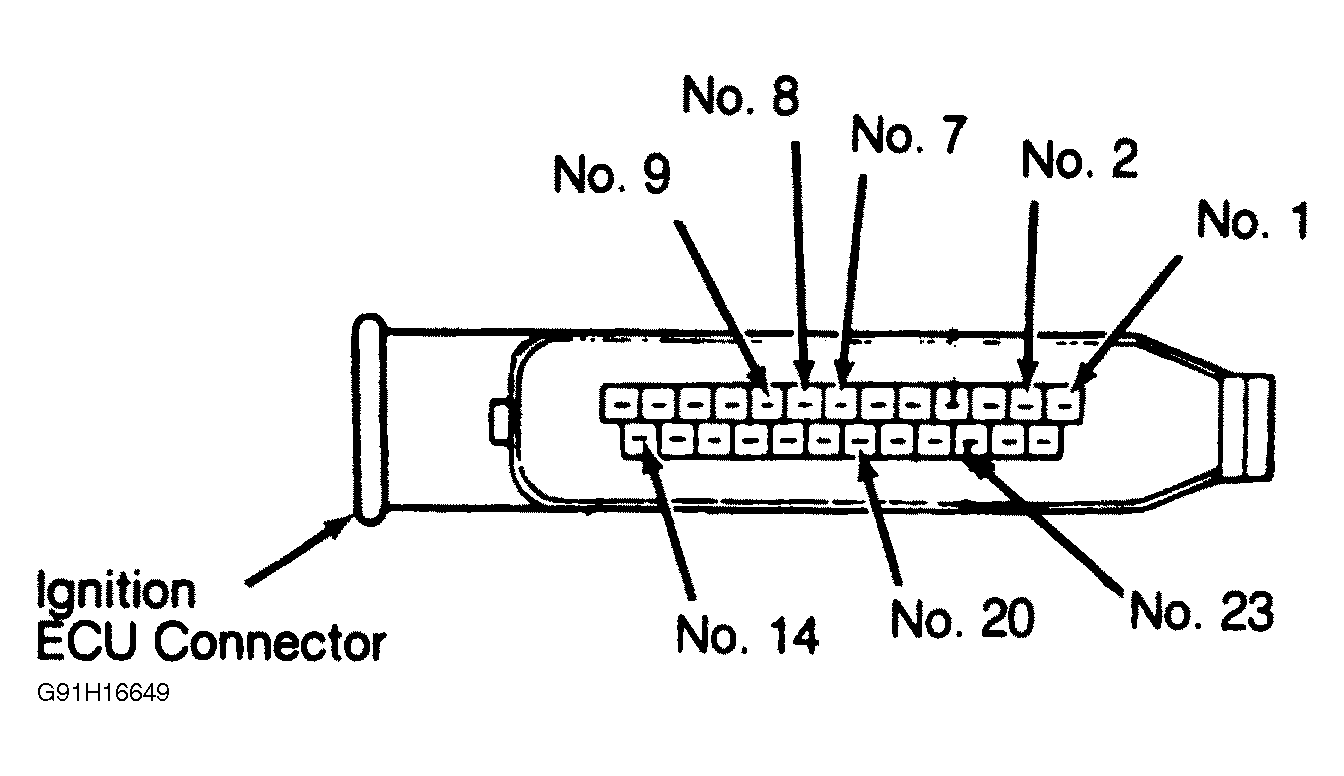
Turn ignition switch to OFF position. Connect ohmmeter between ground and electronic control unit terminals No. 14 and 20. See Fig 1 . Resistance should be zero ohms.

Fig 1: Identifying Electronic Control Unit Terminals (940 - Ignition)
G91H16649Courtesy of VOLVO CARS OF NORTH AMERICA.