lemon-mirror:
Home >> Volvo >> 2000 >> S70 AWD >> Repair and Diagnosis >> Engine Performance >> System >> Engine Controls - Self-Diagnostics - Turbo >> Connector Identification

Connector Identification

Fig 1: Identifying Accelerator Pedal Position Sensor Connector
G00223288Courtesy of VOLVO CARS OF NORTH AMERICA.
Fig 2: Identifying A/C Pressure Sensor Connector
G00204091Courtesy of VOLVO CARS OF NORTH AMERICA.
Fig 3: Identifying A/C Relay Pin Layout Connector
G00204090Courtesy of VOLVO CARS OF NORTH AMERICA.
Fig 4: Identifying Brake Pedal Position Sensor & Turbocharger Control Valve Connector
G00204122Courtesy of VOLVO CARS OF NORTH AMERICA.
Fig 5: Identifying Camshaft Position Sensor Connector
G00208985Courtesy of VOLVO CARS OF NORTH AMERICA.
Fig 6: Identifying Clutch Pedal Position Sensor Connector
G00223256Courtesy of VOLVO CARS OF NORTH AMERICA.
Fig 7: Identifying Cooling Fan Relay Connector
G00204094Courtesy of VOLVO CARS OF NORTH AMERICA.
Fig 8: Identifying Cruise Control Lever Connector
G00223257Courtesy of VOLVO CARS OF NORTH AMERICA.
Fig 9: Identifying EVAP Canister Shut-Off Valve Connector
G00209033Courtesy of VOLVO CARS OF NORTH AMERICA.
Fig 10: Identifying EVAP Canister Purge Valve & Fuel Injector Connector
G00209021Courtesy of VOLVO CARS OF NORTH AMERICA.
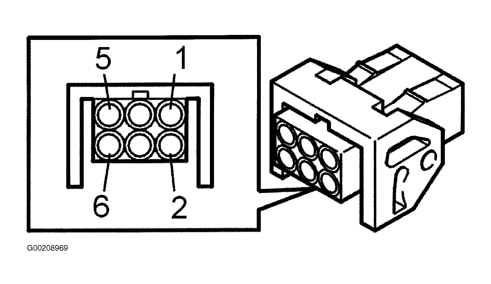
Fig 11: Identifying Front Heated Oxygen Sensor Connector
G00208969Courtesy of VOLVO CARS OF NORTH AMERICA.
Fig 12: Identifying Fuel Tank Pressure Sensor Connector
G00223289Courtesy of VOLVO CARS OF NORTH AMERICA.
Fig 13: Identifying Ignition Coil Connector
G00209001Courtesy of VOLVO CARS OF NORTH AMERICA.
Fig 14: Identifying Intake Air Temperature Sensor Connector
G00209012Courtesy of VOLVO CARS OF NORTH AMERICA.
Fig 15: Identifying Knock Sensor Connector
G00209005Courtesy of VOLVO CARS OF NORTH AMERICA.
Fig 16: Mass Air Flow Sensor Connector Pin Assignment
G00209016Courtesy of VOLVO CARS OF NORTH AMERICA.
Fig 17: Identifying Rear Heated Oxygen Sensor Connector
G00208977Courtesy of VOLVO CARS OF NORTH AMERICA.
Fig 18: Identifying RPM Sensor & Camshaft Reset Valve Connector
G00208989Courtesy of VOLVO CARS OF NORTH AMERICA.