lemon-mirror:
Home >> Volvo >> 2000 >> S80 Base >> Repair and Diagnosis >> Engine Mechanical >> Mechanical >> Threads - Overhaul Instructions >> Threads (1999-2006) >> Threads >> Designation of thread insert

Designation of thread insert

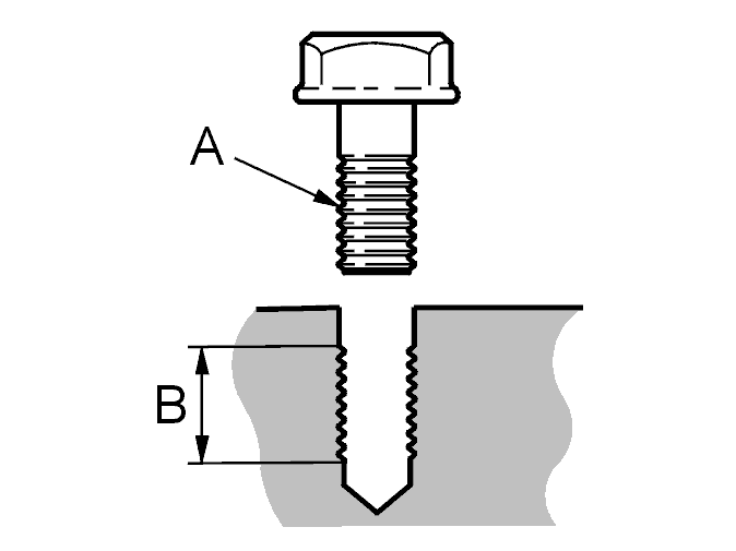
Fig 1: Measuring Old Threads And Thread Length In Hole
GLL100836Courtesy of VOLVO CARS OF NORTH AMERICA.

Measure the old threads and thread length in the hole.

A:  Thread.

B:  Thread length.