lemon-mirror:
Home >> Volvo >> 2002 >> V70 XC >> Repair and Diagnosis >> Engine Performance >> Engine Control Systems >> Alarm System, Control Modules, Engine Management Systems - Design And Function >> Battery (All) >> Design and function >> Charging

Design and function: Charging

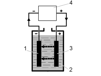
Fig 1: Charging Process Diagram
GLL102564Courtesy of VOLVO CARS OF NORTH AMERICA.

The process during charging 

  1. Negative plate: Lead sulphate is converted to pure lead
  2. Electrolyte: Water is converted to sulphuric acid
  3. Positive plate: Lead sulphate is converted to lead oxide
  4. The power supply from the generator or the external battery charger.

During charging, energy is supplied to the battery. This causes an electro-chemical process that is the reverse of the process during discharge. The lead sulphate (PbSO4 ) in the negative plate is converted back to pure porous lead (Pb) and the lead sulphate (PbSO4 ) in the positive plate is converted to lead dioxide (PbO2 ).

Water (H2 O) is consumed during the charging process. Sulphuric acid (H2 SO4 ) is formed. The density of the electrolyte increase as the amount of sulphuric acid increases.

CAUTION:

For charging AGM-batteries, use only chargers that are both current and voltage-controlled. AGM-batteries are sensitive to overcharging and must be charged with an adapted charger. This since a battery that is charged with too high voltage/current does not absorb all the energy and the excess is converted to heat. When the battery becomes too warm the electrolyte evaporates (acid). When the pressure in the battery becomes too high, the gas is released through the battery box safety valve. When the water volume decreases the acid concentrates to an unacceptable high level, which may destroy the battery

AGM-batteries may be charged with a max. voltage/current as follows.

Battery capacity (Ah) Max. current (A) * Max. voltage (V) Max. charging time (h) **
100 Ah 25 A 14,4 V 5-24 h
90 Ah 22,5 A 14,4 V 5-24 h
80 Ah 20 A 14,4 V 5-24 h
70 Ah 17,5 A 14,4 V 5-24 h
60 Ah 15 A 14,4 V 5-24 h
50 Ah 12,5 A 14,4 V 5-24 h
40 Ah 10 A 14,4 V 5-24 h
30 Ah 7,5 A 14,4 V 5-24 h
20 Ah 5 A 14,4 V 5-24 h
10 Ah 2,5 A 14,4 V 5-24 h
5 Ah 1,25 A 14,4 V 5-24 h

* Max. current is calculated with the following formula (Battery capacity Ah/20)*5. For example, for a battery with capacity 70 Ah: (70/20)*5= 17.5 A.

** Charging time depends on how discharged the battery is, however, max. 24 h.