lemon-mirror:
Home >> Volvo >> 2009 >> XC70 Base >> Repair and Diagnosis >> Engine Performance >> Engine Control Systems >> Electrical Modules And Components - Design And Function - 5 Of 5 >> Television Module (TVM) (2012) >> System Overview >> Signals

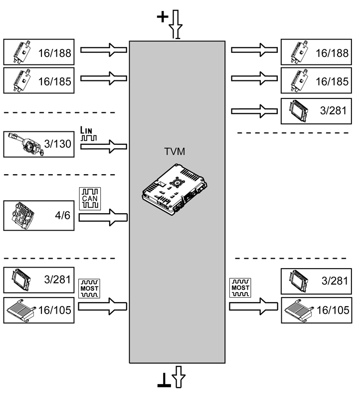
System Overview: Signals

The table below summarizes the input signals to and output signals from the Television Module (TVM). The signal types are divided into directly connected signals, MOST- and CAN-communication. Fig 1 displays the same information with the Volvo component designations.

Input signals Output signals
Directly connected:  Directly connected: 
  • Antenna booster 4 television (16/188)
  • Antenna booster 1 television (16/185)
  • Phantom-feed antenna booster 4 television (16/188)
  • Phantom-feed antenna booster 1 television (16/185)
  • Infotainment control module (ICM) (3/281) Composite video signal (CVBS)
Via LIN communication:  Via LIN communication: 
  • Steering Wheel Module (SWM) (3/130)
 
Via Controller Area Network (CAN) communication:  Via Controller Area Network (CAN) communication: 
  • Climate control module (CCM) (4/6)
 
Via MOST communication:  Via MOST communication: 
  • Infotainment Control Module (ICM) (3/281)
  • Audio module (AUD) (16/105)
  • Infotainment Control Module (ICM) (3/281)
  • Audio module (AUD) (16/105)
Fig 1: Identifying Television Module (TVM) Signal Types
GLL172742Courtesy of VOLVO CARS CORPORATION